TOP
|
特許
|
意匠
|
商標
特許ウォッチ
Twitter
他の特許を見る
公開番号
2025169534
公報種別
公開特許公報(A)
公開日
2025-11-14
出願番号
2024074291
出願日
2024-05-01
発明の名称
キャップ付きボトル
出願人
サンスター株式会社
代理人
弁理士法人柳野国際特許事務所
主分類
B65D
1/02 20060101AFI20251107BHJP(運搬;包装;貯蔵;薄板状または線条材料の取扱い)
要約
【課題】大容量薄型のキャップ付きのボトルにおいて、ユーザが手で持ち上げる際に手の力で胴部が大きく凹んで内容物が口部から飛び出てしまうといった事態を防止でき、また、握力の弱い女性や高齢者等であっても安定保持しやすく、大容量でも持ち易く、使いやすいボトルを提供せんとする。
【解決手段】大容量、薄型のキャップ付きタイプのボトルであって、胴部4の前面41および後面42にそれぞれ、横断面視が山形に外方へ突出した形で、縦方向に連続して延びる左右一対の凸条部61を設けた。
【選択図】図1
特許請求の範囲
【請求項1】
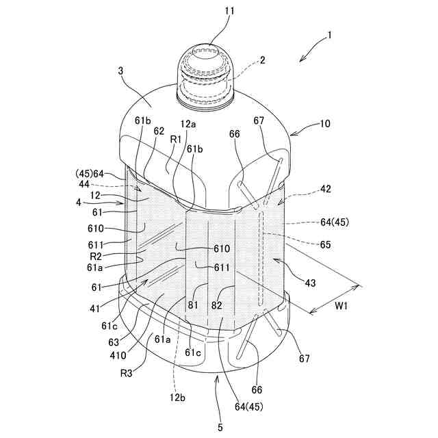
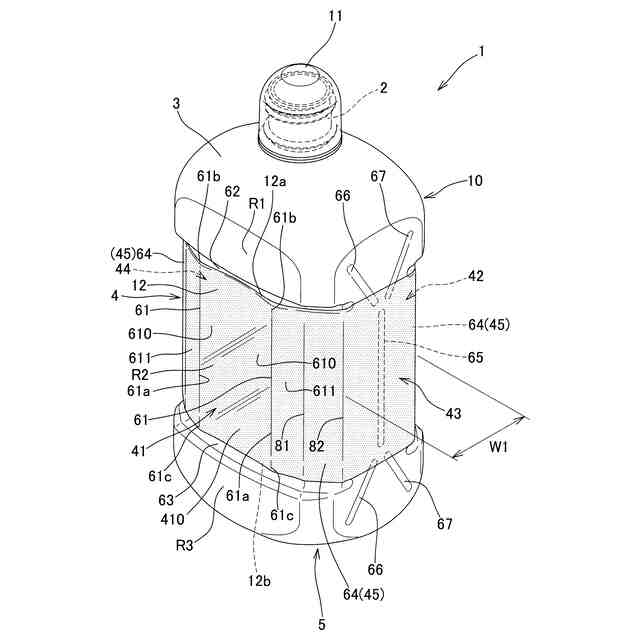
内部容量が700ml以上であり、上部の口部のキャップを外し胴部を持って容器を傾けることにより口部から内容物を注出できる合成樹脂製のキャップ付きボトルであって、
胴部最低肉厚が0.35mm以下の薄型に構成され、
胴部の前面および後面にそれぞれ、横断面視が山形に外方へ突出した形で、縦方向に連続して延びる左右一対の凸条部が設けられている、
キャップ付きボトル。
続きを表示(約 660 文字)
【請求項2】
前記左右一対の凸条部の各頂部の間に、断面視がなだらかな弓形に内方へ突出した形で縦方向に延びる凹面が形成されている、
請求項1記載のキャップ付きボトル。
【請求項3】
前記凹面の深さが、2.5mm以下である、
請求項2記載のキャップ付きボトル。
【請求項4】
前記胴部の前面および後面のそれぞれの、肩部寄りの上側位置、および底部寄りの下側位置に、各々横方向にさらに延びて左右両側面に至る上下一対の凹溝部が設けられ、
前記凸条部は、その上下端部が各々上下の前記凹溝部に臨むように設けられている、
請求項1記載のキャップ付きボトル。
【請求項5】
前記凹溝部の内方へ突出する深さが、2mm以上である、
請求項4記載のキャップ付きボトル。
【請求項6】
各前記凸条部の左右外側のボトル角部に、側面に至る傾斜したC面部が形成されており、
前記側面の前後の前記C面部の間の幅が、35~55mmである、
請求項1記載のキャップ付きボトル。
【請求項7】
前記胴部の前記凸条部を有する高さ領域に、シュリンクラベルが被着されている、
請求項1記載のキャップ付きボトル。
【請求項8】
前記シュリンクラベルが、ポリスチレン(PS)樹脂、またはポリスチレン(PS)樹脂とポリエチレンテレフタレート(PET)樹脂の混合樹脂よりなる、請求項7記載のキャップ付きボトル。
発明の詳細な説明
【技術分野】
【0001】
本発明は、内部容量が700ml以上であり、上部の口部のキャップを外し胴部を持って容器を傾けることにより口部から内容物を注出できる合成樹脂製の大容量キャップ付きボトルに関するものである。
続きを表示(約 1,700 文字)
【背景技術】
【0002】
従来、この種のボトルとしては、たとえば特許文献1のように使用後にユーザが圧壊できるようにボトルの折り畳みの案内となる深さ1~1.5mm程の凹溝部を左右側面の上下にY字状に設けたり、前後面の上下に横方向に設けたものが提案されている(特許文献1参照)。このようなボトルは、胴部の最低肉厚が0.35mm以下の薄型であるため、凹溝部を案内線としてユーザが使用後のボトルを容易に折り畳み、圧壊でき、かつボトル自体の重さを抑え、材料コストも抑えることができる。
【0003】
しかしながら、このような大容量で通常より重いキャップ付きのボトルにおいて、薄型に構成すると、ポンプ式とは異なり、ユーザが手で持ち上げて注ぐ際に手の力で胴部が大きく凹み、内容物が口部から勢いよく飛び出てしまうといった課題がある。また、ボトル自体の重さを抑えることができても、内容量が多いために全体としては通常より重くなることが避けられず、とくに握力の小さい女性や高齢者等にとって、このような大容量で重いボトルは持ちにくく、使いにくいという問題もある。
【0004】
同じく薄型で大容量のキャップ付きボトルにおいて、胴部の強度を向上させたものとして、胴部を周回する方向に延びる凹条/凸条のリブを複数本設けたものも提案されている(例えば、特許文献2、3等参照。)。しかし、このようなリブを設けたボトルは、胴部の全周にわたり凹凸面が形成されるため、印刷やシュリンクラベルにより内容物や製造者の情報、ロゴマーク等の表示を行う際、表示面に凹凸が出て、見にくくなるという問題があった。胴部は当該表示面として最も重要な部位である。
【0005】
また、シュリンクラベルを凹凸面に貼る場合は、特に凹条の内面に沿ってシュリンクラベルが伸びてしまい、ラベルに皺が寄って表示が歪んでしまったり、伸びて薄くなる分、弱くなり且つこのような凹条はユーザの指先から力を受けやすい部位でもあることから、当該部位からラベルが破断する虞もある。
【0006】
更に、シュリンクラベルの材料には主にポリエチレンテレフタレート(PET)樹脂とポリスチレン(PS)樹脂の2種類が知られており、PET樹脂製のものは比較的強度に優れ、PS樹脂製のものは比較的皺になりにくく見栄えが良いという特徴があるが、大容量の薄型のボトルには、上記のとおり大きく凹んだり、指先の力を受ける構造が多いため、事実上PET樹脂のものが多く、PS樹脂製にすることができないという課題もあった。
【先行技術文献】
【特許文献】
【0007】
意匠登録第1464710号公報
特開2018-8752号公報
特開2011-235948号公報
【発明の概要】
【発明が解決しようとする課題】
【0008】
そこで、本発明が前述の状況に鑑み、解決しようとするところは、大容量薄型のキャップ付きのボトルにおいて、ユーザが手で持ち上げる際に手の力で胴部が大きく凹んで内容物が口部から飛び出てしまうといった事態を防止でき、また、握力の弱い女性や高齢者等であっても安定保持しやすく、大容量でも持ち易く、使いやすく、またPS樹脂製のシュリンクラベルも使用しやすい、ボトルを提供する点にある。
【課題を解決するための手段】
【0009】
本発明は、以下の発明を包含する。
(1) 内部容量が700ml以上であり、上部の口部のキャップを外し胴部を持って容器を傾けることにより口部から内容物を注出できる合成樹脂製のキャップ付きボトルであって、胴部最低肉厚が0.35mm以下の薄型に構成され、胴部の前面および後面にそれぞれ、横断面視が山形に外方へ突出した形で、縦方向に連続して延びる左右一対の凸条部が設けられているキャップ付きボトル。
【0010】
(2) 前記左右一対の凸条部の各頂部の間に、断面視がなだらかな弓形に内方へ突出した形で縦方向に延びる凹面が形成されている(1)記載のキャップ付きボトル。
(【0011】以降は省略されています)
この特許をJ-PlatPat(特許庁公式サイト)で参照する
関連特許
個人
束ね具
28日前
個人
収容箱
4か月前
個人
コンベア
6か月前
個人
段ボール箱
8か月前
個人
段ボール箱
8か月前
個人
ゴミ収集器
8か月前
個人
楽ちんハンド
6か月前
個人
バンド
3か月前
個人
テープ引出機
28日前
個人
土嚢運搬器具
9か月前
個人
宅配システム
8か月前
個人
角筒状構造体
7か月前
個人
廃棄物収容容器
4か月前
個人
包装容器
2か月前
個人
コード類収納具
9か月前
個人
棒状体収容容器
1か月前
個人
お薬の締結装置
7か月前
株式会社コロナ
梱包材
7か月前
個人
把手付米袋
6か月前
個人
蓋閉止構造
5か月前
個人
蓋閉止構造
5か月前
株式会社和気
包装用箱
10か月前
個人
積み重ね用補助具
4か月前
株式会社バンダイ
物品
2か月前
個人
貯蔵サイロ
8か月前
株式会社和気
包装用箱
1か月前
株式会社新弘
容器
4か月前
三甲株式会社
容器
1か月前
個人
袋入り即席麺
8か月前
株式会社ナベル
検査装置
1か月前
個人
介護用コップ
3か月前
個人
搬送システム
8か月前
株式会社KY7
封止装置
4か月前
個人
コード折り畳み器具
5か月前
株式会社イシダ
搬送装置
7か月前
個人
輸送積荷用動吸振器
7か月前
続きを見る
他の特許を見る