TOP
|
特許
|
意匠
|
商標
特許ウォッチ
Twitter
他の特許を見る
10個以上の画像は省略されています。
公開番号
2025169480
公報種別
公開特許公報(A)
公開日
2025-11-14
出願番号
2024074156
出願日
2024-05-01
発明の名称
光学式情報読取端末およびデータ集計システム
出願人
株式会社キーエンス
代理人
弁理士法人森本国際特許事務所
主分類
G06Q
10/08 20240101AFI20251107BHJP(計算;計数)
要約
【課題】光学式情報読取端末を用いて行われた作業に関する情報を調べることが容易となる光学式情報読取端末およびデータ集計システムを提供する。
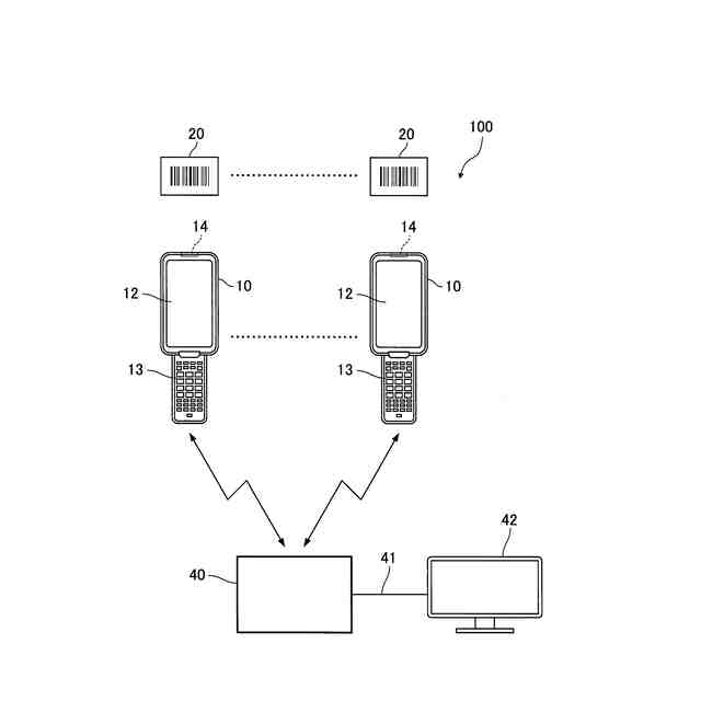
【解決手段】光学式情報読取端末10は、撮像部14と、読取部31と、作業選択アプリケーション36aと識別情報39とを記憶する記憶部18と、表示情報を表示する表示部12と、制御部15と、通信部19とを備える。撮像部14は、シンボルを撮像して入力画像を生成する。読取部31は、入力画像に基づいてシンボル情報を読み取る。作業選択アプリケーション36aは、作業者に実行作業項目を選択させる。識別情報39は、光学式情報読取端末または作業者を識別する。通信部19は、外部の情報処理装置と通信する。制御部15は、シンボル情報と実行作業項目とが識別情報39に関連付けられた端末データを、通信部19を介して送信する。
を備える。
【選択図】図2
特許請求の範囲
【請求項1】
読取対象となるシンボルを撮像して、前記シンボルの表すシンボル情報を読み取る光学式情報読取端末であって、
前記シンボルを撮像して入力画像を生成する撮像部と、
前記入力画像に基づいて前記シンボル情報を読み取る読取部と、
前記読取部により読み取った前記シンボル情報を用いた作業を実行する作業者が複数の作業項目のうち実行する実行作業項目を選択するための作業選択アプリケーションと、前記光学式情報読取端末または前記作業者を識別する識別情報と、を記憶する記憶部と、
前記実行作業項目を選択するための前記作業選択アプリケーションの画面を含む表示情報を表示する表示部と、
外部の情報処理装置と通信する通信部と、
前記読取部が読み取った前記シンボル情報と、前記作業選択アプリケーションを介して選択された前記実行作業項目とが、前記光学式情報読取端末自体に関する前記識別情報に関連付けられた端末データを、前記情報処理装置へ前記通信部を介して送信する制御部と、
を備える光学式情報読取端末。
続きを表示(約 1,500 文字)
【請求項2】
前記記憶部は、前記光学式情報読取端末の利用を特定の作業者に制限するための認証アプリケーションをさらに記憶し、
前記制御部は、前記認証アプリケーションによって認証された前記作業者に対して前記光学式情報読取端末の利用制限を解除し、さらに、前記端末データにおいて関連付けが行われる前記識別情報に、認証された前記作業者に関する前記識別情報を含める、請求項1に記載の光学式情報読取端末。
【請求項3】
前記作業選択アプリケーションは、前記作業項目の選択と共に、選択された前記作業項目に関連する荷主情報の登録をさらに受け付け、
前記制御部は、登録された前記荷主情報をさらに関連付けた前記端末データを前記情報処理装置へ送信する、請求項1に記載の光学式情報読取端末。
【請求項4】
時刻情報を生成する計時部をさらに備え、
前記制御部は、前記読取部によって前記シンボル情報の読み取りが行われた際の前記時刻情報をさらに関連付けた前記端末データを前記情報処理装置へ送信する、請求項1に記載の光学式情報読取端末。
【請求項5】
前記作業者の移動に関する歩数データを算出する歩数算出部をさらに備え、
前記制御部は、前記実行作業項目および前記識別情報に前記歩数データをさらに関連付けた前記端末データを前記情報処理装置へ送信する、請求項1に記載の光学式情報読取端末。
【請求項6】
請求項1に記載の1つ以上の光学式情報読取端末と、
前記光学式情報読取端末と通信する情報処理装置と、
前記情報処理装置から受信した信号に基づく表示を行う表示装置と、
を備えるデータ集計システムであって、
前記情報処理装置は、
1つ以上の前記光学式情報読取端末から前記端末データを受信する第2通信部と、
前記端末データに基づいて、前記作業者が行った作業に関する集計結果を生成する集計処理部と、
前記集計結果を前記表示装置に表示させる表示処理部と、
を備える
データ集計システム。
【請求項7】
前記情報処理装置は、複数の集計テンプレートを記憶する第2記憶部をさらに備え、
複数の前記集計テンプレートのそれぞれに対して、予め定められた集計基準が対応付けられており、前記集計テンプレートは、前記集計結果を前記表示装置に表示させる際の表示様式を、前記集計基準に基づいて指定し、
前記端末データに基づいて前記集計処理部が生成した前記集計結果を、複数の前記集計テンプレートから選択された前記集計テンプレートの指定に従って前記表示装置に表示させる、請求項6に記載のデータ集計システム。
【請求項8】
前記情報処理装置は、アプリケーション作成部をさらに備え、
前記アプリケーション作成部は、複数の前記作業項目に関する情報の入力を受け付けることにより、前記作業選択アプリケーションを生成し、
前記情報処理装置は、前記アプリケーション作成部が生成した前記作業選択アプリケーションを、前記第2通信部を介して前記光学式情報読取端末に送信し、
前記集計処理部は、前記作業選択アプリケーションで選択された前記実行作業項目、前記読取部によって読み取られた前記シンボル情報、前記読取部による読み取り回数、前記光学式情報読取端末自体に関する前記識別情報の少なくともいずれか1つを集計の基準として前記集計結果を生成する、請求項6に記載のデータ集計システム。
発明の詳細な説明
【技術分野】
【0001】
本発明は、光学式情報読取端末およびデータ集計システムに関する。
続きを表示(約 1,700 文字)
【背景技術】
【0002】
特許文献1に、光学式情報読取装置および光学式情報読取方法が開示されている。特許文献1に記載の光学式情報読取装置は、読取対象となるシンボルを撮像し、そのシンボルの情報を読み取って読取データを出力する。
【先行技術文献】
【特許文献】
【0003】
特開2022-055006号公報
【発明の概要】
【発明が解決しようとする課題】
【0004】
こうした光学式情報読取装置が用いられる施設(例えば物流倉庫など)においては、施設内で複数人の作業者が作業を行っていることが多い。そして、光学式情報読取装置も複数台が用意されており、別々の作業者がそれぞれ別々の光学式情報読取装置を用いて作業を行う。
【0005】
作業者が行う作業には複数の種類(例えば出庫作業、入庫作業など)があり、同一の作業者が時間帯によって異なる種類の作業を行うことがある。また同一の光学式情報読取装置を時間帯によって別々の作業者が用いることもあれば、同一の作業者が時間帯によって別々の光学式情報読取装置を用いることもある。
【0006】
しかしながら、従来の光学式情報読取装置では、撮像されたシンボルの情報を読み取って読取データを出力するに過ぎず、作業者が実行する作業の種類(項目)に関する情報や、光学式情報読取装置ごとの固有情報、あるいはその装置を使用している作業者に関する情報など、シンボルの情報と直接関係しない情報が出力されることはなかった。
【0007】
したがって、従来の光学式情報読取装置が用いられる施設においては、作業者が実行していた作業の種類、光学式情報読取装置の固有情報、作業者に関する情報など、シンボルの情報と直接関係しない情報を、出力された読取データから調べることが困難であった。
【0008】
上記の問題点に鑑み、本発明は、光学式情報読取端末から出力されるデータに基づいて、光学式情報読取端末を用いて行われた作業に関する情報を調べることが容易となる光学式情報読取端末およびデータ集計システムを提供することを課題とする。
【課題を解決するための手段】
【0009】
本発明の一局面によれば、光学式情報読取端末は読取対象となるシンボルを撮像して、前記シンボルの表すシンボル情報を読み取る光学式情報読取端末であって、撮像部と、読取部と、記憶部と、表示部と、通信部と、制御部とを備える。撮像部は、シンボルを撮像して入力画像を生成する。読取部は、入力画像に基づいてシンボル情報を読み取る。記憶部は、読取部により読み取ったシンボル情報を用いた作業を実行する作業者が複数の作業項目のうち実行する実行作業項目を選択するための作業選択アプリケーションと、光学式情報読取端末または作業者を識別する識別情報と、を記憶する。表示部は、実行作業項目を選択するための作業選択アプリケーションの画面を含む表示情報を表示する。通信部は、外部の情報処理装置と通信する。制御部は、読取部が読み取ったシンボル情報と、作業選択アプリケーションを介して選択された実行作業項目とが、光学式情報読取端末自体に関する識別情報に関連付けられた端末データを、情報処理装置へ通信部を介して送信する。
【0010】
また、本発明のもう一つの局面によれば、データ集計システムは、1つ以上の前述の光学式情報読取端末と、情報処理装置と、表示装置とを備える。情報処理装置は、光学式情報読取端末と通信する。表示装置は、情報処理装置から受信した信号に基づく表示を行う。そして、情報処理装置は、1つ以上の光学式情報読取端末から端末データを受信する第2通信部と、端末データに基づいて、作業者が行った作業に関する集計結果を生成する集計処理部と、集計結果を前記表示装置に表示させる表示処理部と、を備える。
【発明の効果】
(【0011】以降は省略されています)
この特許をJ-PlatPat(特許庁公式サイト)で参照する
関連特許
株式会社キーエンス
画像検査装置
1か月前
株式会社キーエンス
光学式変位計
1か月前
株式会社キーエンス
光学式情報読取装置
1日前
株式会社キーエンス
光学式情報読取装置
15日前
株式会社キーエンス
光学式情報読取装置
15日前
株式会社キーエンス
光学式情報読取装置
15日前
株式会社キーエンス
光学式変位計測システム
1か月前
株式会社キーエンス
光学式情報読取端末およびデータ集計システム
15日前
株式会社キーエンス
スタンド、測定装置用固定部材および測定システム
1か月前
株式会社キーエンス
分析装置
1か月前
株式会社キーエンス
レベル計、レベル計システム、およびレベル計システム用通信アダプタ
1日前
株式会社キーエンス
拡大観察装置、拡大画像観察方法、拡大画像観察プログラム及びコンピュータで読み取り可能な記録媒体並びに記憶した機器
3日前
個人
詐欺保険
1か月前
個人
縁伊達ポイン
1か月前
個人
RFタグシート
1か月前
個人
5掛けポイント
22日前
個人
職業自動販売機
15日前
個人
QRコードの彩色
1か月前
個人
ペルソナ認証方式
1か月前
個人
地球保全システム
1か月前
個人
自動調理装置
1か月前
個人
情報処理装置
25日前
個人
為替ポイント伊達夢貯
2か月前
個人
冷凍食品輸出支援構造
2か月前
個人
表変換編集支援システム
2か月前
個人
農作物用途分配システム
1か月前
個人
残土処理システム
1か月前
個人
サービス情報提供システム
17日前
個人
知財出願支援AIシステム
2か月前
個人
知的財産出願支援システム
1か月前
個人
インターネットの利用構造
29日前
個人
タッチパネル操作指代替具
1か月前
個人
AIによる情報の売買の仲介
2か月前
個人
パスワード管理支援システム
2か月前
個人
スケジュール調整プログラム
1か月前
個人
行動時間管理システム
2か月前
続きを見る
他の特許を見る