TOP
|
特許
|
意匠
|
商標
特許ウォッチ
Twitter
他の特許を見る
10個以上の画像は省略されています。
公開番号
2025169124
公報種別
公開特許公報(A)
公開日
2025-11-12
出願番号
2024116859
出願日
2024-07-22
発明の名称
ワイヤレス充電装置
出願人
安克創新科技股フン有限公司
代理人
個人
,
個人
,
個人
主分類
H04M
1/12 20060101AFI20251105BHJP(電気通信技術)
要約
【課題】本願は、ワイヤレス充電装置を開示する。
【解決手段】ワイヤレス充電装置は、ワイヤレス充電モジュール及び支持機構を含む。ワイヤレス充電モジュールは、第1ケース、第2ケース、磁気吸引アセンブリ及びワイヤレス充電アセンブリを含む。第2ケースは、第1ケースに回転可能に接続され、第2ケースは、第1ケースの周方向に沿って回転可能である。ワイヤレス充電アセンブリは、第2ケース又は第1ケースに接続され、充電対象機器を充電する。磁気吸引アセンブリは、第2ケース又は第1ケースに接続され、第2ケースには、ワイヤレス充電アセンブリに対応する充電領域が形成され、磁気吸引アセンブリは、磁力によって充電対象機器を充電領域に位置制限する。支持機構は、第1ケースに接続され、ワイヤレス充電モジュールを支持する。上記方法により、充電対象機器の回転の円滑さを向上させ、充電対象機器の姿勢を調整しやすい。
【選択図】図2
特許請求の範囲
【請求項1】
ワイヤレス充電モジュール及び支持機構を含み、
前記ワイヤレス充電モジュールは、第1ケース、第2ケース、磁気吸引アセンブリ及びワイヤレス充電アセンブリを含み、
前記第2ケースは、前記第1ケースに回転可能に接続され、前記第2ケースは、前記第1ケースの周方向に沿って回転可能であり、前記ワイヤレス充電アセンブリは、前記第2ケース又は前記第1ケースに接続され、充電対象機器を充電し、前記磁気吸引アセンブリは、前記第2ケース又は前記第1ケースに接続され、前記第2ケースには、前記ワイヤレス充電アセンブリに対応する充電領域が形成され、前記磁気吸引アセンブリは、磁力によって前記充電対象機器を前記充電領域に位置制限し、
前記支持機構は、前記第1ケースに接続され、前記ワイヤレス充電モジュールを支持する、ことを特徴とするワイヤレス充電装置。
続きを表示(約 2,300 文字)
【請求項2】
前記充電対象機器、前記第2ケース、及び前記磁気吸引アセンブリが共に前記第1ケースの周方向に沿って前記第1ケース及び前記ワイヤレス充電アセンブリに対して回転可能であるように、前記磁気吸引アセンブリが前記第2ケースに接続され、前記ワイヤレス充電アセンブリが前記第1ケースに接続され、又は、
前記充電対象機器及び前記第2ケースが、共に前記第1ケースの周方向に沿って前記第1ケース、前記ワイヤレス充電アセンブリ、及び前記磁気吸引アセンブリに対して回転可能であるように、前記磁気吸引アセンブリ及び前記ワイヤレス充電アセンブリがいずれも前記第1ケースに接続され、又は、
前記充電対象機器、前記第2ケース、前記ワイヤレス充電アセンブリ、及び前記磁気吸引アセンブリが、共に前記第1ケースの周方向に沿って前記第1ケースに対して回転可能であるように、前記磁気吸引アセンブリ、前記ワイヤレス充電アセンブリがいずれも前記第2ケースに接続される、ことを特徴とする請求項1に記載のワイヤレス充電装置。
【請求項3】
前記ワイヤレス充電モジュールは、対応して当接し、かつ相対的に摺動可能である弾性導電接点及び導電部を含み、
前記ワイヤレス充電アセンブリが、前記弾性導電接点及び前記導電部を介して電源に電気的に接続されるように、前記弾性導電接点が前記第2ケースに設けられ、かつ前記ワイヤレス充電アセンブリに電気的に接続され、前記導電部が前記第1ケースに設けられ、かつ導線を介して前記電源に電気的に接続され、又は、
前記ワイヤレス充電アセンブリが、前記弾性導電接点及び前記導電部を介して前記電源に電気的に接続されるように、前記導電部が前記第2ケースに設けられ、かつ前記ワイヤレス充電アセンブリに電気的に接続され、前記弾性導電接点が前記第1ケースに設けられ、かつ導線を介して前記電源に電気的に接続される、ことを特徴とする請求項1に記載のワイヤレス充電装置。
【請求項4】
前記第2ケースと前記第1ケースとの間に軸受が設けられ、前記第2ケースが前記軸受を介して前記第1ケースと相対的に回転するか、又は、前記第2ケースと前記第1ケースとの間に転動部材が設けられ、前記第2ケースが前記転動部材を介して前記第1ケースと相対的に回転する、ことを特徴とする請求項1~3のいずれか一項に記載のワイヤレス充電装置。
【請求項5】
前記第2ケースと前記第1ケースとの間に軸受が設けられ、
前記第1ケースは、内ケース及び外ケースを含み、収容空間は、前記第2ケースと前記内ケースとによって囲まれて形成され、前記磁気吸引アセンブリ及び前記ワイヤレス充電アセンブリは、前記収容空間内に位置し、前記外ケースは、前記内ケースの外周に位置し、前記外ケースと前記内ケースとの間に取付空間が形成され、前記軸受は、前記取付空間内に設けられ、かつ前記内ケースの外周に外嵌され、前記第2ケースは、前記取付空間内に延在して前記軸受の外輪に当接する、ことを特徴とする請求項1~3のいずれか一項に記載のワイヤレス充電装置。
【請求項6】
前記第1ケースには、前記第1ケースの周方向に沿って分布するストッパ面が設けられ、前記ストッパ面は、前記第2ケースを停止させて、前記第2ケースが前記第1ケースから離脱することを制限し、前記ストッパ面は、前記第1ケースの周方向に沿って間隔をあけて分布するか又は連続して分布する、ことを特徴とする請求項1~3のいずれか一項に記載のワイヤレス充電装置。
【請求項7】
前記第2ケースには弾性突起部材が設けられ、前記第1ケースには前記第1ケースの周方向に沿って分布する複数の係止溝が設けられ、複数の前記係止溝が前記弾性突起部材に係止されるか、又は、
前記第1ケースには弾性突起部材が設けられ、前記第2ケースには前記第2ケースの周方向に沿って分布する複数の係止溝が設けられ、複数の前記係止溝が前記弾性突起部材に係止される、ことを特徴とする請求項1~3のいずれか一項に記載のワイヤレス充電装置。
【請求項8】
前記第2ケース及び前記第1ケースのうちの一方には、位置制限部が設けられ、前記第1ケースの周方向に沿って、前記第2ケース及び前記第1ケースのうちの他方には、第1位置制限面及び第2位置制限面が間隔をあけて設けられ、前記位置制限部は、前記第1位置制限面と前記第2位置制限面との間に可動に位置しており、前記第1位置制限面又は前記第2位置制限面に当接することにより、前記第2ケースと前記第1ケースとの相対的な回転を制限する、ことを特徴とする請求項1~3のいずれか一項に記載のワイヤレス充電装置。
【請求項9】
前記第2ケースは、第1基準軸線を中心として前記第1ケースに対して回転可能であり、
前記支持機構は、前記第1ケースに回転可能に接続され、前記第2ケース及び前記第1ケースは、共に第2基準軸線を中心として前記支持機構に対して回転可能であり、前記第1基準軸線の延在方向は、前記第2基準軸線の延在方向と交差する、ことを特徴とする請求項1~3のいずれか一項に記載のワイヤレス充電装置。
【請求項10】
前記支持機構には球頭部が設けられ、前記第1ケースには接続溝が形成され、前記接続溝内には弾性部材が設けられ、前記球頭部は、前記接続溝内に回転可能に挿入され、前記弾性部材に弾性的に当接する、ことを特徴とする請求項9に記載のワイヤレス充電装置。
(【請求項11】以降は省略されています)
発明の詳細な説明
【技術分野】
【0001】
本願は、ワイヤレス充電の技術分野に関し、特にワイヤレス充電装置に関する。
続きを表示(約 2,800 文字)
【背景技術】
【0002】
生活において、人々は、しばしば様々な電子製品を使用する必要があり、多くの電子製品は、しばしば充電する必要がある。従来の有線充電操作が煩雑であり、科学技術の発展に伴い、ユーザーが充電操作を行いやすいワイヤレス充電器が登場した。ワイヤレス充電器を使用して、携帯電話、イヤホン、ウォッチなどの電子機器を充電することができる。
【0003】
ワイヤレス充電器には、充電対象機器の充電過程における安定性を維持するために、充電対象機器を位置制限する構造が設けられてもよい。現在、従来技術において、ワイヤレス充電器は、充電対象機器を位置制限する場合、充電対象機器の姿勢を調整しにくく、ユーザーの使用体験に悪影響を与える。
【発明の概要】
【発明が解決しようとする課題】
【0004】
本願が主に解決しようとする技術的課題は、充電対象機器の回転の円滑さを向上させ、充電対象機器の姿勢の調整しやすいワイヤレス充電装置を提供することである。
【課題を解決するための手段】
【0005】
上記技術的課題を解決するために、技術手段として、本願は、ワイヤレス充電装置を提供する。ワイヤレス充電装置は、ワイヤレス充電モジュール及び支持機構を含む。ワイヤレス充電モジュールは、第1ケース、第2ケース、磁気吸引アセンブリ及びワイヤレス充電アセンブリを含む。第2ケースは、第1ケースに回転可能に接続され、第2ケースは、第1ケースの周方向に沿って回転可能である。ワイヤレス充電アセンブリは、第2ケース又は第1ケースに接続され、充電対象機器を充電する。磁気吸引アセンブリは、第2ケース又は第1ケースに接続され、第2ケースには、ワイヤレス充電アセンブリに対応する充電領域が形成され、磁気吸引アセンブリは、磁力によって充電対象機器を充電領域に位置制限する。支持機構は、第1ケースに接続され、ワイヤレス充電モジュールを支持する。
【発明の効果】
【0006】
本願の有益効果は、以下のとおりである。従来技術と異なり、ワイヤレス充電モジュールは、第1ケース、第2ケース、磁気吸引アセンブリ、及びワイヤレス充電アセンブリを含み、第2ケースは、第1ケースに回転可能に接続され、第2ケースは、第1ケースの周方向に沿って回転可能であり、ワイヤレス充電アセンブリは、第2ケース又は第1ケースに接続され、充電対象機器を充電し、磁気吸引アセンブリは、第2ケース又は第1ケースに接続され、第2ケースには、ワイヤレス充電アセンブリに対応する充電領域が形成され、磁気吸引アセンブリは、磁力によって充電対象機器を充電領域に位置制限し、支持機構は、第1ケースに接続され、ワイヤレス充電モジュールを支持する。これにより、ユーザーが第1ケースの周方向に沿って充電対象機器の姿勢を調整する際に、第2ケースと充電対象機器とが同期して回転することができるため、第2ケースと充電対象機器との間に摺動摩擦が存在しないか又は第2ケースと充電対象機器との間の摺動摩擦を低減することができ、充電対象機器の回転の円滑さを向上させることに有利であり、充電対象機器の姿勢を調整しやすく、ユーザーの手触りを改良し、例えば充電対象機器が携帯電話であってもよく、充電対象機器を第1ケースに対して回転させることで、携帯電話の姿勢を調整して、ポートレートモードとランドスケープモードとの間で携帯電話を切り換えることができ、また携帯電話を歪み状態から正すことができる。
【図面の簡単な説明】
【0007】
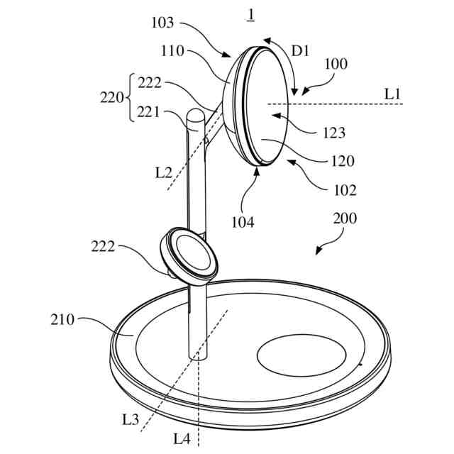
本願のワイヤレス充電装置の実施例の概略構成斜視図である。
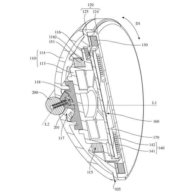
本願のワイヤレス充電装置の実施例の局所の概略断面構成図である。
本願のワイヤレス充電装置の実施例の局所の概略分解構成図である。
本願のワイヤレス充電装置の実施例の局所の概略断面構成図である。
本願のワイヤレス充電装置の実施例の局所の概略断面構成図である。
本願のワイヤレス充電装置の実施例の局所の概略断面構成図である。
本願のワイヤレス充電装置の実施例の局所の概略断面構成図である。
本願のワイヤレス充電装置の実施例の局所の概略断面構成図である。
本願のワイヤレス充電装置の実施例の局所の概略断面構成図である。
図9に示す構造の別の概略断面構成図である。
本願のワイヤレス充電装置の実施例の局所の概略断面構成図である。
【発明を実施するための形態】
【0008】
以下、本願の実施例における図面を参照しながら、本願の実施例の技術手段を明確かつ完全に説明するが、明らかに、説明された実施例は、本願の一部の実施例に過ぎず、全ての実施例ではない。本願の実施例に基づいて、当業者が創造的な労働をすることなく、取得した全ての他の実施例は、いずれも本願の保護範囲に属する。
【0009】
本発明者らが長時間にわたって研究したところ、以下を発見した。科学技術の発展に伴い、ユーザーが充電操作を行いやすいワイヤレス充電器が登場した。ワイヤレス充電器を使用して、携帯電話、イヤホン、ウォッチなどの電子機器を充電することができる。ワイヤレス充電器には、充電対象機器の充電過程における安定性を維持するために、充電対象機器を位置制限する構造が設けられてもよい。現在、従来技術において、ワイヤレス充電器は、充電対象機器を位置制限する場合、充電対象機器の姿勢を調整しにくく、ユーザーの使用体験に悪影響を与える。この技術的課題を解決するために、本願は、以下のような実施例を提供する。
【0010】
図1~図3に示すように、本願のワイヤレス充電装置の実施例に説明されるワイヤレス充電装置1は、ワイヤレス充電モジュール100及び支持機構200を含む。ワイヤレス充電モジュール100は、第1ケース110、第2ケース120、磁気吸引アセンブリ130、及びワイヤレス充電アセンブリ140を含む。第2ケース120は、第1ケース110に回転可能に接続され、第2ケース120は、第1ケース110の周方向D1に沿って回転可能である。ワイヤレス充電アセンブリ140は、第2ケース120又は第1ケース110に接続され、充電対象機器を充電する。磁気吸引アセンブリ130は、第2ケース120又は第1ケース110に接続され、第2ケース120には、ワイヤレス充電アセンブリ140に対応する充電領域123が形成され、磁気吸引アセンブリ130は、磁力によって充電対象機器を充電領域123に位置制限する。支持機構200は、第1ケース110に接続され、ワイヤレス充電モジュール100を支持する。
(【0011】以降は省略されています)
この特許をJ-PlatPat(特許庁公式サイト)で参照する
関連特許
個人
イヤーピース
22日前
個人
イヤーマフ
1か月前
個人
監視カメラシステム
1か月前
個人
スイッチシステム
1か月前
キーコム株式会社
光伝送線路
1か月前
WHISMR合同会社
収音装置
2か月前
サクサ株式会社
中継装置
1か月前
サクサ株式会社
中継装置
1か月前
個人
スキャン式車載用撮像装置
1か月前
キヤノン株式会社
撮像装置
3か月前
アイホン株式会社
電気機器
2か月前
キヤノン株式会社
撮像装置
1日前
株式会社リコー
画像形成装置
2か月前
サクサ株式会社
無線システム
1か月前
株式会社リコー
画像形成装置
1か月前
サクサ株式会社
無線通信装置
1か月前
キヤノン電子株式会社
画像読取装置
1か月前
サクサ株式会社
無線通信装置
1か月前
キヤノン電子株式会社
画像読取装置
1か月前
ヤマハ株式会社
放音制御装置
1か月前
個人
ワイヤレスイヤホン対応耳掛け
2か月前
キヤノン電子株式会社
画像読取装置
22日前
株式会社リコー
画像形成装置
3か月前
キヤノン電子株式会社
画像読取装置
2か月前
個人
映像表示装置、及びARグラス
1か月前
キヤノン株式会社
撮像システム
2か月前
キヤノン株式会社
情報処理装置
9日前
日本電気株式会社
海底分岐装置
1か月前
個人
発信機及び発信方法
1か月前
キヤノン株式会社
画像処理装置
25日前
キヤノン電子株式会社
シート搬送装置
22日前
パテントフレア株式会社
超高速電波通信
2か月前
大日本印刷株式会社
写真撮影装置
2か月前
有限会社フィデリックス
マイクロフォン
1か月前
株式会社JVCケンウッド
通信システム
1か月前
株式会社NTTドコモ
端末
1か月前
続きを見る
他の特許を見る