TOP
|
特許
|
意匠
|
商標
特許ウォッチ
Twitter
他の特許を見る
公開番号
2025169110
公報種別
公開特許公報(A)
公開日
2025-11-12
出願番号
2024074141
出願日
2024-04-30
発明の名称
揚力可変水中翼
出願人
有限会社金鹿哲学承継塾
代理人
個人
主分類
B63H
25/38 20060101AFI20251105BHJP(船舶またはその他の水上浮揚構造物;関連艤装品)
要約
【課題】翼面の面積を増減させることにより航行体の進行方向を制御できる水中翼を提供する。
【解決手段】本発明に係る水中翼は、航行体の運動を制御する水中翼であって、水中翼本体の翼面の面積を変化させることができる水中翼である。水中翼は、第1板状体と、第2板状体と、第3板状体とが3層に積層された構造を有している。第1板状体と第2板状体の周縁部は接続されて箱体を構成し、箱体の内側に第3板状体が、スリットの長さ方向と垂直な方向に移動可能に収容されている。回転軸は箱体に接続されている。そして、第3板状体の前方上側に抵抗板が2つ上に向くように設けられている。
【選択図】図1
特許請求の範囲
【請求項1】
航行体の運動を制御する水中翼であって、水中翼本体の翼面の面積を変化させることができる水中翼。
続きを表示(約 510 文字)
【請求項2】
前記水中翼本体が複数の板状体から構成され、前記全ての板状体には前記全ての板状体を貫通するスリットが形成され、前記複数の板状体の相対位置の変化により、前記スリットの貫通面積が変化する請求項1に記載の水中翼。
【請求項3】
長さ方向が前記回転軸と平行な前記スリットが前記回転軸と平行に複数形成され、前記複数の板状体が前記スリットの長さ方向と垂直な方向に相対的な位置変化をする請求項2に記載の水中翼。
【請求項4】
前記水中翼本体が、2層の板状体から構成される請求項3に記載の水中翼。
【請求項5】
前記水中翼本体が、第1板状体と第2板状体と第3板状体との3層構造からなり、
前記第1板状体と前記第2板状体とが前記回転軸と直交する両辺にて接合された箱体を形成し、前記箱体に水中翼本体の回転軸が設けられ、前記箱体内に前記第3板状体が、前記スリットの長さ方向と垂直な方向に摺動可能に設けられている請求項3に記載の水中翼。
【請求項6】
前記第3板状体に前記箱体から突出する態様で前記回転軸と平行に立設された抵抗板を有する請求項5に記載の水中翼。
発明の詳細な説明
【技術分野】
【0001】
本発明は、揚力を変化させることが可能な水中翼に関する。
続きを表示(約 1,500 文字)
【背景技術】
【0002】
従来から、水上、水中を航行する移動体(以下「航行体」という。)の進行や深度の制御は、水中翼(舵を含む)の角度を変化させることで行われている。例えば、特許文献1に記載の潜水艦の自動深度保持装置では、潜舵と横舵とを制御して船体にモーメントを与えて深度を制御する深度保持装置であって、潜舵に加わる舵制御信号と潜舵の舵角限界値との差を検出しつつ舵制御信号が舵角限界値を超える場合には潜舵を舵角限界値に保持したまま舵角限界値を超える潜舵角範囲は横舵で補正しつつ設定深度を保持させる潜水艦の自動深度保持装置が開示されている。
【0003】
特許文献1に記載の自動深度保持装置は、特に低速度の場合の深度制御機能が改善される。
【先行技術文献】
【特許文献】
【0004】
公開特許公報 昭61-110695
【発明の概要】
【発明が解決しようとする課題】
【0005】
しかしながら、特許文献1に記載の自動深度保持装置も舵角を変化させて船体の方向を制御するという点では、従来の航行体の方向制御と同じであり、舵の方向が変わるまでに時間を要し、短時間で船体の方向を制御できないという問題点があった。
【0006】
本発明の目的は、翼面の面積を増減させることにより航行体の進行方向を制御できる水中翼を提供することである。
【課題を解決するための手段】
【0007】
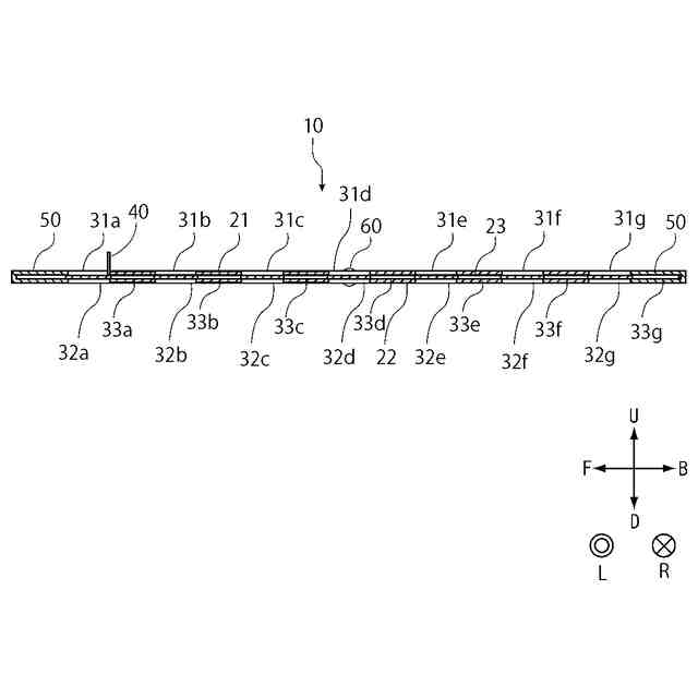
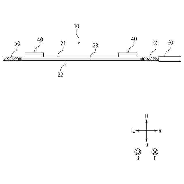
本発明の第1形態に係る水中翼は、航行体の運動を制御する水中翼であって、水中翼本体の翼面の面積を変化させることができる水中翼である。
【0008】
一般に水中翼が作る揚力は以下の式で表される。
F=CL・1/2ρU・U・S
但し
F:揚力
CL:揚力係数 水中翼の形状によって決まり、水中翼の迎角の関数となる。
ρ:水の密度
U:水の流入速度
S:翼面の面積
本発明の第1形態に係る水中翼は、上式のS、翼面の面積を変化させて揚力Fを制御しようとするものである。
翼面の面積を変化させる機構としては、水中翼に設けられたスリットを開閉させる機構が考えられる。また回転可能な複数のフィンを水中翼の回転軸と並行に並べて構成する機構も考えられる。
【0009】
本発明の第2形態に係る水中翼は、第1形態に係る水中翼であって、前記水中翼本体が複数の板状体から構成され、前記全ての板状体には前記全ての板状体を貫通するスリットが形成され、前記複数の板状体の相対位置の変化により、前記スリットの貫通面積が変化する水中翼である。
複数の板状体の相対位置を変化させることで、全ての板状体を貫通する総面積が変化する結果、水中翼の迎角を一定に保った状態でも揚力を変化させることができる。
【0010】
本発明の第3形態に係る水中翼は、第2形態に係る水中翼であって、長さ方向が前記回転軸と平行な前記スリットが前記回転軸と平行に複数形成され、前記複数の板状体が前記スリットの長さ方向と垂直な方向に相対的な位置変化をする水中翼である。
水中翼の回転軸は通常航行体の進行方と直交する方向に設けられているので、本発明の第3形態に係る水中翼はスリットに、航行体が進むことで生じる水流による抵抗を力に変える機構を付加することで、水流を利用してスリットを開閉させることも可能である。
(【0011】以降は省略されています)
この特許をJ-PlatPat(特許庁公式サイト)で参照する
関連特許
有限会社金鹿哲学承継塾
揚力可変水中翼
3日前
個人
水上遊具
5か月前
個人
川下り用船
11か月前
個人
洋上研究所
3か月前
個人
船用横揺防止具
9か月前
個人
津波防災ウエア
3か月前
個人
補助機構
8か月前
個人
コンパクトシティ船
8か月前
個人
渦流動力推進構造
8か月前
個人
セールのバテンガイド装置
4か月前
石田造船株式会社
内航船
8日前
炎重工株式会社
浮標
10か月前
個人
水質浄化・集熱昇温システム
4か月前
炎重工株式会社
浮標
10か月前
住友重機械工業株式会社
船舶
4か月前
個人
スクリュープロペラ
7か月前
株式会社ラフティ
サーフボード
4か月前
個人
船舶
10か月前
株式会社フルトン
水中捕捉装置
8か月前
個人
回転式による流体流出防止タンカー
8か月前
オーケー工業株式会社
係留フック
8か月前
ペアリ株式会社
海の環境改善装置
19日前
株式会社アカデミー出版
船舶
3か月前
スズキ株式会社
船外機
6か月前
スズキ株式会社
船外機
6か月前
スズキ株式会社
船外機
7か月前
朝日電装株式会社
船外機用照明装置
3か月前
ヤマハ発動機株式会社
船外機
10か月前
スズキ株式会社
船外機
7か月前
常石造船株式会社
メタノール燃料船
11か月前
藤倉コンポジット株式会社
架台
11か月前
株式会社神戸タフ興産
船舶の甲板構造
11か月前
炎重工株式会社
自律航行浮遊体
10か月前
株式会社ユピテル
システム及びプログラム等
7か月前
ナブテスコ株式会社
主機制御システム
1か月前
個人
発光手段を備えたライフジャケット
7か月前
続きを見る
他の特許を見る