TOP
|
特許
|
意匠
|
商標
特許ウォッチ
Twitter
他の特許を見る
10個以上の画像は省略されています。
公開番号
2025169064
公報種別
公開特許公報(A)
公開日
2025-11-12
出願番号
2024074043
出願日
2024-04-30
発明の名称
光電変換装置および機器
出願人
キヤノン株式会社
代理人
弁理士法人大塚国際特許事務所
主分類
H10F
39/18 20250101AFI20251105BHJP()
要約
【課題】マイクロレンズを共有するように複数の光電変換素子が配置された光電変換装置における階調再現性を向上させる。
【解決手段】光電変換装置の各画素は、マイクロレンズ104を共有する第1光電変換素子PEC1及び第2光電変換素子PEC2を有し、第1光電変換素子は、第1面及び第2面を有する基板の所定深さと第2面との間に配された第1導電型の第1領域R1と、所定深さと第1面との間に配され、第1接続部CN1を介して第1領域に対して電気的に接続された第1導電型の第2領域R2とを、含む。第2光電変換素子は、第2面と前記所定深さとの間に配された第1導電型の第3領域R3と、前記所定深さと第1面との間に配され、第2接続部CN2を介して第3領域に対して電気的に接続された第1導電型の第4領域R4と、を含む。画素は、第1光電変換素子と第2光電変換素子とを電気的に接続するように交差部に配された電荷リーク部208を有する。
【選択図】図5
特許請求の範囲
【請求項1】
複数の画素が配された基板を有する光電変換装置であって、各画素は、マイクロレンズを共有する第1光電変換素子および第2光電変換素子を有し、前記基板は、第1面と、前記第1面と前記マイクロレンズとの間に配された第2面とを有し、
前記第1光電変換素子は、前記基板の所定深さと前記第2面との間に配された第1導電型の第1領域と、前記所定深さと前記第1面との間に配され、第1接続部を介して前記第1領域に対して電気的に接続された前記第1導電型の第2領域とを含み、
前記第2光電変換素子は、前記第2面と前記所定深さとの間に配された前記第1導電型の第3領域と、前記所定深さと前記第1面との間に配され、第2接続部を介して前記第3領域に対して電気的に接続された前記第1導電型の第4領域とを含み、
前記第1領域と前記第2領域との間、および、前記第3領域と前記第4領域との間に、第2導電型の領域が配され、
前記第1領域と前記第3領域との間に延在するように第1分離領域が配され、前記第2領域と前記第4領域との間に延在するように第2分離領域が配され、
前記複数の画素は、前記第1分離領域と前記第2分離領域とが前記第1面への正射影において交差する交差部を有する第1画素を含み、
前記第1画素は、前記第1光電変換素子と前記第2光電変換素子とを電気的に接続するように前記交差部に配された電荷リーク部を有する、
ことを特徴とする光電変換装置。
続きを表示(約 750 文字)
【請求項2】
前記電荷リーク部は、前記第2分離領域を横切るように配されている、
ことを特徴とする請求項1に記載の光電変換装置。
【請求項3】
前記電荷リーク部は、前記第2領域と前記第4領域との間に配される、
ことを特徴とする請求項1に記載の光電変換装置。
【請求項4】
前記電荷リーク部は、前記第1導電型の領域を含む、
ことを特徴とする請求項1に記載の光電変換装置。
【請求項5】
前記第2分離領域は、前記第2導電型の領域を含む、
ことを特徴とする請求項1に記載の光電変換装置。
【請求項6】
前記電荷リーク部における前記第2導電型の不純物の量は、前記第2分離領域における前記第2導電型の不純物の量より少ない、
ことを特徴とする請求項5に記載の光電変換装置。
【請求項7】
前記電荷リーク部は、前記第1面と前記所定深さとの間に位置する、
ことを特徴とする請求項1に記載の光電変換装置。
【請求項8】
前記第1面と前記電荷リーク部との最短距離は、前記第2面と前記電荷リーク部との最短距離より小さい、
ことを特徴とする請求項1に記載の光電変換装置。
【請求項9】
前記正射影において、前記マイクロレンズの中心は、前記電荷リーク部の領域内に位置する、
ことを特徴とする請求項1に記載の光電変換装置。
【請求項10】
前記正射影において、前記第1接続部と前記第2接続部との間に前記電荷リーク部が配される、
ことを特徴とする請求項1に記載の光電変換装置。
(【請求項11】以降は省略されています)
発明の詳細な説明
【技術分野】
【0001】
本発明は、光電変換装置および機器に関する。
続きを表示(約 2,100 文字)
【背景技術】
【0002】
像面位相差オートフォーカス(AF)のために各画素に複数の光電変換素子を配した光電変換装置がある。特許文献1には、マイクロレンズを共有する第1光電変換素子および第2光電変換素子を有する画素を備える光電変換装置が記載されている。特許文献1に記載された光電変換装置は、基板中に第1層と第2層とが重ねて配置されている。第1光電変換素子は、第1層に配された第1不純物領域と、第2層に配された第2不純物領域を有し、第2光電変換素子は、第1層に配された第3不純物領域と、第2層に配された第4不純物領域を有する。第1層には、第1不純物領域と第3不純物領域との間に第1分離領域が設けられ、第2層には、第2不純物領域と第4不純物領域との間に第2分離領域が設けられている。複数の画素は、第1面に対する平面視において第1分離領域と第2分離領域とが互いに異なる方向に延在する画素を含む。
【先行技術文献】
【特許文献】
【0003】
特開2023-27686号公報
【発明の概要】
【発明が解決しようとする課題】
【0004】
マイクロレンズを共有するように複数の光電変換素子を配置した構成では、1つのマイクロレンズに1つの光電変素子を配置した構成に比べて、全体の飽和電荷数が小さくなり、階調再現性が低下しうる。
【0005】
本発明は、マイクロレンズを共有するように複数の光電変換素子が配置された光電変換装置における階調再現性を向上させるために有利な技術を提供することを目的とする。
【課題を解決するための手段】
【0006】
本発明の1つに側面は、複数の画素が配された基板を有する光電変換装置に関する。前記光電変換装置において、各画素は、マイクロレンズを共有する第1光電変換素子および第2光電変換素子を有し、前記基板は、第1面と、前記第1面と前記マイクロレンズとの間に配された第2面とを有し、前記第1光電変換素子は、前記基板の所定深さと前記第2面との間に配された第1導電型の第1領域と、前記所定深さと前記第1面との間に配され、第1接続部を介して前記第1領域に対して電気的に接続された前記第1導電型の第2領域とを含み、
前記第2光電変換素子は、前記第2面と前記所定深さとの間に配された前記第1導電型の第3領域と、前記所定深さと前記第1面との間に配され、第2接続部を介して前記第3領域に対して電気的に接続された前記第1導電型の第4領域とを含み、前記第1領域と前記第2領域との間、および、前記第3領域と前記第4領域との間に、第2導電型の領域が配され、前記第1領域と前記第3領域との間に延在するように第1分離領域が配され、前記第2領域と前記第4領域との間に延在するように第2分離領域が配され、前記複数の画素は、前記第1分離領域と前記第2分離領域とが前記第1面への正射影において交差する交差部を有する第1画素を含み、前記第1画素は、前記第1光電変換素子と前記第2光電変換素子とを電気的に接続するように前記交差部に配された電荷リーク部を有する。
【発明の効果】
【0007】
本発明によれば、マイクロレンズを共有するように複数の光電変換素子が配置された光電変換装置における階調再現性を向上させるために有利な技術が提供される。
【図面の簡単な説明】
【0008】
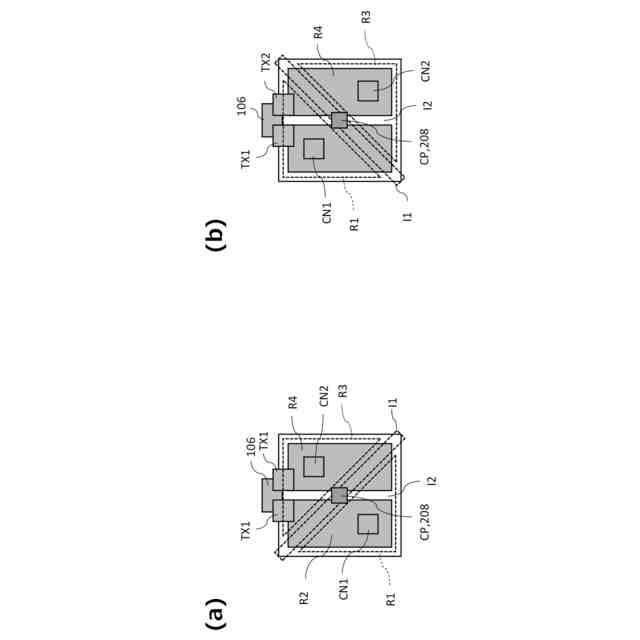
第1実施形態の光電変換装置の構成を示す図。
2種類の画素の構成例を示す平面図。
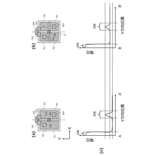
光電変換装置の画素アレイの3つの構成例を示す図。
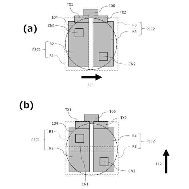
第1種類の画素の構成例を示す図。
第2種類の画素の構成例を示す図。
第1分離領域の形成方法および注入濃度プロファイルを例示する図。
第1種類の画素および第2種類の画素の構成例を説明するための図。
第1種類の画素および第2種類の画素の構成例を説明するための図。
第2実施形態の光電変換装置の画素の構成例を示す図。
機器の構成例を説明する図。
【発明を実施するための形態】
【0009】
以下に、本発明の好ましい実施形態を添付の図面に基づいて詳細に説明する。なお、以下の実施形態は特許請求の範囲に係る発明を限定するものではない。実施形態には複数の特徴が記載されているが、これらの複数の特徴の全てが発明に必須のものとは限らず、また、複数の特徴は任意に組み合わせられてもよい。更に、添付図面においては、同一もしくは同様の構成に同一の参照番号を付し、重複した説明は省略する。
【0010】
以下に述べる各実施形態では、光電変換装置の一例として、撮像用途の装置を中心に説明する。ただし、各実施形態は、撮像用途の装置に限られるものではなく、光電変換装置の他の例にも適用可能である。例えば、測距装置(焦点検出やTOF(Time Of Flight)を用いた距離測定等の装置)、測光装置(入射光量の測定等の装置)などがある。
(【0011】以降は省略されています)
この特許をJ-PlatPat(特許庁公式サイト)で参照する
関連特許
キヤノン株式会社
撮像装置
1日前
キヤノン株式会社
表示装置
1日前
キヤノン株式会社
表示装置
1日前
キヤノン株式会社
発光装置
1日前
キヤノン株式会社
表示装置
1日前
キヤノン株式会社
撮像装置
1日前
キヤノン株式会社
検査システム
1日前
キヤノン株式会社
二成分現像剤
1日前
キヤノン株式会社
画像形成装置
1日前
キヤノン株式会社
インク補充用パウチ
1日前
キヤノン株式会社
発光装置及び測距装置
1日前
キヤノン株式会社
発光装置及び測距装置
1日前
キヤノン株式会社
記録装置及びその制御方法
1日前
キヤノン株式会社
ズームレンズ及び撮像装置
1日前
キヤノン株式会社
ポリマー電解質及び二次電池
1日前
キヤノン株式会社
ズームレンズおよび撮像装置
1日前
キヤノン株式会社
画像処理装置、画像処理方法
1日前
キヤノン株式会社
走査光学装置及び画像形成装置
1日前
キヤノン株式会社
レンズ駆動装置および光学機器
1日前
キヤノン株式会社
撮像装置、撮像装置の制御方法
1日前
キヤノン株式会社
画像読取装置及び画像形成装置
1日前
キヤノン株式会社
情報処理装置およびその制御方法
1日前
キヤノン株式会社
画像処理装置、及び画像処理方法
1日前
キヤノン株式会社
シート給送装置及び画像形成装置
1日前
キヤノン株式会社
情報処理装置およびその制御方法
1日前
キヤノン株式会社
画像読取装置、及び画像形成装置
2日前
キヤノン株式会社
撮像装置の制御方法および撮像装置
1日前
キヤノン株式会社
姿勢調整機構及び画像処理システム
1日前
キヤノン株式会社
インク収容容器及びインク吐出装置
2日前
キヤノン株式会社
インク補給容器及びその再製造方法
2日前
キヤノン株式会社
撮像装置、プログラム、及び撮像方法
2日前
キヤノン株式会社
接合装置、接合方法及び物品の製造方法
1日前
キヤノン株式会社
画像処理装置、画像処理方法及びプログラム
1日前
キヤノン株式会社
制御装置、撮像装置、制御方法及びプログラム
1日前
キヤノン株式会社
画像処理装置及び方法、プログラム、記憶媒体
1日前
キヤノン株式会社
画像処理装置、画像処理方法、及びプログラム
2日前
続きを見る
他の特許を見る