TOP
|
特許
|
意匠
|
商標
特許ウォッチ
Twitter
他の特許を見る
10個以上の画像は省略されています。
公開番号
2025168951
公報種別
公開特許公報(A)
公開日
2025-11-12
出願番号
2024073849
出願日
2024-04-30
発明の名称
取付部材と車両用取付構造
出願人
大和化成工業株式会社
,
小島プレス工業株式会社
代理人
個人
,
個人
,
個人
主分類
F16B
19/00 20060101AFI20251105BHJP(機械要素または単位;機械または装置の効果的機能を生じ維持するための一般的手段)
要約
【課題】一般ユーザーが車室内から容易に機能部材をベース部材から取り外すことが可能な車両用取付構造と、それに用いる取付部材とを提供する。
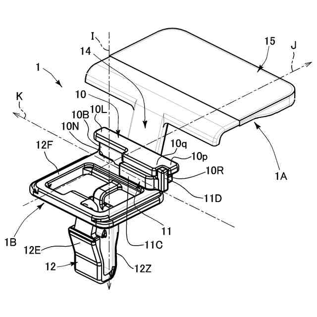
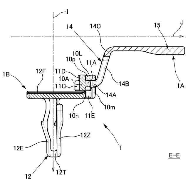
【解決手段】 取付部材1は、固定部12によって車両のベース部材2と機能部材3に対し係合組付けすることによりベース部材2に機能部材3を取り付け、その取付状態において、固定部12から取付方向Iとは逆側に延び出す撓み延出部14の先端の操作部15を、該撓み延出部14の延出方向Lに引き出す取り外し操作をすることにより、機能部材3が持ち上がって着脱固定部21から取り外すことが可能である。取付部材1は、操作部15と撓み延出部14とを一体に有した操作部材1Aと、固定部12を有した固定部材1Bとの2部材を組付けて構成される。
【選択図】図4
特許請求の範囲
【請求項1】
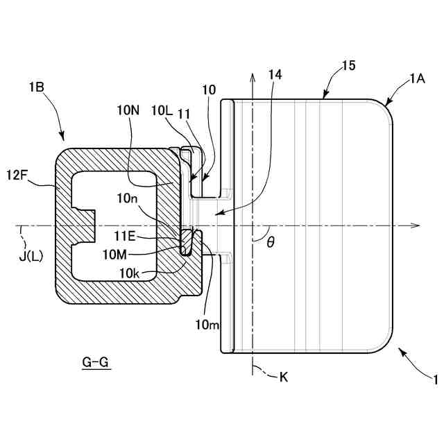
ベース部材固定部と機能部材固定部とを有し、車両のベース部材に設けられた着脱固定部に対し前記ベース部材固定部が所定の取付方向に向かう形で係合組付けされ、車両の内装部品である機能部材に対し前記機能部材固定部が係合組付けされることにより、前記ベース部材に前記機能部材を取り付けられる一方、前記ベース部材固定部から前記取付方向に対し逆側向きかつ傾斜して延び出す撓み延出部とその先端側の操作部とを有し、前記ベース部材と前記機能部材の取付状態において、前記操作部を前記撓み延出部の延出方向側に引き出す取り外し操作をすることにより、前記ベース部材固定部が前記ベース部材の着脱固定部に対し係合解除されて前記撓み延出部と共に前記取付方向とは逆側に引き出されるとともに前記機能部材固定部と係合組付けされている前記機能部材が持ち上がって前記ベース部材から取り外し可能になる取付部材であって、
少なくとも前記操作部と前記撓み延出部とを一体に有した操作部材と、少なくとも前記ベース部材固定部を有した固定部材と、が互いの組付け部を係合させて組付いた2部材構成であることを特徴とする取付部材。
続きを表示(約 1,300 文字)
【請求項2】
前記ベース部材固定部は、前記ベース部材の着脱固定部に対し前記取付方向に挿通することにより係合して組付けられるものであり、
前記操作部材の組付け部に係合して組付けられる前記固定部材の組付け部は、前記ベース部材固定部に対する前記取付方向とは逆側において、該ベース部材固定部の突出軸線に対しその直交方向に所定距離離れた位置に設けられ、
前記取付状態において前記取付部材の前記操作部に対し前記取り外し操作がなされた際には、前記固定部材の組付け部が引き上げられて、前記着脱固定部に係合組付けされている前記ベース部材固定部が前記取付方向に対し傾斜することにより、前記着脱固定部と前記ベース部材固定部の係合組付けが解除される請求項1に記載の取付部材。
【請求項3】
前記操作部材の組付け部と前記固定部材の組付け部は、互いを組付けるための組付け方向が、前記取付方向から見たときに前記取付状態における前記撓み延出部の延出方向に対し交差する方向である請求項1に記載の取付部材。
【請求項4】
前記操作部材は、当該操作部材の組付け部から前記取付方向とは逆側に突出する第一突出部を有し、
前記固定部材は、前記操作部材との組付け状態において、前記第一突出部に対し前記取付状態における前記撓み延出部の延出方向側から当接する第一係止部を有する請求項3に記載の取付部材。
【請求項5】
前記操作部材は、当該操作部材の組付け部から前記取付方向側に突出する第二突出部を有し、
前記固定部材は、前記操作部材との組付け状態において、前記第二突出部に対し前記取付状態における前記撓み延出部の延出方向とは逆側から当接する第二係止部を有する請求項3に記載の取付部材。
【請求項6】
前記機能部材に対する前記機能部材固定部の係合組付けは、前記機能部材の挿入固定部が前記取付部材の前記機能部材固定部に挿入される形でなされる請求項1に記載の取付部材。
【請求項7】
車両のベース部材に設けられた着脱固定部に対し取付部材のベース部材固定部を所定の取付方向に向かう形で係合組付けし、車両の内装部品である機能部材に対し前記取付部材の機能部材固定部を係合組付けすることにより、前記ベース部材に前記機能部材が取り付けられる一方、その取付状態において、前記ベース部材固定部から前記取付方向に対し逆側向きかつ傾斜して延び出す撓み延出部の先端にある前記取付部材の操作部を、前記撓み延出部の延出方向側に引き出す取り外し操作をすることにより、前記ベース部材固定部が前記ベース部材の着脱固定部に対し係合解除されて前記撓み延出部と共に引き出されるとともに前記機能部材固定部と係合組付けされている前記機能部材が持ち上がって前記ベース部材から取り外し可能になる車両用取付構造であって、
前記取付部材は、少なくとも前記操作部と前記撓み延出部とを一体に有した操作部材と、少なくとも前記ベース部材固定部を有した固定部材と、が互いの組付け部を係合させて組付いた2部材構成であることを特徴とする車両用取付構造。
発明の詳細な説明
【技術分野】
【0001】
本発明は、取付部材を用いて車両のベース部材に機能部材を取り付ける車両用取付構造と、その取付部材に関する。
続きを表示(約 2,700 文字)
【背景技術】
【0002】
車両には、車体側に設けられたベース部材に対し別部材を組付けて構成される機能部が存在する。そして、その別部材を取り外しできるように構成されるものもある。例えば、特許文献1には、車両のベース部材に対しクリップを用いてラジエータグリルを取り付ける取付構造について記載がある。この取付構造では、取付時に意図的に形成される隙間にドライバー等の治具を挿入してクリップの柄の先端を押すことにより取り外すことが可能になる。
【先行技術文献】
【特許文献】
【0003】
実開昭62-133010号公報
【発明の概要】
【発明が解決しようとする課題】
【0004】
しかしながら、こうした従来の取付構造では、一般ユーザーによる取り外しを想定しておらず、専門の作業者による取り外し作業が前提となっている。このため、取り外しのためにドライバー等の工具が必要となる等、車室内側からの容易な取り外しはできない。また、仮に一般ユーザーが取り外しを行うとしたなら、工具による作業であるため意匠面に傷をつけてしまう恐れもある。
【0005】
本発明の課題は、一般ユーザーが車室内から容易に機能部材をベース部材から取り外すことが可能な車両用取付構造と、それに用いる取付部材とを提供することにある。
【発明の概要】
課題を解決するための手段及び発明の効果
【0006】
上記課題を解決するための取付部材は、
ベース部材固定部と機能部材固定部とを有し、車両のベース部材に設けられた着脱固定部に対し前記ベース部材固定部が所定の取付方向に向かう形で係合組付けされ、車両の内装部品である機能部材に対し前記機能部材固定部が係合組付けされることにより、前記ベース部材に前記機能部材を取り付けられる一方、前記ベース部材固定部から前記取付方向に対し逆側向きかつ傾斜して延び出す撓み延出部とその先端側の操作部とを有し、前記ベース部材と前記機能部材の取付状態において、前記操作部を前記撓み延出部の延出方向側に引き出す取り外し操作をすることにより、前記ベース部材固定部が前記ベース部材の着脱固定部に対し係合解除されて前記撓み延出部と共に前記取付方向とは逆側に引き出されるとともに前記機能部材固定部と係合組付けされている前記機能部材が持ち上がって前記ベース部材から取り外し可能になる取付部材であって、
少なくとも前記操作部と前記撓み延出部とを一体に有した操作部材と、少なくとも前記ベース部材固定部を有した固定部材と、が互いの組付け部を係合させて組付いた2部材構成であることを特徴とする。
【0007】
上記課題を解決するための車両用取付構造は、
車両のベース部材に設けられた着脱固定部に対し取付部材のベース部材固定部を所定の取付方向に向かう形で係合組付けし、車両の内装部品である機能部材に対し前記取付部材の機能部材固定部を係合組付けすることにより、前記ベース部材に前記機能部材が取り付けられる一方、その取付状態において、前記ベース部材固定部から前記取付方向に対し逆側向きかつ傾斜して延び出す撓み延出部の先端にある前記取付部材の操作部を、前記撓み延出部の延出方向側に引き出す取り外し操作をすることにより、前記ベース部材固定部が前記ベース部材の着脱固定部に対し係合解除されて前記撓み延出部と共に引き出されるとともに前記機能部材固定部と係合組付けされている前記機能部材が持ち上がって前記ベース部材から取り外し可能になる車両用取付構造であって、
前記取付部材は、少なくとも前記操作部と前記撓み延出部とを一体に有した操作部材と、少なくとも前記ベース部材固定部を有した固定部材と、が互いの組付け部を係合させて組付いた2部材構成であることを特徴とする。
【0008】
これらによれば、ベース部材と機能部材との取付構造に、それら双方に組付けられる取付部材が含まれる。取付部材は、ベース部材との組付けが着脱可能になっている一方で、車室内まで延び出した撓み延出部の先端に、機能部材をベース部材から取り外すための操作部が設けられる。操作部に対し、車室内側かつベース部材に対する機能部材側へと引き出す引き出し操作(取り外し操作)をした際、取付部材は、ベース部材との組付けが外れるとともに、機能部材とベース部材との挟み位置で機能部材をベース部材から押し上げて両部材間に隙間を作る。この隙間に指を入れる等することで、機能部材とベース部材は、意匠面に傷をつけることなく、また工具等を用いることなく、容易に取り外すことが可能になる。
【0009】
また、これらによれば、取付部材は、操作部材と固定部材とが組付いた2部材で構成される。このため、操作部材に関しては車室内の意匠バリエーション(色、形、質感等)に対応するように複数種用意し、固定部材に関しては予め定められた意匠のものだけを用意するだけでよい。また、操作部材に関しては意匠だけでなく機能のバリエーションを用意してもよい。例えば複数種の触感のもの、滑り止め機能を有するもの、車両情報提示機能(コーションプレート機能等)を有するもの、発光ないし蓄光機能を有するもの等を用意し、必要な機能バリエーションを選択できるようにすることができる。また、それらの機能を操作部に設けてもよい。つまり、操作部を、予め定められた機能を発揮する機能性操作部としてもよい。この場合、操作部材は、操作部と操作部を除いた残余部とを別材料とし、それらを一体化したものとすることができる。
【0010】
前記ベース部材固定部は、前記ベース部材の着脱固定部に対し前記取付方向に挿通(挿入でもよい)することにより係合して組付けられるものであり、
前記操作部材の組付け部に係合して組付けられる前記固定部材の組付け部は、前記ベース部材固定部に対する前記取付方向とは逆側において、該ベース部材固定部の突出軸線に対しその直交方向に所定距離離れた位置に設けられ、
前記取付状態において前記取付部材の前記操作部に対し前記取り外し操作がなされた際には、前記固定部材の組付け部が引き上げられて、前記着脱固定部に係合組付けされている前記ベース部材固定部が前記取付方向に対し傾斜することにより、前記着脱固定部と前記ベース部材固定部の係合組付けが解除されるようにできる。
(【0011】以降は省略されています)
この特許をJ-PlatPat(特許庁公式サイト)で参照する
関連特許
大和化成工業株式会社
クリップ
4か月前
大和化成工業株式会社
二部材組付け構造
18日前
大和化成工業株式会社
取付部材と車両用取付構造
18日前
個人
留め具
1か月前
個人
鍋虫ねじ
3か月前
個人
紛体用仕切弁
3か月前
個人
ホース保持具
7か月前
個人
回転伝達機構
3か月前
個人
差動歯車用歯形
5か月前
個人
ジョイント
2か月前
個人
給排気装置
1か月前
株式会社不二工機
電磁弁
5か月前
個人
地震の揺れ回避装置
4か月前
個人
ナット
2か月前
個人
ナット
25日前
株式会社不二工機
電磁弁
6か月前
個人
吐出量監視装置
2か月前
個人
ゲート弁バルブ
10日前
兼工業株式会社
バルブ
26日前
カヤバ株式会社
緩衝器
1か月前
カヤバ株式会社
緩衝器
4か月前
カヤバ株式会社
ダンパ
5か月前
カヤバ株式会社
緩衝器
4か月前
カヤバ株式会社
ダンパ
5か月前
柿沼金属精機株式会社
分岐管
3か月前
株式会社不二工機
電動弁
1か月前
株式会社ニフコ
クリップ
10日前
個人
固着具と固着具の固定方法
6か月前
個人
固着具と固着具の固定方法
6か月前
アズビル株式会社
回転弁
2か月前
株式会社タカギ
水栓装置
3か月前
株式会社ノーリツ
分配弁
6か月前
株式会社ノーリツ
分配弁
6か月前
株式会社フジキン
ボールバルブ
5か月前
株式会社ノーリツ
分配弁
1か月前
株式会社ノーリツ
分配弁
6か月前
続きを見る
他の特許を見る