TOP
|
特許
|
意匠
|
商標
特許ウォッチ
Twitter
他の特許を見る
10個以上の画像は省略されています。
公開番号
2025168950
公報種別
公開特許公報(A)
公開日
2025-11-12
出願番号
2024073848
出願日
2024-04-30
発明の名称
二部材組付け構造
出願人
大和化成工業株式会社
代理人
個人
,
個人
,
個人
主分類
F16B
7/20 20060101AFI20251105BHJP(機械要素または単位;機械または装置の効果的機能を生じ維持するための一般的手段)
要約
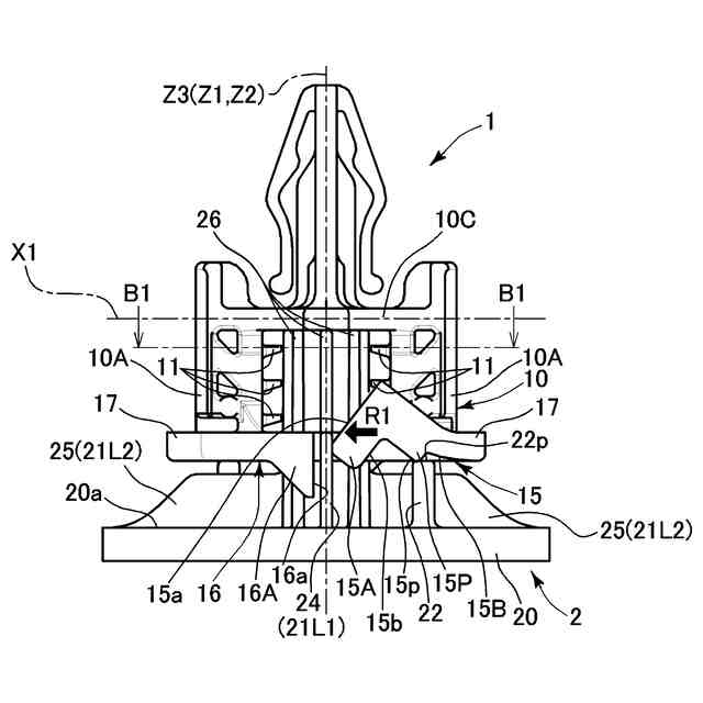
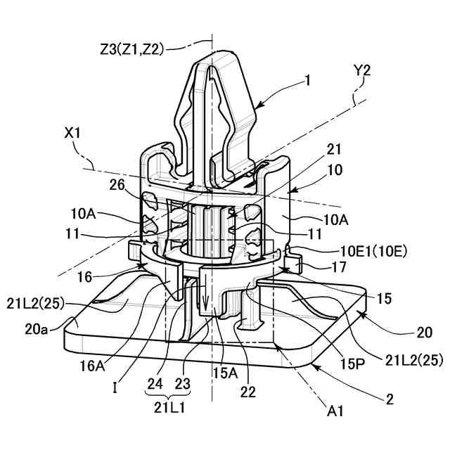
【課題】第一部材の本体部と第二部材の嵌合部を嵌合させた上で相対回転させて互いを組付ける際に、本体部とボスの嵌合深さを一定レベル以上にした上で相対回転させることが可能な二部材組付け構造を提供する。
【解決手段】 本体部10とボス21が所定深さまで嵌合した嵌合状態になったときには、弾性片15の自由端側が規制解除部22によって押し出された弾性変形状態となることにより係止部15Aが対向間S2から離脱し、この状態において回転組付け操作を行うことによって、係止部15Aが回転規制部23上を通過して本体部10とボス21の相対回転が進行し、第一部材1と第二部材2を固定できる。
【選択図】図7
特許請求の範囲
【請求項1】
第一部材の本体部を第二部材の嵌合部に対し互いの軸線を一致させかつ互いの軸線周りの位置を合わせた上で一致した軸線の方向に嵌合し、その嵌合状態において、一致した軸線を回転軸線とし、その回転軸線周りで前記第一部材と前記第二部材を相対回転させる回転組付け操作を行うことによりそれら二部材が係合して固定される二部材組付け構造であって、
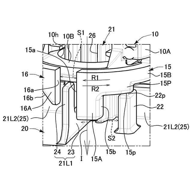
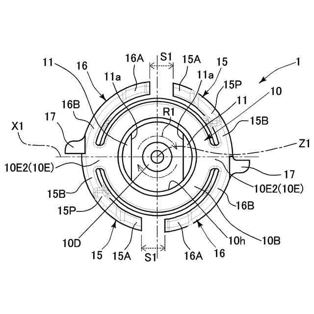
前記第一部材及び前記第二部材のうち一方の部材は、前記嵌合状態において前記回転軸線周りに対向する規制解除部と回転規制部を備え、他方の部材は、前記嵌合状態において前記回転軸線周りを片持ち状態で固定端から前記規制解除部を越えて前記回転規制部側へと延びる弾性片を備え、
前記弾性片は、その自由端側に、前記嵌合状態となるときに前記規制解除部と前記回転規制部との対向間に向かう係止部を有し、
前記本体部と前記嵌合部の嵌合が、前記対向間に前記係止部が進入するまで進行し、かつ前記回転軸線の方向に所定深さまで嵌合していない嵌合中途状態において、該係止部が前記回転軸線周りを前記回転規制部側に向かう所定回転方向に前記回転組付け操作を行う場合、該係止部が前記回転規制部に係止して前記本体部と前記嵌合部の相対回転が止まって前記第一部材と前記第二部材が固定できないが、さらに嵌合が進んで、前記本体部と前記嵌合部が前記回転軸線の方向に所定深さまで嵌合した前記嵌合状態になったときには、前記弾性片の自由端側が前記規制解除部によって押し出された弾性変形状態となることにより該係止部が前記対向間から離脱し、この状態において前記所定回転方向の前記回転組付け操作を行うことによって、該係止部が前記回転規制部上を通過して前記本体部と前記嵌合部の相対回転が進行し、前記第一部材と前記第二部材が係合して固定されることを特徴とする二部材組付け構造。
続きを表示(約 750 文字)
【請求項2】
前記本体部と前記嵌合部には、前記嵌合状態において前記回転軸線の方向から見たときに互いの先端が直線状をなして略平行かつ近接対向して配置される直線状対向部がそれぞれに設けられる請求項1に記載の二部材組付け構造。
【請求項3】
前記弾性片は、前記本体部と前記嵌合部が前記回転軸線の方向に所定深さまで嵌合していくときに前記規制解除部の押付面に押し付けられる被押付面を有し、それら押付面及び被押付面は、前記弾性片の自然状態において嵌合方向に対する直交方向に延びる請求項1に記載の二部材組付け構造。
【請求項4】
前記係止部は、前記弾性片の自然状態において前記被押付面に対し該弾性片の自由端側に隣接する面を、該自由端側に向けて、前記規制解除部による前記弾性片の押出方向の逆向きへと下る傾斜面をなす請求項3に記載の二部材組付け構造。
【請求項5】
前記係止部及び前記規制解除部は、前記嵌合中途状態において前記第一部材と前記第二部材の相対回転が前記回転組付け操作とは逆回転方向に行った場合に、互いが係止してその相対回転が止まる形状をなす請求項1に記載の二部材組付け構造。
【請求項6】
前記他方の部材は、前記弾性片の固定端側に前記回転軸線に対する径方向に突出する位置決め係止部を有し、
前記一方の部材は、前記回転軸線に対する径方向において前記回転規制部に隣接形成された回転止め部を有し、
前記嵌合状態において前記回転組付け操作を行った際には、前記回転軸線周りにおいて前記位置決め係止部と前記回転止め部が係止し、その係止位置で前記第一部材と前記第二部材が係合して固定される請求項1に記載の二部材組付け構造。
発明の詳細な説明
【技術分野】
【0001】
本発明は二部材組付け構造に関する。
続きを表示(約 2,300 文字)
【背景技術】
【0002】
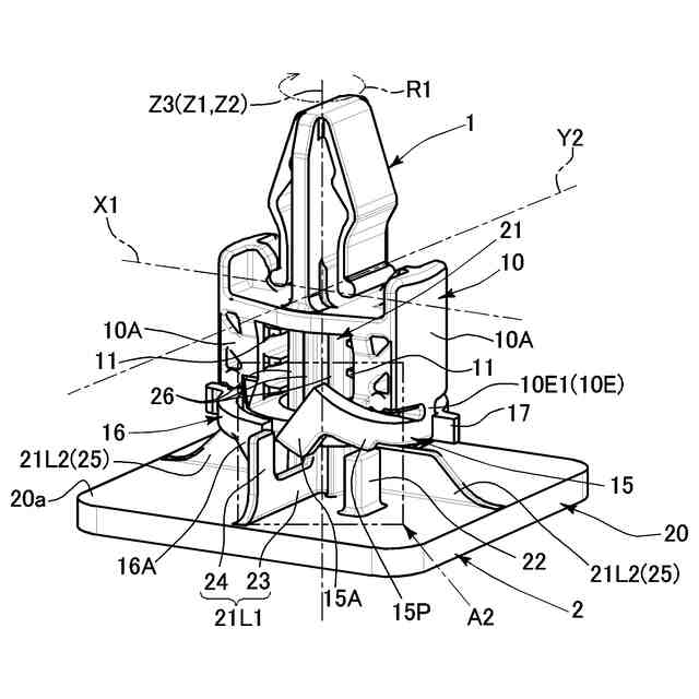
特許文献1には、第一部材の本体部を、第二部材の主面から上向きに突出するボス(嵌合部)に対し、互いの軸線及び軸線周りの位置を合わせてその軸線方向に嵌合させ、その嵌合状態において第一部材を第二部材のボスの軸線周りに回転させることにより、それら二部材が嵌合方向とは逆向きの抜け止め状態となって固定される二部材組付け構造について記載がある。ここでは、第一部材を第二部材のボスの軸線周りに回転させることにより、第一部材の本体部の内周面に設けられた食い込み刃を、第二部材のボスの外周面に食い込ませることにより、嵌合方向とは逆向きの抜けが阻止される二部材組付け構造が形成される。
【0003】
このような第一部材は、本体部上に、第二部材とは異なる別部材に組付けるための係合部を設けた組付け部材(クリップ)とすることができる。この場合、同形状の第一部材を複数用意し、ベース部材をなす第二部材に設けられた複数のボスに対しそれらを組付け、その上で、それら第一部材の係合部に対し別部材を組み付けることにより、第二部材と別部材(第三部材)とを第一部材を介して組み付けることができる。
【0004】
しかしながら、この場合、第一部材の本体部と第二部材のボス(嵌合部)との嵌合深さが揃っていないと、別部材(第三部材)を組付けたときに各第一部材の係合部の位置(高さ)がそろわないため、別部材の組付け状態を乱すおそれがある。こうした嵌合深さの不揃い・バラつきは、嵌合させた二部材を相対回転によって組付ける従来の組付け構造において発生する問題であり、上記のような係合部を有した第一部材(クリップ)に限らず問題になる。
【先行技術文献】
【特許文献】
【0005】
特許第5214377号公報
【発明の概要】
【発明が解決しようとする課題】
【0006】
本発明の課題は、第一部材の本体部と第二部材の嵌合部を嵌合させた上で相対回転させて互いを組付ける際に、本体部とボスの嵌合深さを一定レベル以上にした上で相対回転させることが可能な二部材組付け構造を提供することにある。
【発明の概要】
課題を解決するための手段及び発明の効果
【0007】
上記課題を解決するための二部材組付け構造は、
第一部材(例えばクリップ等の組付け部材)の本体部を第二部材(例えばベース部材)の嵌合部に対し互いの軸線を一致させかつ互いの軸線周りの位置を合わせた上で一致した軸線の方向に嵌合し、その嵌合状態において、一致した軸線を回転軸線として、その回転軸線周りで前記第一部材と前記第二部材を相対回転させる回転組付け操作を行うことによりそれら二部材が係合して固定される二部材組付け構造であって、
前記第一部材及び前記第二部材のうち一方の部材は、前記嵌合状態において前記回転軸線周りに対向する規制解除部と回転規制部を備え、他方の部材は、前記嵌合状態において前記回転軸線周りを片持ち状態で固定端から前記規制解除部を越えて前記回転規制部側へと延びる弾性片を備え、
前記弾性片は、その自由端側に、前記嵌合状態となるときに(前記回転軸線の方向に沿って)前記規制解除部と前記回転規制部との対向間に向かう係止部を有し、
前記本体部と前記嵌合部の嵌合が、前記対向間に前記係止部が進入するまで進行し、かつ前記回転軸線の方向に所定深さまで嵌合していない嵌合中途状態において、該係止部が前記回転軸線周りを前記回転規制部側に向かう所定回転方向に前記回転組付け操作を行う場合、該係止部が前記回転規制部に係止して前記本体部と前記嵌合部の相対回転が止まって前記第一部材と前記第二部材が固定できないが、
さらに嵌合が進んで、前記本体部と前記嵌合部が前記回転軸線の方向に所定深さまで嵌合した前記嵌合状態(嵌合完了状態)になったときには、前記弾性片の自由端側が前記規制解除部によって押し出された弾性変形状態となることにより該係止部が前記対向間から離脱し、この状態において前記所定回転方向の前記回転組付け操作を行うことによって、該係止部が前記回転規制部上を通過して(前記回転規制部を越えて)前記本体部と前記嵌合部の相対回転が進行し、前記第一部材と前記第二部材が係合して固定されることを特徴とする。
【0008】
上記構成によれば、第一部材の本体部を第二部材の嵌合部に嵌合するときに、所定深さまで嵌合していれば回転組付け操作が可能となり、第一部材と第二部材を固定できる一方、所定深さまで嵌合していなければ回転組付け操作が妨げられ、第一部材と第二部材を固定できない。したがって、第一部材の本体部と第二部材の嵌合部との嵌合深さを確実に一定以上にできる。
【0009】
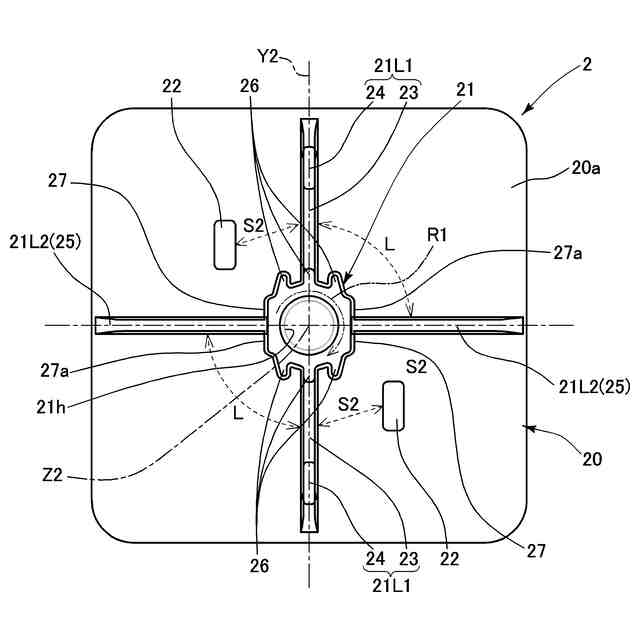
前記本体部と前記嵌合部には、前記嵌合状態において前記回転軸線の方向から見たときに互いの先端が直線状をなして略平行かつ近接対向して配置される直線状対向部をそれぞれに設けることができる。
【0010】
上記構成によれば、本体部と嵌合部を嵌合させる際に、回転軸線(互いに一致した軸線)の方向(回転軸線方向)から見たとき、互いの直線状対向部を平行かつ近接対向させることにより、回転軸線周りにおける本体部と嵌合部の位置を容易に合わせることができる。互いの直線状対向部が略平行かつ近接対向した状態にならない場合は、回転軸線周りの位置がずれており、嵌合するときに互いの直線状対向部が干渉して嵌合できない。
(【0011】以降は省略されています)
この特許をJ-PlatPat(特許庁公式サイト)で参照する
関連特許
大和化成工業株式会社
クリップ
4か月前
大和化成工業株式会社
二部材組付け構造
17日前
大和化成工業株式会社
取付部材と車両用取付構造
17日前
個人
留め具
1か月前
個人
鍋虫ねじ
3か月前
個人
紛体用仕切弁
3か月前
個人
ホース保持具
7か月前
個人
回転伝達機構
3か月前
個人
トーションバー
7か月前
個人
差動歯車用歯形
5か月前
個人
給排気装置
1か月前
個人
ジョイント
2か月前
個人
ナット
2か月前
株式会社不二工機
電磁弁
6か月前
個人
地震の揺れ回避装置
4か月前
株式会社不二工機
電磁弁
5か月前
個人
ナット
24日前
個人
吐出量監視装置
2か月前
個人
ゲート弁バルブ
9日前
株式会社三協丸筒
枠体
8か月前
カヤバ株式会社
緩衝器
1か月前
カヤバ株式会社
ダンパ
5か月前
カヤバ株式会社
緩衝器
4か月前
兼工業株式会社
バルブ
25日前
柿沼金属精機株式会社
分岐管
3か月前
カヤバ株式会社
ダンパ
5か月前
カヤバ株式会社
緩衝器
4か月前
株式会社不二工機
電動弁
8か月前
株式会社ノーリツ
分配弁
1か月前
株式会社奥村組
制振機構
2か月前
株式会社タカギ
水栓装置
3か月前
株式会社奥村組
制振機構
2か月前
株式会社ニフコ
クリップ
1か月前
個人
固着具と固着具の固定方法
7か月前
株式会社ニフコ
クリップ
9日前
株式会社不二工機
電磁弁
3か月前
続きを見る
他の特許を見る