TOP
|
特許
|
意匠
|
商標
特許ウォッチ
Twitter
他の特許を見る
10個以上の画像は省略されています。
公開番号
2025168929
公報種別
公開特許公報(A)
公開日
2025-11-12
出願番号
2024073803
出願日
2024-04-30
発明の名称
表示装置、光電変換装置、電子機器
出願人
キヤノン株式会社
代理人
弁理士法人秀和特許事務所
主分類
G09G
3/3225 20160101AFI20251105BHJP(教育;暗号方法;表示;広告;シール)
要約
【課題】複数の画素に信号を書き込む表示装置において、表示品質の低下を抑制する。
【解決手段】マトリクス状に配置された複数の画素を含み、書き込み制御トランジスタと、発光制御トランジスタと、駆動する駆動トランジスタとを含む表示エリアと、行方向に並んだ画素の書き込み制御トランジスタに接続された第1の選択線と、行方向に並んだ画素の発光制御トランジスタに接続された第2の選択線と、複数の第1の選択線を順番に走査する第1の走査回路と、複数の第2の選択線を走査する第2の走査回路と、を有し、前記画像データは解像度が異なる複数の領域に分かれており、前記複数の領域が列方向に少なくとも2つ以上含まれるように配置され、前記第1の走査回路による走査の速度は、前記列方向に配置された領域ごとに異なり、前記第2の走査回路による走査の速度は、前記第1の走査回路による走査の速度の最低速度以上かつ最高速度未満である。
【選択図】図1
特許請求の範囲
【請求項1】
マトリクス状に配置された複数の画素を含む表示エリアであって、前記画素は、発光素子と、前記発光素子に信号電圧を書き込む書き込み制御トランジスタと、前記発光素子を発光させる発光制御トランジスタと、前記発光素子を駆動する駆動トランジスタとを含む、表示エリアと、
前記複数の画素の行ごとに設けられた、行方向に並んだ画素の前記書き込み制御トランジスタに接続された第1の選択線と、
前記複数の画素の行ごとに設けられた、行方向に並んだ画素の前記発光制御トランジスタに接続された第2の選択線と、
複数の前記第1の選択線を順番に走査する第1の走査回路と、
複数の前記第2の選択線を順番に走査する第2の走査回路と、
を有し、
前記表示エリアは、画像データが表示され、
前記画像データは解像度が異なる複数の領域に分かれており、前記複数の領域が列方向に少なくとも2つ以上含まれるように配置され、
前記第1の走査回路による走査の速度は、前記列方向に配置された領域ごとに異なり、
前記第2の走査回路による走査の速度は、前記第1の走査回路による走査の速度の最低速度以上かつ最高速度未満である
ことを特徴とする表示装置。
続きを表示(約 970 文字)
【請求項2】
前記複数の領域にわたる前記第2の走査回路による走査の前記速度が一定であることを特徴とする請求項1に記載の表示装置。
【請求項3】
前記表示エリアにおける前記画像データの表示に係る1フレーム期間が、前記第1の走査回路による前記複数の領域の1回の走査に要する時間に応じて決まることを特徴とする請求項1に記載の表示装置。
【請求項4】
前記表示エリアにおける前記画像データの表示に係る1フレーム期間が、前記第2の走査回路による前記複数の領域の1回の走査に要する時間に応じて決まることを特徴とする請求項1に記載の表示装置。
【請求項5】
前記第1の走査回路による前記複数の領域の1回の走査に要する時間と前記第2の走査回路による前記複数の領域の1回の走査に要する時間が同一であることを特徴とする請求項1に記載の表示装置。
【請求項6】
前記表示エリアにおける前記複数の画素の大きさが均一であることを特徴とする請求項1に記載の表示装置。
【請求項7】
前記複数の領域の各解像度の領域ごとに前記複数の画素の大きさが異なることを特徴とする請求項1に記載の表示装置。
【請求項8】
前記複数の領域のうち相対的に低い解像度の領域における前記画素の大きさに応じて、前記複数の領域のうち相対的に高い解像度の領域における前記画素の発光量が決まるように、前記第2の走査回路による走査が行われることを特徴とする請求項7に記載の表示装置。
【請求項9】
前記複数の領域のうち相対的に高い解像度の領域における前記画素の大きさに応じて、前記複数の領域のうち相対的に低い解像度の領域における前記画素の発光量が決まるように、前記第2の走査回路による走査が行われることを特徴とする請求項7に記載の表示装
置。
【請求項10】
光学部と、
前記光学部を通過した光を受光する撮像素子と、
前記撮像素子が撮像した画像を表示する表示装置と
を有し、
前記表示装置は、請求項1~9のいずれか1項に記載の表示装置である
ことを特徴とする光電変換装置。
(【請求項11】以降は省略されています)
発明の詳細な説明
【技術分野】
【0001】
本発明は、表示装置、光電変換装置、電子機器に関するものである。
続きを表示(約 2,900 文字)
【背景技術】
【0002】
表示装置において多画素化や高フレームレートが進むにつれ画像データのデータ量が増加する。そのため、表示装置のユーザの視点が向きやすい表示領域の中心部を高解像度で表示し、ユーザの視点が向きにくい中心部以外の領域を低解像度で表示する技術が知られている。特許文献1には、表示領域にある複数の画素に同一の信号を書き込む動作により、中心部以外の領域を低解像度で表示する技術が開示されている。
【先行技術文献】
【特許文献】
【0003】
特開2010-107582号公報
【発明の概要】
【発明が解決しようとする課題】
【0004】
しかしながら、上記の技術では、複数の画素に同一の信号を書き込む表示装置において、表示領域の発光面積が時間的に偏ることで、発光素子に流れる電流量が時間的に偏り、表示品質の低下を引き起こす可能性がある。
【0005】
そこで、本発明は、上記に鑑みてなされたものであり、複数の画素に信号を書き込む表示装置において、表示品質の低下を抑制することを目的とする。
【課題を解決するための手段】
【0006】
本発明の1つの態様は、マトリクス状に配置された複数の画素を含む表示エリアであって、前記画素は、発光素子と、前記発光素子に信号電圧を書き込む書き込み制御トランジスタと、前記発光素子を発光させる発光制御トランジスタと、前記発光素子を駆動する駆動トランジスタとを含む、表示エリアと、前記複数の画素の行ごとに設けられた、行方向に並んだ画素の前記書き込み制御トランジスタに接続された第1の選択線と、前記複数の画素の行ごとに設けられた、行方向に並んだ画素の前記発光制御トランジスタに接続された第2の選択線と、複数の前記第1の選択線を順番に走査する第1の走査回路と、複数の前記第2の選択線を順番に走査する第2の走査回路と、を有し、前記表示エリアは、画像データが表示され、前記画像データは解像度が異なる複数の領域に分かれており、前記複数の領域が列方向に少なくとも2つ以上含まれるように配置され、前記第1の走査回路による走査の速度は、前記列方向に配置された領域ごとに異なり、前記第2の走査回路による走査の速度は、前記第1の走査回路による走査の速度の最低速度以上かつ最高速度未満であることを特徴とする表示装置である。
【発明の効果】
【0007】
本発明によれば、表示領域の発光面積を時間的に均一にすることで、発光素子に流れる電流量の時間的な偏りを抑制し、表示品質の低下を抑制することができる。
【図面の簡単な説明】
【0008】
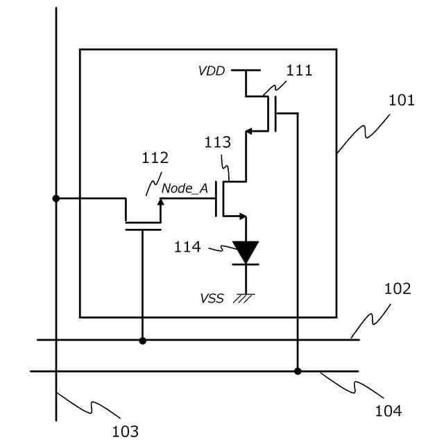
実施形態1に係る表示装置の構成の一例を示す図
実施形態1に係る画素駆動回路の構成の一例を示す図
従来技術に係る表示装置の書き込みと発光の制御を模式的に示す図
従来技術に係る表示装置の書き込みと発光の制御を模式的に示す図
実施形態1に係る表示装置の書き込みと発光の制御を模式的に示す図
一変形例に係る表示装置の書き込みと発光の制御を模式的に示す図
従来技術に係る表示装置の書き込みと発光の制御を模式的に示す図
実施形態1に係る表示装置の書き込みと発光の制御を模式的に示す図
一変形例に係る表示装置の書き込みと発光の制御を模式的に示す図
実施形態1に係る垂直走査回路の構成の一例を示す図
実施形態1に係る垂直走査回路の動作タイミング図
一変形例に係る垂直走査回路の動作タイミング図
一変形例に係る垂直走査回路の動作タイミング図
一変形例に係る垂直走査回路の動作タイミング図
実施形態1における画像信号と表示画像の関係を模式的に示す図
一変形例に係る垂直走査回路の構成の一例を示す図
一変形例に係る垂直走査回路の動作タイミング図
一変形例に係る垂直走査回路の構成の一例を示す図
一変形例に係る垂直走査回路の動作タイミング図
一変形例に係る垂直走査回路の構成の一例を示す図
実施形態2に係る表示装置の構成の一例を示す図
実施形態2に係る垂直走査回路の構成の一例を示す図
実施形態2に係る垂直走査回路の動作タイミング図
一変形例に係る垂直走査回路の構成の一例を示す図
一変形例に係る画素駆動回路の構成の一例を示す図
一変形例に係る画素駆動回路の構成の一例を示す図
一変形例に係る垂直走査回路の動作タイミング図
実施形態2における画像信号と表示画像の関係を模式的に示す図
一実施形態に係る表示装置の一部の一例の断面を示す図
一実施形態に係る表示装置の一例を示す断面模式図
実施形態3に係る表示部品の一例を示す模式図
実施形態4および実施形態5に係る撮像装置の一例を示す模式図
実施形態6に係る画像表示装置の一例を示す模式図
実施形態7に係る表示装置の適用例を示す模式図
実施形態8に係る表示装置の適用例を示す模式図
【発明を実施するための形態】
【0009】
(実施形態1)
以下に、本発明の実施形態1に係る表示装置について図を参照しながら説明する。図1は、本実施形態に係る表示装置1の構成の一例を示す概略図である。表示装置1は、画素アレイ100、垂直走査回路200、信号出力回路300、制御回路400を含む。画素アレイ100は、マトリクス状に配置された複数の画素を含む表示エリアであり、複数行および複数列にわたって2次元に配置された複数の単位画素駆動回路101を有する。単位画素駆動回路101は、各々に例えば有機EL素子などの発光素子、画像信号の書き込みと発光を制御するためのトランジスタを含む。本実施形態では、単位画素駆動回路101が画素に対応するものと想定するが、以下に説明する表示装置1における動作を実現する上で画素に単位画素駆動回路101以外の構成要素が適宜含まれてもよい。また、図1において、単位画素駆動回路101と同じ形状を有する他の単位画素駆動回路も、単位画素駆動回路101と同様に構成されている。このように、実施形態1に係る表示装置1では、表示エリアにおける複数の画素駆動回路の大きさが均一である。
【0010】
単位画素駆動回路101は、行ごとに共通に設けられた書き込み選択線102および発光選択線104を介して垂直走査回路200と接続されている。さらに、単位画素駆動回路101は、列ごとに共通に設けられた画像信号線103を介して信号出力回路300と
接続されている。信号出力回路300は、制御回路400により制御され、単位画素駆動回路101に列ごとに個別の画像信号を出力する。
(【0011】以降は省略されています)
この特許をJ-PlatPat(特許庁公式サイト)で参照する
関連特許
キヤノン株式会社
容器
1か月前
キヤノン株式会社
容器
1か月前
キヤノン株式会社
トナー
26日前
キヤノン株式会社
トナー
1か月前
キヤノン株式会社
記録装置
1か月前
キヤノン株式会社
測距装置
1か月前
キヤノン株式会社
電子機器
21日前
キヤノン株式会社
表示装置
5日前
キヤノン株式会社
表示装置
5日前
キヤノン株式会社
撮像装置
5日前
キヤノン株式会社
記録装置
26日前
キヤノン株式会社
記録装置
19日前
キヤノン株式会社
表示装置
1か月前
キヤノン株式会社
定着装置
13日前
キヤノン株式会社
現像装置
1か月前
キヤノン株式会社
表示装置
5日前
キヤノン株式会社
撮像装置
5日前
キヤノン株式会社
撮像装置
21日前
キヤノン株式会社
定着装置
19日前
キヤノン株式会社
撮像装置
26日前
キヤノン株式会社
電子機器
26日前
キヤノン株式会社
撮像装置
1か月前
キヤノン株式会社
撮像装置
1か月前
キヤノン株式会社
撮像装置
1か月前
キヤノン株式会社
雲台装置
26日前
キヤノン株式会社
記録装置
26日前
キヤノン株式会社
撮像装置
7日前
キヤノン株式会社
電子機器
26日前
キヤノン株式会社
撮像装置
1か月前
キヤノン株式会社
定着装置
19日前
キヤノン株式会社
発光装置
5日前
キヤノン株式会社
現像装置
1か月前
キヤノン株式会社
記録装置
1か月前
キヤノン株式会社
二次電池
今日
キヤノン株式会社
撮影装置
1か月前
キヤノン株式会社
撮像装置
27日前
続きを見る
他の特許を見る