TOP
|
特許
|
意匠
|
商標
特許ウォッチ
Twitter
他の特許を見る
公開番号
2025168879
公報種別
公開特許公報(A)
公開日
2025-11-12
出願番号
2024073705
出願日
2024-04-30
発明の名称
二酸化炭素の分離・回収方法
出願人
千代田化工建設株式会社
,
株式会社JERA
代理人
個人
,
個人
,
個人
,
個人
主分類
B01D
53/62 20060101AFI20251105BHJP(物理的または化学的方法または装置一般)
要約
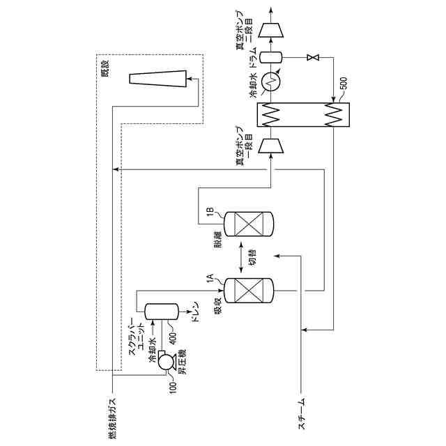
【課題】二酸化炭素固体吸収材を用いたSA-VSAを採用する二酸化炭素分離・回収プロセスであって、プラント建設に必要な設置スペースや再生用スチームの消費量が抑えられたプロセスを提供する。
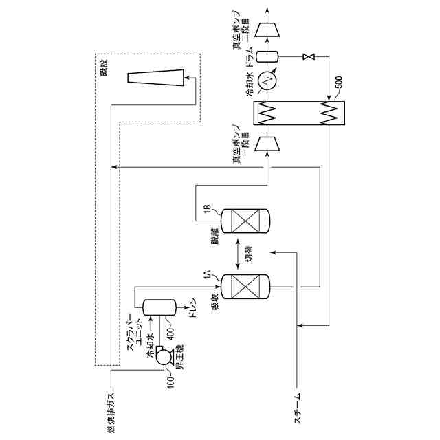
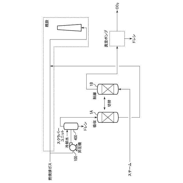
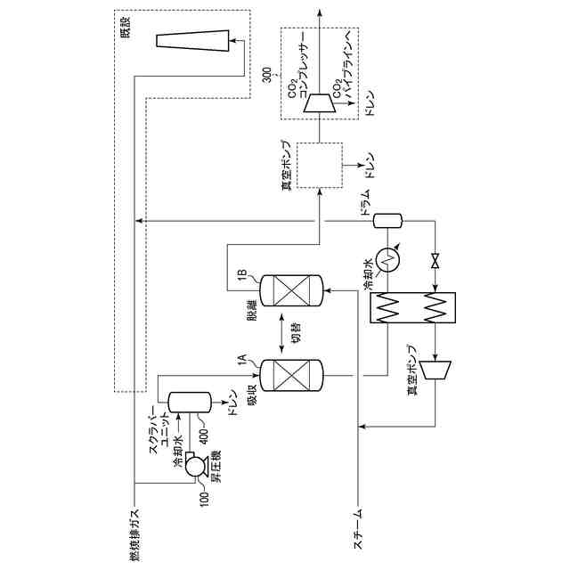
【解決手段】ガス混合物から二酸化炭素を分離及び回収する方法であって、ガス混合物中の二酸化炭素を二酸化炭素固体吸収材に捕捉させる捕捉工程と、該二酸化炭素固体吸収材をスチームと接触させることにより二酸化炭素を脱離させる脱離工程とを交互に実行し、併せて、該脱離工程で発生したガス混合物からスチームを凝縮させて水として分離する分離工程と、該分離工程で分離した水を再びスチームに変換して前記脱離工程に循環する循環工程とを実行し、前記脱離工程又は捕捉工程で発生したスチームを含むガス混合物の流れと、前記分離工程で分離した水を含む流れとの間に圧力差を設けて、両流体間で間接熱交換を行わせることを特徴とする方法。
【選択図】図4
特許請求の範囲
【請求項1】
二酸化炭素を含むガス混合物から二酸化炭素を分離及び回収する方法であって、
前記ガス混合物を二酸化炭素固体吸収材と接触させることにより該ガス混合物中の二酸化炭素を該二酸化炭素固体吸収材に捕捉させる捕捉工程と、該捕捉工程で二酸化炭素を捕捉した前記二酸化炭素固体吸収材をスチームと接触させることにより該二酸化炭素固体吸収材に捕捉された二酸化炭素を脱離させる脱離工程とを交互に実行し、併せて、
前記脱離工程で発生した二酸化炭素とスチームを含むガス混合物からスチームを凝縮させて水として分離する分離工程と、該分離工程で分離した水を蒸発させて再びスチームに変換し、これを前記脱離工程に循環して再利用する循環工程とを実行し、
前記脱離工程で発生した二酸化炭素とスチームを含むガス混合物の流れと、前記分離工程で分離した水を含む流れとの間に圧力差を設けて、両流体間で間接熱交換を行わせることを特徴とする方法。
続きを表示(約 1,100 文字)
【請求項2】
二酸化炭素を含むガス混合物から二酸化炭素を分離及び回収する方法であって、
前記ガス混合物を二酸化炭素固体吸収材と接触させることにより該ガス混合物中の二酸化炭素を該二酸化炭素固体吸収材に捕捉させる捕捉工程と、該捕捉工程で二酸化炭素を捕捉した前記二酸化炭素固体吸収材をスチームと接触させることにより該二酸化炭素固体吸収材に捕捉された二酸化炭素を脱離させる脱離工程とを交互に実行し、併せて、
前記捕捉工程で発生したスチームを含むガス混合物からスチームを凝縮させて水として分離する分離工程と、該分離工程で分離した水を蒸発させて再びスチームに変換し、これを前記脱離工程に循環して再利用する循環工程とを実行し、
前記捕捉工程で発生したスチームを含むガス混合物の流れと、前記分離工程で分離した水を含む流れとの間に圧力差を設けて、両流体間で間接熱交換を行わせることを特徴とする方法。
【請求項3】
前記二酸化炭素を含むガス混合物が大気圧下にある燃焼排ガスであり、前記捕捉工程では該燃焼排ガスを大気圧下で前記二酸化炭素固体吸収材の充填層に流通させ、前記脱離工程では該二酸化炭素固体吸収材を減圧下で100℃未満のスチームと接触させる、請求項1又は2に記載の方法。
【請求項4】
前記脱離工程では前記二酸化炭素固体吸収材を10~45kPaAの減圧下で温度80℃未満のスチームと接触させる、請求項3に記載の方法。
【請求項5】
前記脱離工程で発生した二酸化炭素とスチームを含むガス混合物の流れを加圧することにより前記圧力差を設ける、請求項1に記載の方法。
【請求項6】
前記分離工程で分離した水を含む流れを減圧することで前記圧力差を設ける、請求項2に記載の方法。
【請求項7】
前記脱離工程で発生した二酸化炭素とスチームを含むガス混合物の流れを、前記分離工程で分離した水を含む流れと間接熱交換をさせた後に更に冷却する、請求項1に記載の方法。
【請求項8】
前記捕捉工程で発生したスチームを含むガス混合物の流れを、前記分離工程で分離した水を含む流れと間接熱交換をさせた後に更に冷却する、請求項2に記載の方法。
【請求項9】
前記二酸化炭素固体吸収材が無機多孔質担体にポリアミン化合物を担持させたものである、請求項1又は2に記載の方法。
【請求項10】
前記二酸化炭素を含むガス混合物中の二酸化炭素濃度が10体積%以下である、請求項1又は2に記載の方法。
(【請求項11】以降は省略されています)
発明の詳細な説明
【技術分野】
【0001】
本発明は、二酸化炭素を含有するガスから二酸化炭素を分離・回収する方法に関する。
続きを表示(約 3,200 文字)
【背景技術】
【0002】
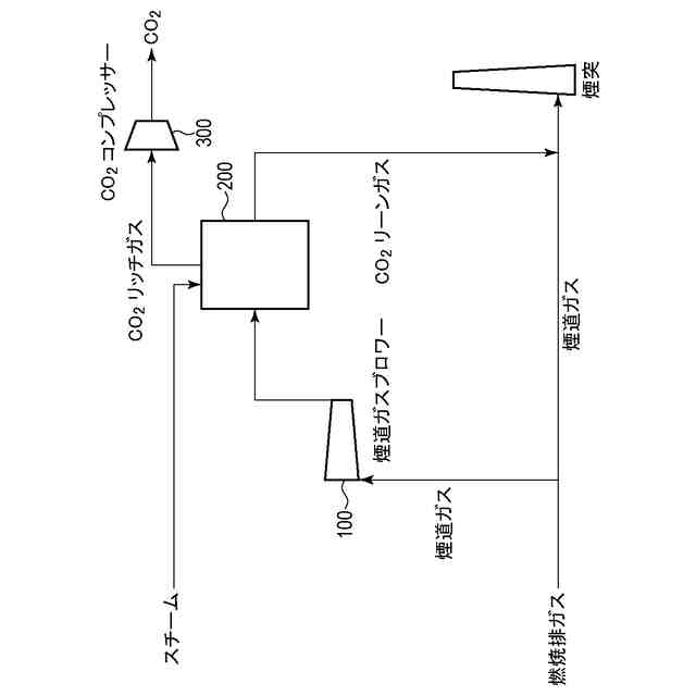
大気中の二酸化炭素濃度の上昇による地球温暖化の問題が指摘されて既に久しい。この問題を解決するため、大気中への二酸化炭素の排出量の削減が喫緊の課題となっている。大気中への二酸化炭素の排出源のうち、自動車の排気ガスとともに排出量の大きな割合を占めるものとして、ゴミ焼却場や火力発電所からの燃焼排ガスがある。このうち火力発電所では、石炭、石油、天然ガスなどの化石燃料を燃焼させてボイラーで水を加熱することにより高温高圧のスチーム(水蒸気)を作り、これを用いて蒸気タービンを駆動させることにより、その回転軸に直結させた発電機を回して発電を行うのが一般的であるが、近年では、蒸気タービンの代わりに天然ガスを燃料としてガスタービンを駆動するガスタービン発電や、そのガスタービンの燃焼排ガスの余熱を利用して発生させたスチームで更に蒸気タービンを駆動するコンバインドサイクル発電も実用化され、火力発電における熱効率の向上や発電コストの低減については相当なレベルに達しているといえる。また、これらの発電プラントからの燃焼排ガスの処理についても、除塵、脱硫、脱硝などの大気汚染防止技術は既に相当なレベルに達しているといえる。しかしながら、先に述べた大気中への二酸化炭素の排出量の削減については、化石燃料から再生可能エネルギーへの転換という側面からの検討は活発になされているが、二酸化炭素の燃焼後回収(PCC)という側面からの検討は未だ十分とはいえない現状にある。
【0003】
加えて、最近では、燃焼排ガスからの二酸化炭素の除去だけではなく、除去した二酸化炭素の回収・貯留乃至再利用(CCS乃至CCUS)が求められてきており、二酸化炭素濃度が13~14体積%である石炭炊きボイラーの燃焼排ガスからアミン吸収液を用いて二酸化炭素を分離・回収する技術が既に実用化されている。しかしながら、アミン吸収液を用いた二酸化炭素の湿式吸収プロセスは、二酸化炭素濃度が低い天然ガスの燃焼排ガスなどからの二酸化炭素の分離・回収に用いるには運転コストの面で難点があった。そこで、アミン水溶液に代わる二酸化炭素吸収材として二酸化炭素固体吸収材が開発され、これを用いた二酸化炭素の分離・回収プロセスが検討されてきた。特に、この二酸化炭素固体吸収材を再生する際に低温(100℃未満)のスチームを導入する真空スイング吸着(SA-VSA)を採用した分離・回収プロセスは、運転コストの低減にきわめて有効であることが報告されている(非特許文献1、2)。
【先行技術文献】
【特許文献】
【0004】
特開平11-147017号公報
【非特許文献】
【0005】
Chemical Engineering Journal 307 (2017) 273-282
Ind. Eng. Chem. Res. 2021, 60,9906-9914
【発明の概要】
【発明が解決しようとする課題】
【0006】
これまで検討されてきた二酸化炭素の分離・回収プロセスは、主として石炭炊きボイラーの燃焼排ガスに含まれる二酸化炭素(濃度13~14体積%)の分離・回収を狙ったものである。これに対し、石油を燃料とするボイラーからの燃焼排ガスは二酸化炭素濃度が10体積%未満、天然ガスを燃料とするボイラーやガスタービンからの燃焼排ガスは二酸化炭素濃度が6体積%未満(通常は3~4体積%)であり、石炭炊きボイラーからの燃焼排ガスに比べると二酸化炭素濃度が2分の1から4分の1程度である。このこと自体は二酸化炭素排出量の低減に寄与しているが、このような二酸化炭素濃度の低い燃焼排ガスから二酸化炭素を回収するには大量のガスを処理する必要があるため、二酸化炭素の単位回収量当たりの運転コストが増大してしまう。このため、天然ガスを燃料とするガスタービン発電プラントやコンバインドサイクル発電プラントの燃焼排ガスからの二酸化炭素の分離・回収を進めていくためには、大量の燃焼排ガスを低い運転コストで処理して二酸化炭素を分離・回収することができるプロセスが必要となる。
【0007】
上に述べたように、二酸化炭素固体吸収材を用いたSA-VSAを採用する二酸化炭素の分離・回収プロセスは、それ自体は運転コストが低い優れた手法であるが、これを、例えば、既存の火力発電(ガスタービン発電やコンバインドサイクル発電を含む)プラントに付設する場合、スペースに余裕がなく燃焼排ガスを全量処理するのに必要な規模の二酸化炭素分離・回収プラントを新たに設置することが困難な場合がある。また、建設コストや運転コストを抑えるためには再生用のスチームを当該火力発電所のスチーム供給設備に依存できることが望ましいが、それには当該二酸化炭素分離・回収プラントでのスチーム消費量を極力少なく抑えることが重要である。すなわち本発明は、二酸化炭素固体吸収材を用いたSA-VSAを採用する二酸化炭素分離・回収プロセスであって、省スペース・省エネルギー型のプロセスを提供する、という課題を解決しようとするものである。
【課題を解決するための手段】
【0008】
本発明は、二酸化炭素を含むガス混合物から二酸化炭素を分離及び回収する方法であって、前記ガス混合物を二酸化炭素固体吸収材と接触させることにより該ガス混合物中の二酸化炭素を該二酸化炭素固体吸収材に捕捉させる捕捉工程と、該捕捉工程で二酸化炭素を捕捉した前記二酸化炭素固体吸収材をスチームと接触させることにより該二酸化炭素固体吸収材に捕捉された二酸化炭素を脱離させる脱離工程とを交互に実行することを含み、加えて、前記脱離工程で発生した二酸化炭素とスチームを含むガス混合物からスチームを凝縮させて水として分離する分離工程と、該分離工程で分離した水を蒸発させて再びスチームに変換し、これを前記脱離工程に循環して再利用する循環工程とを実行し、前記脱離工程で発生した二酸化炭素とスチームを含むガス混合物の流れと、前記分離工程で分離した水を含む流れとの間に圧力差を設けて、両流体間で間接熱交換を行わせることを特徴とする方法を提供し、これにより上記課題を解決しようとするものである。
【0009】
また、本発明は、二酸化炭素を含むガス混合物から二酸化炭素を分離及び回収する方法であって、前記ガス混合物を二酸化炭素固体吸収材と接触させることにより該ガス混合物中の二酸化炭素を該二酸化炭素固体吸収材に捕捉させる捕捉工程と、該捕捉工程で二酸化炭素を捕捉した前記二酸化炭素固体吸収材をスチームと接触させることにより該二酸化炭素固体吸収材に捕捉された二酸化炭素を脱離させる脱離工程とを交互に実行することを含み、加えて、前記捕捉工程で発生したスチームを含むガス混合物からスチームを凝縮させて水として分離する分離工程と、該分離工程で分離した水を蒸発させて再びスチームに変換し、これを前記脱離工程に循環して再利用する循環工程とを実行し、前記捕捉工程で発生したスチームを含むガス混合物の流れと、前記分離工程で分離した水を含む流れとの間に圧力差を設けて、両流体間で間接熱交換を行わせることを特徴とする方法を提供し、これにより上記課題を解決しようとするものである。
【発明の効果】
【0010】
二酸化炭素を含むガス混合物、特に天然ガスを燃料とするガスタービン発電所やコンバインドサイクル発電所の燃焼排ガスから二酸化炭素を分離及び回収するのに適した、省スペース・省エネルギー型の二酸化炭素分離・回収方法が提供される。
【図面の簡単な説明】
(【0011】以降は省略されています)
この特許をJ-PlatPat(特許庁公式サイト)で参照する
関連特許
千代田化工建設株式会社
二酸化炭素の分離・回収方法
20日前
株式会社西部技研
除湿装置
1か月前
株式会社日本触媒
ドロー溶質
1か月前
プライミクス株式会社
攪拌装置
12日前
日本バイリーン株式会社
フィルタ
26日前
サンノプコ株式会社
消泡剤
1か月前
東レ株式会社
遠心ポッティング方法
1か月前
トヨタ自動車株式会社
濾過装置
27日前
株式会社切川物産
撹拌装置
13日前
トヨタ紡織株式会社
フィルタ
6日前
個人
気液混合装置
1か月前
栗田工業株式会社
ギ酸の回収方法
13日前
大和ハウス工業株式会社
反応装置
1か月前
松岡紙業 株式会社
油吸着体の製造方法
1か月前
トヨタ紡織株式会社
水流帯電装置
6日前
富士電機株式会社
ガス処理システム
1か月前
東芝ライテック株式会社
光照射装置
27日前
株式会社フクハラ
圧縮空気圧回路ユニット
1か月前
株式会社明電舎
成膜装置
1か月前
東芝ライテック株式会社
紫外線処理装置
12日前
日本化薬株式会社
直鎖ブテン製造用触媒及びその使用
1か月前
ノリタケ株式会社
触媒材料およびその利用
1か月前
本田技研工業株式会社
二酸化炭素回収装置
1か月前
本田技研工業株式会社
二酸化炭素回収装置
1か月前
本田技研工業株式会社
二酸化炭素回収装置
1か月前
本田技研工業株式会社
二酸化炭素回収装置
1か月前
株式会社ダイセル
圧力容器
4日前
ノリタケ株式会社
触媒材料およびその利用
1か月前
本田技研工業株式会社
二酸化炭素回収装置
1か月前
ノリタケ株式会社
触媒材料およびその利用
1か月前
いであ株式会社
PFAS除去用バイオ炭の製造方法
28日前
個人
フッ化炭素糸物にフッ素をコーティングした浄水手段
1か月前
東京応化工業株式会社
ろ過処理方法、及び多孔質膜
1か月前
三浦工業株式会社
撹拌装置
1か月前
株式会社プロテリアル
触媒複合物および触媒前駆体複合物
1か月前
日本碍子株式会社
電気加熱式担体
1か月前
続きを見る
他の特許を見る