TOP
|
特許
|
意匠
|
商標
特許ウォッチ
Twitter
他の特許を見る
10個以上の画像は省略されています。
公開番号
2025168792
公報種別
公開特許公報(A)
公開日
2025-11-12
出願番号
2024073549
出願日
2024-04-30
発明の名称
協調行動支援システム及び協調行動支援方法
出願人
株式会社日立製作所
代理人
弁理士法人サンネクスト国際特許事務所
主分類
G06Q
10/0631 20230101AFI20251105BHJP(計算;計数)
要約
【課題】組織の成果の予測及び/又は最大化に貢献する。
【解決手段】システムは、組織に属する複数のメンバの各々の人物特性を、当該複数のメンバの各々の人物特性を表すデータを含んだ人物特性データから特定し、当該複数のメンバの人物特性間の関係を基に組織における協調行動度合を予測する。システムは、予測された協調行動度合に関する情報を可視化する。
【選択図】図1
特許請求の範囲
【請求項1】
入力デバイスと表示デバイスとが接続されたインターフェース装置と、
記憶装置と、
前記記憶装置に接続された演算装置と
を備え、
前記記憶装置は、組織に属する複数のメンバの各々の人物特性を表すデータを含んだ人物特性データを記憶し、
前記複数のメンバの各々について、当該メンバの人物特性を表すデータは、前記入力デバイスから前記インターフェース装置経由で入力されたデータ、又は、当該入力されたデータに基づき推定されたデータであり、
前記演算装置は、
前記組織に属する前記複数のメンバの各々の人物特性を前記人物特性データから特定し、
前記複数のメンバの人物特性間の関係である人物特性関係を基に前記組織における協調行動度合を予測し、
前記インターフェース装置経由で、前記予測された協調行動度合に関する情報を前記表示デバイスに表示させる、
協調行動支援システム。
続きを表示(約 2,100 文字)
【請求項2】
前記複数のメンバの各々について、当該メンバの人物特性は、二種類以上の人物特性を含み、
前記二種類以上の人物特性は、
協調に関連する考え方及び/又は傾向に関する第1種の人物特性と、
心理特性及び/又は性格特性に関する第2種の人物特性と
を含み、
前記第1種の人物特性は、一つ以上の成分である第1種の特性で構成され、
前記第2種の人物特性は、一つ以上の成分である第2種の特性で構成され、
前記人物特性関係は、前記複数のメンバの各々についての前記一つ以上の第1種の特性と前記一つ以上の第2種の特性との関係を含む、
請求項1に記載の協調行動支援システム。
【請求項3】
前記複数のメンバの各々について、
前記一つ以上の第1種の特性の各々は、向社会性成分であり、
前記一つ以上の第2種の特性の各々は、調和性、外向性及び誠実性のうちのいずれかであり、
前記人物特性関係は、前記複数のメンバの特性組合せ間の関係を含み、
前記複数のメンバの各々について、前記特性組合せは、
調和性と向社会性成分との第1の組合せ、
外向性と向社会性成分との第2の組合せ、及び、
誠実性と向社会性成分との第3の組合せ、
のうちの少なくとも一つを含む、
請求項2に記載の協調行動支援システム。
【請求項4】
前記複数のメンバの各々について、
前記一つ以上の第1種の特性の各々は、向社会性成分の大きさを表す値であり、
前記一つ以上の第2種の特性の各々は、調和性、外向性及び誠実性のうちのいずれかの大きさを表す値であり、
前記複数のメンバの各々について、
前記第1の組合せは、調和性の大きさを表す値と向社会性成分の大きさを表す値とに基づいて算出された値であり、
前記第2の組合せは、外向性の大きさを表す値と向社会性成分の大きさを表す値とに基づいて算出された値であり、
前記第3の組合せは、誠実性の大きさを表す値と向社会性成分の大きさを表す値とに基づいて算出された値である、
請求項3に記載の協調行動支援システム。
【請求項5】
前記複数のメンバのうちの一以上のメンバの各々について、
前記演算装置は、当該メンバの前記一つ以上の第1種の特性の大きさと前記一つ以上の第2種の特性の大きさとの関係から、当該メンバを協調行動へと誘起するコンテンツである誘起コンテンツを決定し、
前記予測された協調行動度合に関する情報は、当該メンバに対して当該決定された誘起コンテンツを含む、
請求項2に記載の協調行動支援システム。
【請求項6】
前記一つ以上の第1種の特性の各々は、向社会性成分であり、
前記一つ以上の第2種の特性の各々は、調和性、外向性及び誠実性のうちのいずれかである、
請求項5に記載の協調行動支援システム。
【請求項7】
前記演算装置は、
前記複数のメンバの各々について、前記一つ以上の第1種の特性と前記一つ以上の第2種の特性との関係から、当該メンバの協調行動度合を予測し、
各メンバの予測された協調行動度合と前記組織の予測された協調行動度合との関係を基に各メンバの前記組織への適性度を推定し、
前記予測された協調行動度合に関する情報は、各メンバの推定された適性度を表す情報を含む、
請求項2に記載の協調行動支援システム。
【請求項8】
前記演算装置は、
前記複数のメンバの各々について、前記一つ以上の第1種の特性と前記一つ以上の第2種の特性との関係から、当該メンバの協調行動度合を予測し、
メンバ間の人物特性の関係と前記メンバ間の協調行動度合の関係との少なくとも一つを基に、前記メンバ間の相性を推定し、
前記予測された協調行動度合に関する情報は、前記メンバ間の推定された相性を表す情報を含む、
請求項2に記載の協調行動支援システム。
【請求項9】
組織に属する複数のメンバの各々の人物特性を、前記複数のメンバの各々の人物特性を表すデータを含んだ人物特性データから特定し、
前記複数のメンバの人物特性間の関係である人物特性関係を基に前記組織における協調行動度合を予測し、
前記予測された協調行動度合に関する情報を可視化する、
ことをコンピュータにより行う協調行動支援方法。
【請求項10】
組織に属する複数のメンバの各々の人物特性を、前記複数のメンバの各々の人物特性を表すデータを含んだ人物特性データから特定し、
前記複数のメンバの人物特性間の関係である人物特性関係を基に前記組織における協調行動度合を予測し、
前記予測された協調行動度合に関する情報を可視化する、
ことをコンピュータに実行させるコンピュータプログラム。
発明の詳細な説明
【技術分野】
【0001】
本発明は、概して、行動支援のための技術に関する。
続きを表示(約 1,700 文字)
【背景技術】
【0002】
組織全体の成果には、組織に属する各メンバの行動が影響する。特許文献1には、組織における個人の活躍を環境要因から定量的に提示する技術が開示されている。
【先行技術文献】
【特許文献】
【0003】
特開2023-038750号公報
【発明の概要】
【発明が解決しようとする課題】
【0004】
特許文献1に開示の技術は、メンバと当該メンバ以外の組織の特性をメンバ毎に評価する。このため、組織におけるメンバ本人の活躍を提示することができる。しかし、メンバ本人を含めた組織の成果の予測及び/又は最大化に貢献することは難しい。
【課題を解決するための手段】
【0005】
コンピュータが、組織に属する複数のメンバの各々の人物特性を、当該複数のメンバの各々の人物特性を表すデータを含んだ人物特性データから特定し、複数のメンバの人物特性間の関係を基に組織における協調行動度合を予測し、予測された協調行動度合に関する情報を可視化する。
【発明の効果】
【0006】
本発明によれば、組織の成果の予測及び/又は最大化に貢献することができる。
【図面の簡単な説明】
【0007】
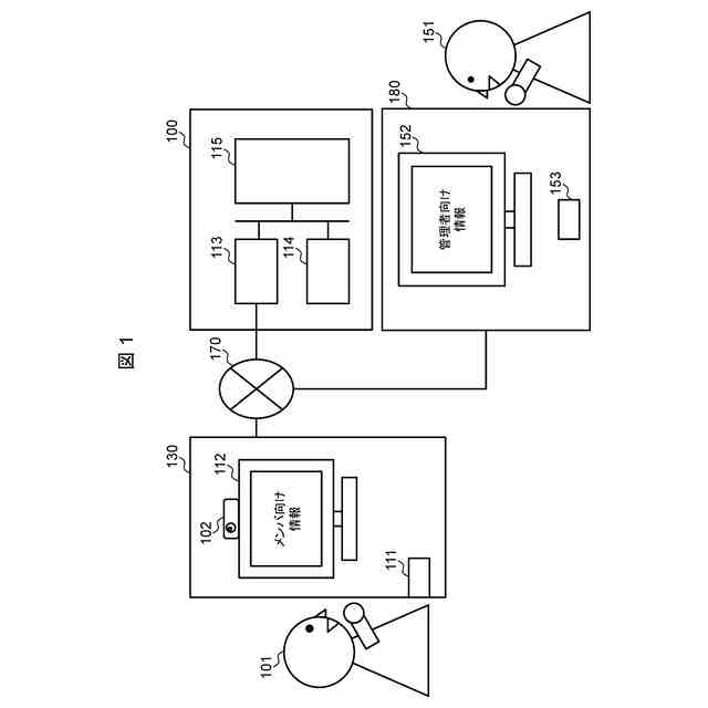
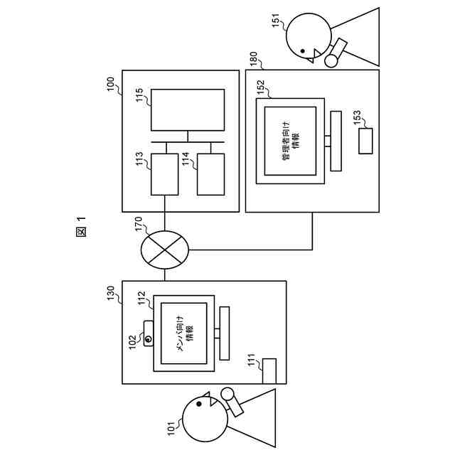
実施形態に係るシステム全体の構成例を示す。
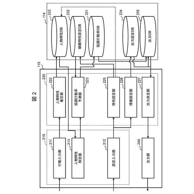
記憶装置が記憶するデータと演算装置の機能とを示す。
人物特性DBの構成例を示す。
組織特性設定DBの構成例を示す。
協調行動度合DBの構成例を示す。
出力設定DBの構成例を示す。
実施形態で行われる処理の流れの一例を示す。
メンバ向け画面の一例を示す。
管理者向け画面の一例を示す。
【発明を実施するための形態】
【0008】
以下の説明では、「インターフェース装置」は、一つ以上のインターフェースデバイスでよい。当該一つ以上のインターフェースデバイスは、下記のうちの少なくとも一つでよい。
・一つ以上のI/O(Input/Output)インターフェースデバイスであるI/Oインターフェース装置。I/O(Input/Output)インターフェースデバイスは、I/Oデバイスと遠隔の表示用計算機とのうちの少なくとも一つに対するインターフェースデバイスである。表示用計算機に対するI/Oインターフェースデバイスは、通信インターフェースデバイスでよい。少なくとも一つのI/Oデバイスは、ユーザインターフェースデバイス、例えば、キーボード及びポインティングデバイスのような入力デバイスと、表示デバイスのような出力デバイスとのうちのいずれでもよい。
・一つ以上の通信インターフェースデバイスである通信インターフェース装置。一つ以上の通信インターフェースデバイスは、一つ以上の同種の通信インターフェースデバイス(例えば一つ以上のNIC(Network Interface Card))であってもよいし二つ以上の異種の通信インターフェースデバイス(例えばNICとHBA(Host Bus Adapter))であってもよい。
【0009】
また、以下の説明では、「メモリ」は、一つ以上の記憶デバイスの一例である一つ以上のメモリデバイスであり、典型的には主記憶デバイスでよい。メモリにおける少なくとも一つのメモリデバイスは、揮発性メモリデバイスであってもよいし不揮発性メモリデバイスであってもよい。
【0010】
また、以下の説明では、「永続記憶装置」は、一つ以上の記憶デバイスの一例である一つ以上の永続記憶デバイスでよい。永続記憶デバイスは、典型的には、不揮発性の記憶デバイス(例えば補助記憶デバイス)でよく、具体的には、例えば、HDD(Hard Disk Drive)、SSD(Solid State Drive)、NVME(Non-Volatile Memory Express)ドライブ、又は、SCM(Storage Class Memory)でよい。
(【0011】以降は省略されています)
この特許をJ-PlatPat(特許庁公式サイト)で参照する
関連特許
個人
詐欺保険
1か月前
個人
縁伊達ポイン
1か月前
個人
5掛けポイント
6日前
個人
RFタグシート
17日前
個人
ペルソナ認証方式
14日前
個人
地球保全システム
1か月前
個人
QRコードの彩色
1か月前
個人
情報処理装置
9日前
個人
自動調理装置
16日前
個人
表変換編集支援システム
2か月前
個人
農作物用途分配システム
29日前
個人
残土処理システム
1か月前
個人
インターネットの利用構造
13日前
個人
知的財産出願支援システム
1か月前
個人
タッチパネル操作指代替具
23日前
個人
サービス情報提供システム
1日前
個人
行動時間管理システム
2か月前
個人
パスワード管理支援システム
2か月前
個人
スケジュール調整プログラム
22日前
個人
携帯端末障害問合せシステム
22日前
株式会社キーエンス
受発注システム
1か月前
個人
海外支援型農作物活用システム
1か月前
個人
AIキャラクター制御システム
2か月前
株式会社キーエンス
受発注システム
1か月前
個人
エリアガイドナビAIシステム
14日前
個人
システム及びプログラム
1か月前
株式会社キーエンス
受発注システム
1か月前
個人
食品レシピ生成システム
1か月前
個人
人格進化型対話応答制御システム
2か月前
個人
音声対話型帳票生成支援システム
2か月前
トヨタ自動車株式会社
通知装置
20日前
キヤノン株式会社
印刷システム
22日前
株式会社ケアコム
項目選択装置
9日前
株式会社ケアコム
項目選択装置
9日前
株式会社ワコム
電子ペン
8日前
大同特殊鋼株式会社
疵判定方法
1か月前
続きを見る
他の特許を見る