TOP
|
特許
|
意匠
|
商標
特許ウォッチ
Twitter
他の特許を見る
公開番号
2025168537
公報種別
公開特許公報(A)
公開日
2025-11-07
出願番号
2025147331,2021565637
出願日
2025-09-05,2020-12-17
発明の名称
情報処理装置、読解支援方法およびプログラム
出願人
株式会社レゾナック
代理人
弁理士法人ITOH
主分類
G06F
40/279 20200101AFI20251030BHJP(計算;計数)
要約
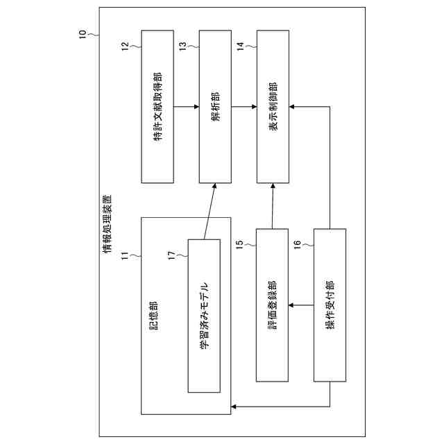
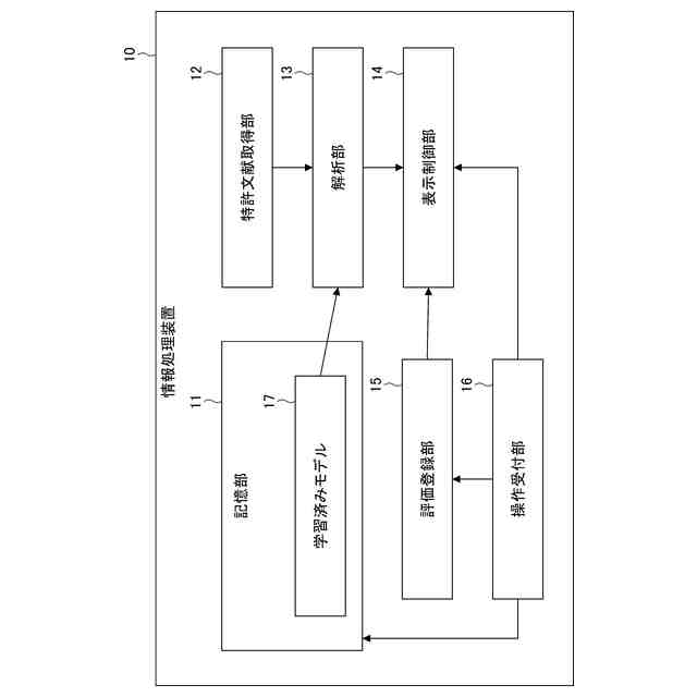
【課題】特許請求の範囲の記載の迅速かつ正確な読解を支援する。
【解決手段】特許文献データに含まれる特許請求の範囲を示すテキストデータを解析して、前記特許請求の範囲に含まれる請求項ごとに、発明の構成要件を特定する解析部と、前記特許請求の範囲の各請求項を示すテキストを、前記構成要件ごとに分割して表示装置に表示させる表示制御部と、を備える情報処理装置である。
【選択図】図3
特許請求の範囲
【請求項1】
特許文献データに含まれる特許請求の範囲を示すテキストデータを解析して、前記特許請求の範囲に含まれる請求項ごとに、発明の構成要件を特定する解析部と、
前記特許請求の範囲の各請求項を示すテキストを、前記構成要件ごとに分割して表示装置に表示させる表示制御部と、を備え、
前記解析部は、前記特許請求の範囲を示す前記テキストデータの中に繰り返し記載されている用語である重要語をさらに特定し、
前記表示制御部は、前記特許請求の範囲の各請求項を示すテキストの中で、前記重要語を示すテキストを強調して前記表示装置に表示させる、
情報処理装置。
続きを表示(約 1,100 文字)
【請求項2】
前記重要語は、前記特許請求の範囲を示す前記テキストデータの中に繰り返し記載されている技術用語または専門用語である、
請求項1に記載の情報処理装置。
【請求項3】
前記重要語は、前記特許請求の範囲を示す前記テキストデータの中に説明が記載されている用語である、
請求項1または2に記載の情報処理装置。
【請求項4】
前記重要語は、発明に関連する用語である、
請求項1から3のいずれかに記載の情報処理装置。
【請求項5】
前記解析部は、特許請求の範囲を示すテキストデータを入力すると、各請求項が独立請求項である確度及び従属請求項である確度を出力する学習済みモデルを用いて、前記特許文献データに含まれる前記特許請求の範囲を示す前記テキストデータを解析して、前記特許請求の範囲に含まれる請求項の従属関係を特定し、
前記表示制御部は、特定された前記従属関係に基づいて、前記特許請求の範囲に含まれる独立請求項を示すテキストを前記表示装置に表示させる、
請求項1から4のいずれかに記載の情報処理装置。
【請求項6】
コンピュータが、
特許文献データに含まれる特許請求の範囲を示すテキストデータを解析して、前記特許請求の範囲に含まれる請求項ごとに、発明の構成要件を特定するステップと、
前記特許請求の範囲の各請求項を示すテキストを、前記構成要件ごとに分割して表示装置に表示させるステップと、
を実行し、
前記特定するステップは、前記特許請求の範囲を示す前記テキストデータの中に繰り返し記載されている用語である重要語をさらに特定し、
前記表示させるステップは、前記特許請求の範囲の各請求項を示すテキストの中で、前記重要語を示すテキストを強調して前記表示装置に表示させる、
読解支援方法。
【請求項7】
コンピュータに、
特許文献データに含まれる特許請求の範囲を示すテキストデータを解析して、前記特許請求の範囲に含まれる請求項ごとに、発明の構成要件を特定するステップと、
前記特許請求の範囲の各請求項を示すテキストを、前記構成要件ごとに分割して表示装置に表示させるステップと、
を実行させ、
前記特定するステップは、前記特許請求の範囲を示す前記テキストデータの中に繰り返し記載されている用語である重要語をさらに特定し、
前記表示させるステップは、前記特許請求の範囲の各請求項を示すテキストの中で、前記重要語を示すテキストを強調して前記表示装置に表示させる、
プログラム。
発明の詳細な説明
【技術分野】
【0001】
本発明は、情報処理装置、読解支援方法およびプログラムに関する。
続きを表示(約 1,700 文字)
【背景技術】
【0002】
従来から、特許文献の読解を支援する技術が開発されている。特に、特許文献に含まれる特許請求の範囲の記載は、一般の文書に比べて難解な場合が多い。そのため、特許文献、特に特許請求の範囲の記載の読解を支援する技術が研究されている。
【0003】
例えば、特許文献1には、特許請求の範囲の記載の中から指定された文字列が示す要素と、当該要素の下位の要素との関係を示す図を出力する装置が開示されている。また、特許文献2には、特許請求の範囲の記載を文節ごとに区切り、区切られた複数の記述断片の関係を構造化した情報を生成する装置が開示されている。
【先行技術文献】
【特許文献】
【0004】
特開2014-219833号公報
特開2012-003517号公報
【発明の概要】
【発明が解決しようとする課題】
【0005】
調査、研究等のさまざまな業務の目的で、特許文献を読解する作業が行われている。そのような業務においては、大量の特許文献を読解する必要に迫られる場合が多く、特許請求の範囲の記載を迅速かつ正確に読解することが重要である。
【0006】
しかしながら、特許文献1または特許文献2に開示された技術は、大量の特許文献を読解するとき、特許請求の範囲の記載を一目で把握することはできず、読解の迅速性に欠ける。
【0007】
特許文献1開示の発明は、設定された規則に従って、特許請求の範囲の記載を複数の要素に分割し、分割した要素間の関係を抽出することにより特許請求の範囲の記載の構造解析を行い、特許請求の範囲の記載に含まれる文字列の指定を受け付け、構造解析により得られた文書の構造情報から指定された文字列に対応する構造情報を抽出する情報抽出し、抽出された構造情報を図式化して出力することにより、読解支援する。
【0008】
特許文献2開示の発明は、特許請求項のテキストが区切られた記述断片と当該記述断片の構造とを示す請求項構造情報を生成する請求項構造情報生成装置であって、特許請求項のテキストである特許請求項情報が記憶される記憶部と、特許請求項情報を形態素解析する形態素解析部と、特許請求項情報の文節の区切位置を特定する文節特定部と、記述断片の区切となると共に記述断片間の関係を示す表層の手がかり情報と、表層の手がかり情報に対応するトークンとを有する表層区切情報が2以上記憶される表層区切情報記憶部と、特許請求項情報において、表層の手かがり情報に該当する位置に、表層の手がかり情報に対応するトークンを付与するトークン付与部と、記述断片の区切となる文節の品詞の手がかり情報と、品詞の手がかり情報に対応する区切文節タイプとを有する文節タイプ対応情報が2以上記憶される文節タイプ対応情報記憶部と、特許請求項情報において、品詞の手がかり情報に該当する文節に、品詞の手がかり情報に対応する区切文節タイプを付与する区切文節タイプ付与部と、特許請求項情報に付与されたトークンと区切文節タイプとを用い、あらかじめ規定されている特許請求項の構造を示す規則に応じて、特許請求項情報の記述断片の構造を示す請求項構造情報を生成する生成部と、生成部が生成した請求項構造情報を出力する出力部と、を備えることにより、より深い構造を持つ特許請求項について構造解析を行う。
【0009】
このように、特許文献1または特許文献2に開示された技術は、ひとつの特許文献の開示内容を深く読解する目的には適しているものの、特許請求の範囲の記載の可読性の向上という目的には特化していないため、大量の特許文献を読解する必要がある場合において、特許請求の範囲の記載を十分に迅速かつ正確に読解するという目的には適していない。
【0010】
本発明は、上記事情に鑑みてこれを解決すべくなされたものであり、特許請求の範囲の記載の迅速かつ正確な読解を支援することを目的としている。
【課題を解決するための手段】
(【0011】以降は省略されています)
この特許をJ-PlatPat(特許庁公式サイト)で参照する
関連特許
株式会社レゾナック
不織布製造用ポリアミドイミド樹脂組成物
1日前
株式会社レゾナック
研磨液、研磨方法、部品の製造方法、及び、半導体部品の製造方法
1日前
株式会社レゾナック
感光性樹脂組成物、感光性エレメント、プリント配線板、及びプリント配線板の製造方法
1日前
株式会社レゾナック
プライマー、プライマー層付き基板、プライマー層付き基板の製造方法、半導体装置及び半導体装置の製造方法
9日前
個人
詐欺保険
1か月前
個人
縁伊達ポイン
1か月前
個人
5掛けポイント
22日前
個人
RFタグシート
1か月前
個人
職業自動販売機
15日前
個人
QRコードの彩色
1か月前
個人
ペルソナ認証方式
1か月前
個人
地球保全システム
1か月前
個人
自動調理装置
1か月前
個人
情報処理装置
25日前
個人
冷凍食品輸出支援構造
2か月前
個人
為替ポイント伊達夢貯
2か月前
個人
残土処理システム
1か月前
個人
農作物用途分配システム
1か月前
個人
表変換編集支援システム
2か月前
個人
知財出願支援AIシステム
2か月前
個人
サービス情報提供システム
17日前
個人
インターネットの利用構造
29日前
個人
知的財産出願支援システム
1か月前
個人
タッチパネル操作指代替具
1か月前
個人
携帯端末障害問合せシステム
1か月前
個人
スケジュール調整プログラム
1か月前
個人
行動時間管理システム
2か月前
個人
AIによる情報の売買の仲介
2か月前
個人
パスワード管理支援システム
2か月前
株式会社アジラ
進入判定装置
3か月前
個人
AIキャラクター制御システム
2か月前
個人
食品レシピ生成システム
1か月前
株式会社キーエンス
受発注システム
1か月前
株式会社キーエンス
受発注システム
1か月前
個人
海外支援型農作物活用システム
2か月前
株式会社キーエンス
受発注システム
1か月前
続きを見る
他の特許を見る