TOP
|
特許
|
意匠
|
商標
特許ウォッチ
Twitter
他の特許を見る
10個以上の画像は省略されています。
公開番号
2025168533
公報種別
公開特許公報(A)
公開日
2025-11-07
出願番号
2025147202,2023039199
出願日
2025-09-04,2023-03-14
発明の名称
画像形成装置
出願人
キヤノン株式会社
代理人
個人
,
個人
,
個人
,
個人
,
個人
主分類
G03G
15/08 20060101AFI20251030BHJP(写真;映画;光波以外の波を使用する類似技術;電子写真;ホログラフイ)
要約
【課題】 画像形成装置の一形態を提供することができる。
【解決手段】 第1現像容器と第1現像ローラを有する第1現像ユニットと、第2現像容器と第2現像ローラを有する第2現像ユニットと、第1トナー容器を着脱可能であり第1受入口が設けられた第1受入枠体を有する第1装着部と、第2トナー容器を着脱可能であり第2受入口が設けられた第2受入枠体を有する第2装着部と、前記第1装着部の下方にあって前記第1受入口と連通する第1中間収容部と、前記第2装着部の下方にあって前記第2受入口と連通する第2中間収容部と、前記第1中間収容部から前記第1現像容器まで延びる第1搬送路と、前記第1搬送路を介してトナーを搬送する第1搬送手段と、前記第2中間収容部から前記第1現像容器まで延びる第2搬送路と、前記第2搬送路を介してトナーを搬送する第2搬送手段と、を備えることを特徴とする。
【選択図】 図9
特許請求の範囲
【請求項1】
記録媒体にトナー画像を形成する画像形成装置であって、
第1トナーを収容するように構成された第1現像容器と、前記第1現像容器に収容された前記第1トナーを担持するように構成された第1現像ローラと、を有する第1現像ユニットと、
第2トナーを収容するように構成された第2現像容器と、前記第2現像容器に収容された前記第2トナーを担持するように構成された第2現像ローラと、有する第2現像ユニットであって、重力方向に交差する第1方向において前記第1現像ユニットと整列する第2現像ユニットと、
前記トナー画像が形成された記録材を前記第1方向に沿う排出方向に搬送することによって画像形成装置の外部へ排出する排出ローラを備える装置本体と、
前記第1トナーを収容する第1トナー容器であって、前記装着本体に対して着脱可能な第1トナー容器と、
前記第2トナーを収容する第2トナー容器であって、前記重力方向と前記第1方向の双方に交差する第2方向において前記第1トナー容器と整列し、前記装置本体に対して着脱可能な第2トナー容器と、
を備え、
前記排出方向の下流側の前記装置本体の端を正面側端とし、前記第2方向おける前記装置本体の一端及び他端をそれぞれ第1端及び第2端とする場合において、
前記装置本体は、
前記第1トナー容器と、前記第1現像容器と、の双方に連通されるように構成され、前記第1トナー容器から前記第1現像容器に向かって搬送される前記第1トナーが通過するように構成された第1搬送路であって、前記第2方向において前記第1端の側にある第1部分を有する第1搬送路と、
前記第2トナー容器と、前記第2現像容器と、の双方に連通されるように構成され、前記第2トナー容器から前記第2現像容器に向かって搬送される前記第2トナーが通過するように構成された第2搬送路であって、前記第2方向において前記第1端の側にある第2部分を有する第2搬送路と、
を有し、
前記第1トナー容器及び前記第2トナー容器は、前記第1方向において、前記装置本体の前記正面側端の側に設けられ、
前記重力方向にみたときに、前記第1搬送路の前記第1部分は、前記第2搬送路の前記第2部分とオーバラップする、
ことを特徴とする画像形成装置。
続きを表示(約 830 文字)
【請求項2】
前記装置本体は、前記第1搬送路において、前記第1トナーを搬送するように回転する第1搬送部材と、前記第1搬送部材で搬送されたトナーを搬送するように回転する第2搬送部材と、を有し、
前記第1搬送部材の回転軸線が延びる方向と、前記第2搬送部材の回転軸線が延びる方向と、は交差する、
ことを特徴とする請求項1に記載の画像形成装置。
【請求項3】
前記第1トナー容器と、前記第2トナー容器と、はそれぞれ、前記装置本体に対して前記第1方向に着脱されるように構成されている、
ことを特徴とする請求項1に記載の画像形成装置。
【請求項4】
前記第1トナー容器の少なくとも一部は、前記第1現像ユニットの上方にあり、
前記第2トナー容器の少なくとも一部は、前記第2現像ユニットの上方にあり、
前記第1方向と前記第2方向の双方に交差する方向を第3方向とした場合において、
前記第1搬送路は、前記第3方向に延びる部分を有し、
前記第2搬送路は、前記第3方向に延びる部分を有する、
ことを特徴とする請求項1に記載の画像形成装置。
【請求項5】
前記第1搬送路の前記第3方向に延びる部分は、前記第1方向にみたときに前記第1トナー容器とオーバラップし、
前記第2搬送路の前記第3方向に延びる部分は、前記第1方向にみたときに前記第2トナー容器とオーバラップする、
ことを特徴とする請求項4に記載の画像形成装置。
【請求項6】
前記装置本体は、前記第1トナー容器と前記第2トナー容器のそれぞれが装着可能な第1ホルダと第2ホルダを有し、
前記第1ホルダと、前記第2ホルダと、はいずれも、前記第2方向に垂直な断面が前記正面側端の側を向いた開口が設けられたコの字形状を有する、
ことを特徴とする請求項3に記載の画像形成装置。
発明の詳細な説明
【技術分野】
【0001】
本発明は、画像形成装置に関する。
続きを表示(約 2,600 文字)
【背景技術】
【0002】
電子写真方式の画像形成装置において、画像形成装置に着脱可能なトナー容器を用いてトナーを画像形成装置内の現像容器に補給する構成が知られている。特許文献1には、画像形成装置に補給パックを装着することで、現像容器の交換を行うことなく、容易にトナーの補給を行うことができる構成が開示されている。
【先行技術文献】
【特許文献】
【0003】
特開2020-154300
【発明の概要】
【発明が解決しようとする課題】
【0004】
本発明は、画像形成装置の一形態を提供することを目的とする。
【課題を解決するための手段】
【0005】
本発明の第1の側面は、記録媒体にトナー画像を形成する画像形成装置であって、
第1トナーを収容するように構成された第1現像容器と、前記第1現像容器に収容された前記第1トナーを担持するように構成された第1現像ローラと、を有する第1現像ユニットと、第2トナーを収容するように構成された第2現像容器と、前記第2現像容器に収容された前記第2トナーを担持するように構成された第2現像ローラと、有する第2現像ユニットであって、重力方向に交差する第1方向において前記第1現像ユニットと整列する第2現像ユニットと、前記トナー画像が形成された記録材を前記第1方向に沿う排出方向に搬送することによって画像形成装置の外部へ排出する排出ローラを備える装置本体と、前記第1トナーを収容する第1トナー容器であって、前記装着本体に対して着脱可能な第1トナー容器と、前記第2トナーを収容する第2トナー容器であって、前記重力方向と前記第1方向の双方に交差する第2方向において前記第1トナー容器と整列し、前記装置本体に対して着脱可能な第2トナー容器と、を備え、前記排出方向の下流側の前記装置本体の端を正面側端とし、前記第2方向おける前記装置本体の一端及び他端をそれぞれ第1端及び第2端とする場合において、前記装置本体は、前記第1トナー容器と、前記第1現像容器と、の双方に連通されるように構成され、前記第1トナー容器から前記第1現像容器に向かって搬送される前記第1トナーが通過するように構成された第1搬送路であって、前記第2方向において前記第1端の側にある第1部分を有する第1搬送路と、前記第2トナー容器と、前記第2現像容器と、の双方に連通されるように構成され、前記第2トナー容器から前記第2現像容器に向かって搬送される前記第2トナーが通過するように構成された第2搬送路であって、前記第2方向において前記第1端の側にある第2部分を有する第2搬送路と、を有し、前記第1トナー容器及び前記第2トナー容器は、前記第1方向において、前記装置本体の前記正面側端の側に設けられ、前記重力方向にみたときに、前記第1搬送路の前記第1部分は、前記第2搬送路の前記第2部分とオーバラップする、ことを特徴とする。
【発明の効果】
【0006】
本発明によれば、画像形成装置の一形態を提供することができる。
【図面の簡単な説明】
【0007】
実施例1に係る画像形成装置の断面図である。
実施例1に係る画像形成装置の斜視図である。
実施例1に係る装着部の上面図である。
実施例1に係る装着部の斜視図である。
実施例1に係る補給パックの斜視図である。
実施例1に係る補給パックの分解斜視図である。
実施例1に係る、補給パックを装着した状態の装着部の上面図である。
実施例1に係る、装着部及び引き出しユニットの斜視図及び上面図である。
実施例1に係る、前ドア、装着部、装着部及びリザーブタンク及び引き出しユニットの斜視図及び上面図である。
実施例1に係る、補給パックと装着部とリザーブタンクの断面図である。
実施例1に係る、レーザスキャナユニット及び引き出しユニットの断面図である。
実施例1に係る、レーザスキャナユニット及びトナー搬送路及びカートリッジの断面図である。
実施例2に係る、レーザスキャナユニット及びトナー搬送路及びカートリッジの断面図である。
実施例3に係る画像形成装置の斜視図である。
実施例3の変形例に係る画像形成装置の斜視図である。
実施例4に係る画像形成装置の斜視図である。
実施例4に係るレーザスキャナユニットと引き出しユニットの断面図及び斜視図である。
実施例5に係る画像形成装置とカートリッジの斜視図である。
実施例3に係る、画像読取ユニットが取り付けられた画像形成装置の斜視図である。
【発明を実施するための形態】
【0008】
以下に図面を参照して、この発明を実施するための形態を、実施例に基づいて例示的に詳しく説明する。ただし、この実施の形態に記載されている構成部品の寸法、材質、形状それらの相対配置などは、発明が適用される装置の構成や各種条件により適宜変更されるべきものである。すなわち、この発明の範囲を以下の実施の形態に限定する趣旨のものではない。
【実施例】
【0009】
[画像形成装置]
本発明の実施例1に係る画像形成装置1について図1を用いて説明する。本実施例の電子写真方式の画像形成装置は、4色のプロセスカートリッジを備えたフルカラー画像形成装置である。図1は、画像形成装置1の主断面である。
【0010】
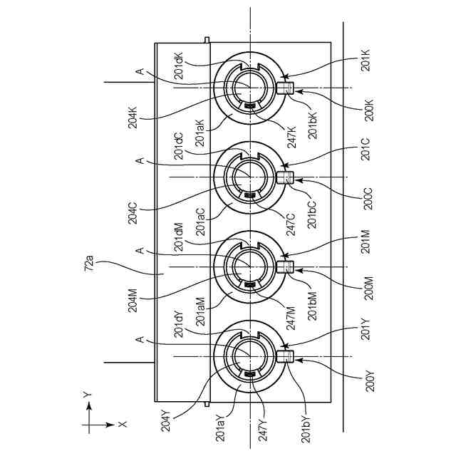
画像形成装置1は、電子写真プロセスを用いたフルカラーレーザプリンタであり、記録媒体Sにフルカラーの画像形成を行うことができる。画像形成装置1は、プロセスカートリッジP(PY、PM、PC、PK)(以下、カートリッジPと称す)と、装置本体72と、を備える。ここで、カートリッジP(PY、PM、PC、PK)をそれぞれ、第1カートリッジPY、第1カートリッジPM、第1カートリッジPC、第1カートリッジPKとする。4つのカートリッジPは、第1の方向Xに並ぶように配置され、内部に収容されているトナーの色が互いに異なる。カートリッジPの長手方向は、第1の方向に垂直な第2の方向Yである。
(【0011】以降は省略されています)
この特許をJ-PlatPat(特許庁公式サイト)で参照する
関連特許
キヤノン株式会社
容器
1か月前
キヤノン株式会社
容器
1か月前
キヤノン株式会社
トナー
1か月前
キヤノン株式会社
トナー
1か月前
キヤノン株式会社
記録装置
1か月前
キヤノン株式会社
撮像装置
3日前
キヤノン株式会社
撮像装置
3日前
キヤノン株式会社
電子機器
1か月前
キヤノン株式会社
記録装置
1か月前
キヤノン株式会社
電子機器
1か月前
キヤノン株式会社
雲台装置
1か月前
キヤノン株式会社
記録装置
24日前
キヤノン株式会社
定着装置
18日前
キヤノン株式会社
撮像装置
18日前
キヤノン株式会社
発光装置
10日前
キヤノン株式会社
撮像装置
3日前
キヤノン株式会社
撮像装置
3日前
キヤノン株式会社
表示装置
10日前
キヤノン株式会社
撮像装置
1か月前
キヤノン株式会社
表示装置
3日前
キヤノン株式会社
記録装置
4日前
キヤノン株式会社
記録装置
4日前
キヤノン株式会社
定着装置
24日前
キヤノン株式会社
表示装置
10日前
キヤノン株式会社
電子機器
26日前
キヤノン株式会社
撮像装置
26日前
キヤノン株式会社
定着装置
24日前
キヤノン株式会社
定着装置
24日前
キヤノン株式会社
現像装置
1か月前
キヤノン株式会社
記録装置
1か月前
キヤノン株式会社
二次電池
5日前
キヤノン株式会社
撮像装置
3日前
キヤノン株式会社
撮像装置
1か月前
キヤノン株式会社
撮像装置
18日前
キヤノン株式会社
表示装置
10日前
キヤノン株式会社
表示装置
1か月前
続きを見る
他の特許を見る