TOP
|
特許
|
意匠
|
商標
特許ウォッチ
Twitter
他の特許を見る
公開番号
2025168421
公報種別
公開特許公報(A)
公開日
2025-11-07
出願番号
2025139333,2021177014
出願日
2025-08-25,2021-10-29
発明の名称
発信機
出願人
ニッタン株式会社
代理人
個人
,
個人
主分類
G08B
17/00 20060101AFI20251030BHJP(信号)
要約
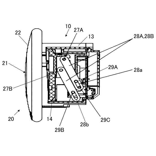
【課題】建物の内装との調和がとれ違和感が生じにくくなり、もって美観を向上させることができる発信機を提供する。
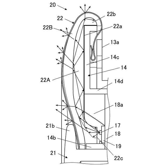
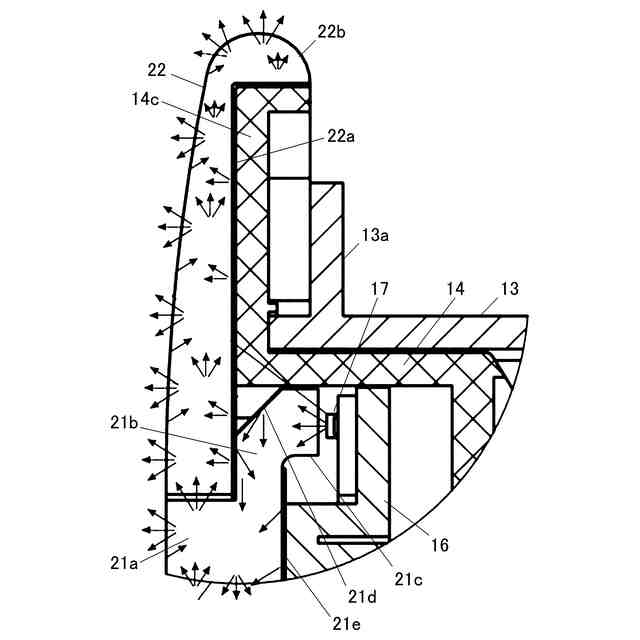
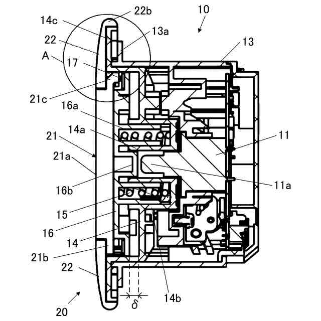
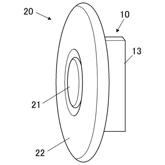
【解決手段】オン、オフ動作可能なスイッチ(11)を内蔵した収納ケース(13)を有する発信機本体部(10)と、前記スイッチを作動させる押しボタン(21)を有する前面パネル部(20)とを備えた発信機において、前記前面パネル部は、導光材で構成され中央に開口を有する放光部(22)を備え、前記押しボタンは鍔部を有し前面パネル部の前記開口に配設され、押しボタンの鍔部の背後に複数の発光素子(17)が周方向に配設され、複数の発光素子から発せられた光が放光部の前面以外の部位から入射され、放光部の内部を通過して該放光部の前面より放出されるように構成した。
【選択図】図1
特許請求の範囲
【請求項1】
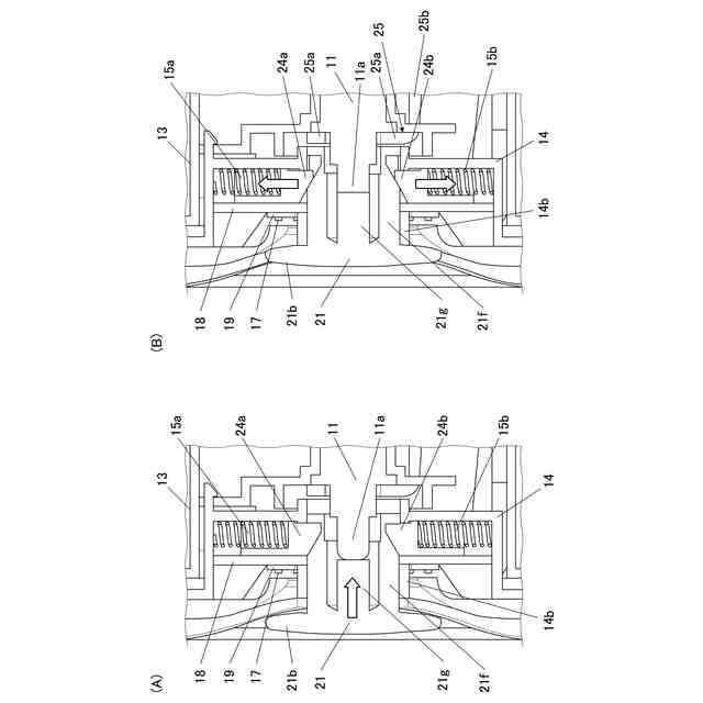
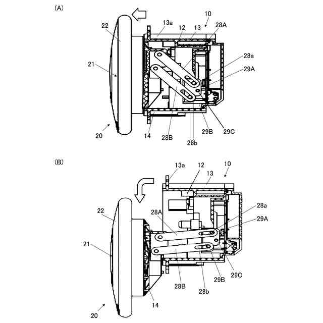
オン、オフ動作可能なスイッチを内蔵した収納ケースを有する発信機本体部と、前記スイッチを作動させる押しボタンを有する前面パネル部とを備えた発信機であって、
前記前面パネル部は、導光材で構成され中央に開口を有する放光部を備え、前記押しボタンは鍔部を有し前記前面パネル部の前記開口に配設され、
前記押しボタンの前記鍔部の背後に複数の発光素子が周方向に配設され、
前記複数の発光素子から発せられた光が前記放光部の前面以外の部位から入射され、前記放光部の内部を通過して該放光部の前面より放出されるように構成されていることを特徴とする発信機。
続きを表示(約 1,100 文字)
【請求項2】
前記押しボタンは導光材で構成され、前記複数の発光素子から発せられた光が前記押しボタンの前記鍔部に入射され、前記押しボタンの内部を通過して該押しボタンの前面より放出されるように構成されていることを特徴とする請求項1に記載の発信機。
【請求項3】
前記押しボタンは、前記鍔部を除く部位が前記開口に臨むように配設され、
前記放光部は前記開口のある内縁部が前記押しボタンの前記鍔部の前方に位置し、前記複数の発光素子から発せられ前記鍔部に入射された光の一部が前記放光部の内部を通過して該放光部の前面より放出されるように構成されていることを特徴とする請求項2に記載の発信機。
【請求項4】
前記鍔部の前記複数の発光素子に対向する部位には、前記発光素子へ向かって突出する柱状の光導入部が形成され、
前記鍔部の前記光導入部の入光端面と反対側は傾斜面部が形成され、前記光導入部に入射された光は、前記傾斜面部で反射して前記押しボタンの中央部の方向へ導光されるように構成されていることを特徴とする請求項3に記載の発信機。
【請求項5】
少なくとも前記押しボタンの背面および前記放光部の背面に光反射加工が施されていることを特徴とする請求項2~4のいずれかに記載の発信機。
【請求項6】
前記押しボタンは非透光材で構成され、前記鍔部が前記前面パネル部の前記開口に臨むように配設され、
前記放光部は、前記開口のある内縁部が内側へ湾曲して前記押しボタンの前記鍔部の背後まで延設され、前記複数の発光素子から発せられた光は前記押しボタンの前記延設された部位の端面に入射され当該前記放光部の内部を通過して該放光部の前面より放出されるように構成されていることを特徴とする請求項1に記載の発信機。
【請求項7】
前記放光部は、透光性の保形部材と該保形部材の表面を覆う光散乱シートとにより形成されていることを特徴とする請求項6に記載の発信機。
【請求項8】
前記放光部の外縁部には庇部が設けられ、
前記放光部に入射され当該前記放光部の内部を通過した光の一部が前記庇部より側方へ放出されるように構成されていることを特徴とする請求項2~7のいずれかに記載の発信機。
【請求項9】
前記押しボタンは透光材で構成され、前記押しボタンの背部には前記複数の発光素子とは発光色の異なる第2の発光素子および導光部材が配設されており、
前記押しボタンが操作されて前記スイッチが作動されると、前記第2の発光素子が点灯され、前記導光部材および前記押しボタンの内部を通過して該押しボタンの前面より光が放出されるように構成されていることを特徴とする請求項1に記載の発信機。
発明の詳細な説明
【技術分野】
【0001】
本発明は、緊急報知用の発信機に関し、例えば建物の壁部に設けられ火災発生時に操作されることで警報を発するための火災報知用の発信機に利用して有効な技術に関する。
続きを表示(約 2,100 文字)
【背景技術】
【0002】
建物内部には火災の発生を知らせるために、火災報知システムが設けられている。火災報知システムは、火災感知器や押しボタン式スイッチを備えた手動の火災報知用の発信機、受信機、火災報知用のベル、表示灯などから構成され、このうち火災報知用の発信機は建物の廊下等の壁面に適切な高さで設置されている。火災発生時には、発見者が火災報知用の発信機の押しボタン式スイッチを強く押すことにより、火災発生を知らせる信号が受信機に伝送されると共に、発信機の近傍に設けられるベルから警報音が発せられて、周囲の人に対し火災発生を知らせることができる。
【0003】
従来の火災報知用発信機は、室内露出部分を覆う円盤状の前面パネル部を発信機本体の前面に備えたものが一般的であり、発信機本体は上記押しボタン式スイッチが内蔵されており、建物の壁面に埋め込むように設置される。さらに、離れたとこからでもまた暗がりであっても発見し易いように、火災報知用発信機の近傍に砲弾状をなす表示灯が設けられていた。
一方、近年、前面が平坦もしくは円盤状をなすフラットタイプの表示灯や、表示灯が一体に構成された火災報知用発信機も実用化されている。表示灯が一体に構成された火災報知用発信機に関する発明としては、例えば特許文献1や2に記載されているものがある。
【先行技術文献】
【特許文献】
【0004】
特開2020-144951号公報
特開2021-152944号公報
【発明の概要】
【発明が解決しようとする課題】
【0005】
特許文献1や2に記載されている火災報知用発信機は、前面に設けられている表示灯と押しボタンの各部品同士の境界が視覚的にはっきりと分かるような形態で構成されている。一方、近年、建物内部のデザイン性に対する要求が高くなってきており、各部品の境界がはっきりと分かる発信機は、建物の内壁に設置した際に、内装との調和がとれず違和感が生じる場合がある。
【0006】
また、特許文献1や2に記載されている発信機本体と表示灯が一体に構成された火災報知用発信機は、表示灯が発信機本体の周囲全体を囲むリング状に構成され表示灯のみが発光するため、充分な視認性を確保しようとすると全体が大型になってしまう一方、発信機の小型化を優先すると、表示灯の面積が小さくなって視認性が低下したり、押しボタンが小さくなって操作性が悪くなってしまうという課題があった。
【0007】
本発明は上記のような課題に着目してなされたもので、その目的とするところは、発信機本体と表示灯が一体に構成された場合に小型化を優先したとしても、発光表示面積が小さくなって視認性が低下することがないとともに、押しボタンの操作性が悪くなることのない発信機を提供することにある。
本発明の他の目的は、建物の内装との調和がとれ違和感が生じにくくなり、もって美観を向上させることができる発信機を提供することにある。
【課題を解決するための手段】
【0008】
上記課題を解決するために、本発明は、
オン、オフ動作可能なスイッチを内蔵した収納ケースを有する発信機本体部と、前記スイッチを作動させる押しボタンを有する前面パネル部とを備えた発信機であって、
前記前面パネル部は、導光材で構成され中央に開口を有する放光部を備え、前記押しボタンは鍔部を有し前記前面パネル部の前記開口に配設され、
前記押しボタンの前記鍔部の背後に複数の発光素子が周方向に配設され、
前記複数の発光素子から発せられた光が前記放光部の前面以外の部位から入射され、前記放光部の内部を通過して該放光部の前面より放出されるように構成したものである。
【0009】
上記構成によれば、発信機本体と表示灯とが一体に構成された発信機において、前面パネル部の放光部全体が発光して表示部として機能する。そのため、小型化を優先したとしても、発光表示面積が小さくなって視認性が低下することがないとともに、発信機の前面パネル部の大きさが従来のものと同程度あれば、押しボタンを相対的に大きくすることできそれによって押しボタンの操作性が悪くなるのを防止することができる。
【0010】
ここで、望ましくは、前記押しボタンは導光材で構成され、前記複数の発光素子から発せられた光が前記押しボタンの前記鍔部に入射され、前記押しボタンの内部を通過して該押しボタンの前面より放出されるように構成する。
かかる構成によれば、押しボタンの周囲の放光部の他、押しボタン自身を発光表示させることができるため、発光表示面積が大きくなり小型化が可能になるとともに、押しボタンと放光部との境界が分かりにくくなり、それによって発信機と建物の内装との調和がとれ、違和感が生じにくくなり、美観が向上するようになる。
(【0011】以降は省略されています)
この特許をJ-PlatPat(特許庁公式サイト)で参照する
関連特許
個人
安全支援装置
1か月前
株式会社SUBARU
車両
1か月前
日本信号株式会社
車両検知装置
2日前
ニッタン株式会社
検知器
2か月前
個人
磁気路上での車両の路線離脱防御
2か月前
日本無線株式会社
船舶システム
1か月前
トヨタ自動車株式会社
サーバ
1か月前
ダイハツ工業株式会社
移動支援装置
1か月前
大阪瓦斯株式会社
音声出力システム
2か月前
株式会社SUBARU
運転支援装置
2か月前
株式会社デンソー
運航管理装置
1か月前
三菱自動車工業株式会社
制御システム
2か月前
株式会社CCT
通信装置及び表示方法
2か月前
株式会社 ミックウェア
車内環境制御システム
1か月前
株式会社SUBARU
事故情報収集装置
1か月前
株式会社SUBARU
車室内異常検知装置
1か月前
トヨタ自動車株式会社
通信システム
10日前
株式会社デンソー
運転評価支援装置
9日前
ホーチキ株式会社
火災検出システム
2か月前
オ,ウォンチョル
交通信号システム
9日前
株式会社関電工
車両運行通知システム
1か月前
能美防災株式会社
火災感知器及び火災報知システム
1か月前
大阪瓦斯株式会社
音声出力装置
2か月前
株式会社アイシン
運転支援装置
2か月前
オムロン株式会社
センサシステム
1か月前
本田技研工業株式会社
作業システム
1か月前
トヨタ自動車株式会社
方法
1か月前
能美防災株式会社
着脱式避難誘導灯
1か月前
株式会社スターオークス
補助信号機及び信号機
1か月前
コイト電工株式会社
情報処理装置
1か月前
グローリー株式会社
監視システム
9日前
オムロン株式会社
センサシステム
1か月前
オムロン株式会社
センサシステム
1か月前
株式会社アイシン
運転支援装置
1か月前
トヨタ自動車株式会社
情報処理装置
1か月前
能美防災株式会社
表示装置
1か月前
続きを見る
他の特許を見る