TOP
|
特許
|
意匠
|
商標
特許ウォッチ
Twitter
他の特許を見る
10個以上の画像は省略されています。
公開番号
2025168418
公報種別
公開特許公報(A)
公開日
2025-11-07
出願番号
2025139046,2024073383
出願日
2025-08-22,2013-09-10
発明の名称
半導体装置
出願人
株式会社半導体エネルギー研究所
代理人
主分類
H10B
12/00 20230101AFI20251030BHJP()
要約
【課題】トランジスタのオン特性を向上させ、高速応答、高速駆動を実現できる半導体装
置を提供する。かつ、信頼性が高く、安定した電気特性を示す半導体装置を作製する。
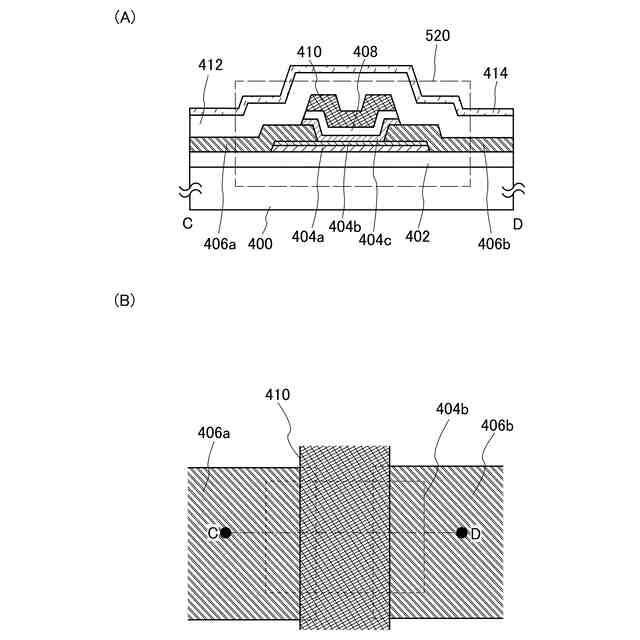
【解決手段】第1の酸化物層と、第1の酸化物層上の酸化物半導体層と、酸化物半導体層
に接するソース電極層及びドレイン電極層と、酸化物半導体層上の第2の酸化物層と、第
2の酸化物層上のゲート絶縁層と、ゲート絶縁層上のゲート電極層と、を有し、第2の酸
化物層の端部及びゲート絶縁層の端部はソース電極層及びドレイン電極層と重畳するトラ
ンジスタを有する半導体装置である。
【選択図】図1
特許請求の範囲
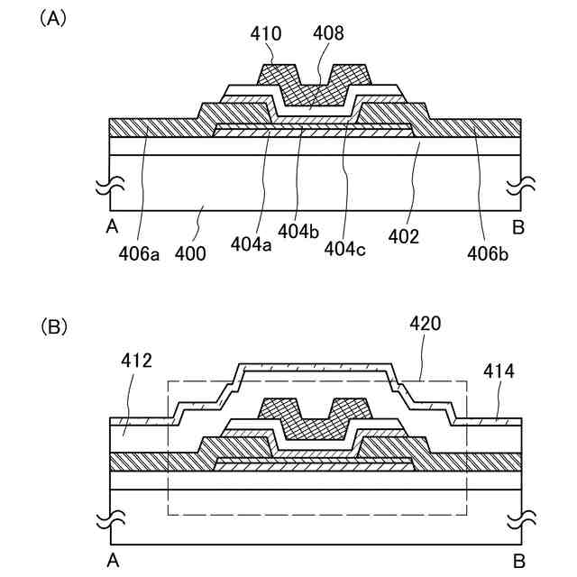
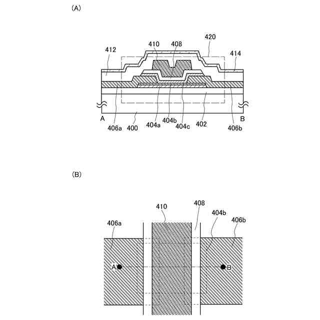
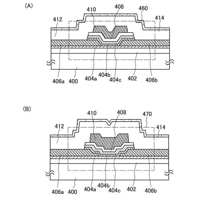
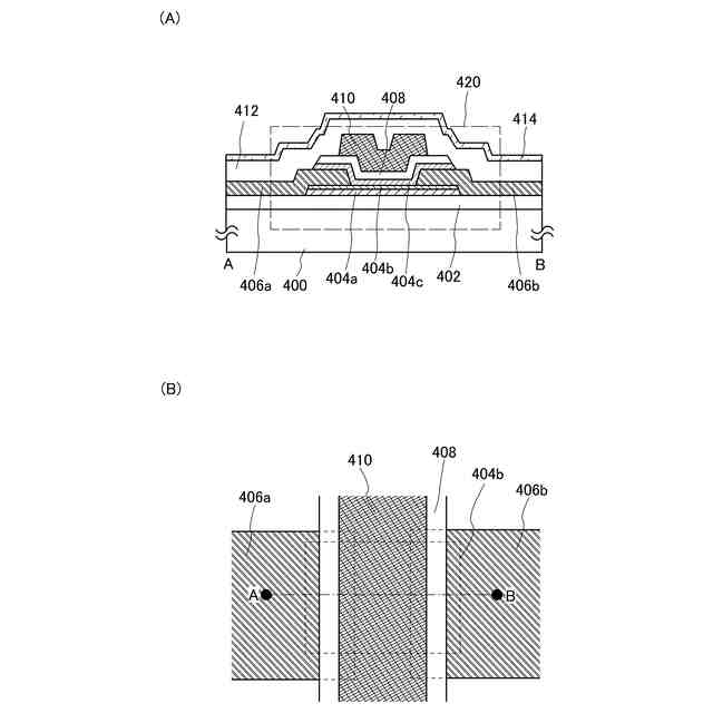
【請求項1】
第1の酸化物層と、
前記第1の酸化物層上の酸化物半導体層と、
前記酸化物半導体層に接するソース電極層及びドレイン電極層と、
前記酸化物半導体層、前記ソース電極層及び前記ドレイン電極層上の第2の酸化物層と、
前記第2の酸化物層上のゲート絶縁層と、
前記ゲート絶縁層上のゲート電極層と、を有し、
前記第2の酸化物層の端部及びゲート絶縁層の端部は前記ソース電極層及び前記ドレイン電極層と重畳する半導体装置。
発明の詳細な説明
【技術分野】
【0001】
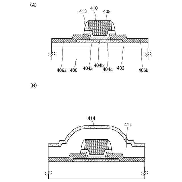
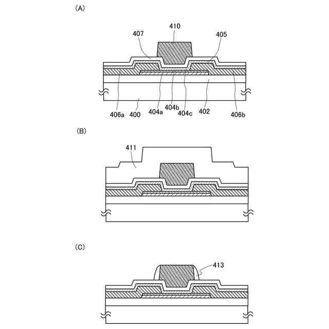
本発明は半導体装置及び半導体装置の作製方法に関する。
続きを表示(約 1,300 文字)
【0002】
なお、本明細書中において半導体装置とは、半導体特性を利用することで機能しうる装置
全般を指し、電気光学装置、半導体回路及び電気機器は全て半導体装置である。
【背景技術】
【0003】
絶縁表面を有する基板上に形成された半導体薄膜を用いてトランジスタ(薄膜トランジス
タともいう)を構成する技術が注目されている。該トランジスタは集積回路(IC)や、
画像表示装置(表示装置)のような電子デバイスに広く応用されている。トランジスタに
適用可能な半導体薄膜としてシリコン系半導体材料が広く知られているが、その他の材料
として酸化物を用いた半導体材料が注目されている。
【0004】
例えば、In(インジウム)、Ga(ガリウム)、Zn(亜鉛)を含む酸化物(酸化物半
導体)を用いたトランジスタが特許文献1に開示されている。
【0005】
また、酸化物半導体層をチャネル形成領域に用いたトランジスタは、酸化物半導体層から
酸素が脱離することによって生じる酸素欠損(酸素欠陥)によってキャリアが発生する。
そこで、酸素を過剰に含む酸化シリコン膜から放出された酸素を酸化物半導体層に供給し
、酸化物半導体層の酸素欠損を補填することで、電気特性の変動が小さく、信頼性の高い
半導体装置を提供できることが知られている(特許文献2)。
【先行技術文献】
【特許文献】
【0006】
特開2006-165528号公報
特開2012-19207号公報
【発明の概要】
【発明が解決しようとする課題】
【0007】
酸化物半導体をチャネル形成領域に用いたトランジスタは、酸化物半導体に水素等の不純
物が入り込むことによってもキャリアが発生する。また、シリコン等の不純物が入り込む
ことによって、酸素欠損が生じ、キャリアが発生する。
【0008】
酸化物半導体にキャリアが生じることによって、トランジスタのオフ電流の増大、しきい
値電圧のばらつきの増大等が起こり、トランジスタの電気特性が変動し、半導体装置の信
頼性が低下する。
【0009】
また、トランジスタを用いた集積回路の大規模化に伴い、回路の高速駆動、高速応答が求
められている。トランジスタのオン特性(例えば、オン電流や電界効果移動度)を向上さ
せることによって、高速駆動、高速応答が可能なより高性能な半導体装置を提供すること
ができる。
【0010】
上記の問題に鑑み、本発明の一態様はトランジスタのオン特性を向上させ、高速応答、高
速駆動を実現できる半導体装置を提供することを目的の一とする。また、信頼性が高く、
安定した電気特性を示す半導体装置を作製することを目的の一とする。
【課題を解決するための手段】
(【0011】以降は省略されています)
この特許をJ-PlatPat(特許庁公式サイト)で参照する
関連特許
個人
積和演算用集積回路
1か月前
サンケン電気株式会社
半導体装置
1か月前
エイブリック株式会社
縦型ホール素子
1か月前
エイブリック株式会社
縦型ホール素子
1か月前
旭化成株式会社
発光素子
1か月前
日機装株式会社
半導体発光装置
26日前
ローム株式会社
半導体装置
10日前
ローム株式会社
抵抗チップ
1か月前
富士電機株式会社
半導体装置
1か月前
株式会社半導体エネルギー研究所
表示装置
1か月前
株式会社半導体エネルギー研究所
表示装置
10日前
三菱電機株式会社
半導体装置
5日前
株式会社東芝
半導体装置
18日前
三菱電機株式会社
半導体装置
18日前
三菱電機株式会社
半導体装置
1か月前
日亜化学工業株式会社
発光装置
1か月前
ローム株式会社
半導体集積回路
1か月前
ローム株式会社
半導体装置
1か月前
サンケン電気株式会社
半導体装置
18日前
ローム株式会社
窒化物半導体装置
1か月前
富士電機株式会社
半導体装置の製造方法
1か月前
株式会社半導体エネルギー研究所
発光デバイス
26日前
ローム株式会社
半導体装置
3日前
株式会社半導体エネルギー研究所
発光デバイス
1か月前
ローム株式会社
半導体装置
1か月前
ローム株式会社
半導体装置
1か月前
大日本印刷株式会社
太陽電池
1か月前
日亜化学工業株式会社
発光素子
1か月前
新電元工業株式会社
半導体素子
3日前
新電元工業株式会社
半導体素子
3日前
新電元工業株式会社
半導体素子
3日前
日亜化学工業株式会社
発光素子
1か月前
ローム株式会社
半導体装置
18日前
日亜化学工業株式会社
発光装置
3日前
日亜化学工業株式会社
発光装置
1か月前
日本ゼオン株式会社
構造体
1か月前
続きを見る
他の特許を見る