TOP
|
特許
|
意匠
|
商標
特許ウォッチ
Twitter
他の特許を見る
10個以上の画像は省略されています。
公開番号
2025168382
公報種別
公開特許公報(A)
公開日
2025-11-07
出願番号
2025137606,2022533254
出願日
2025-08-21,2021-06-24
発明の名称
表示装置
出願人
株式会社半導体エネルギー研究所
代理人
主分類
H10K
59/82 20230101AFI20251030BHJP()
要約
【課題】光検出機能を有する表示装置を提供する。光検出感度の高い表示装置を提供する。
【解決手段】表示装置は、受光素子と、発光素子と、導電層と、第1の配線と、を有する。受光素子は、第1の画素電極、共通層、活性層、及び、共通電極を有する。発光素子は、第2の画素電極、共通層、発光層、及び、共通電極を有する。導電層は、第1の画素電極及び第2の画素電極と同一面上に設けられ、第1の画素電極及び第2の画素電極の間に位置し、共通層と電気的に接続され、第1の電位が与えられる第1の配線と電気的に接続される。共通層は、第1の画素電極と重なる部分と、第2の画素電極と重なる部分と、導電層と重なる部分と、を有する。共通電極は、第1の画素電極と重なる部分と、第2の画素電極と重なる部分と、を有する。第1の配線は、導電層とは異なる面上に設けられる。
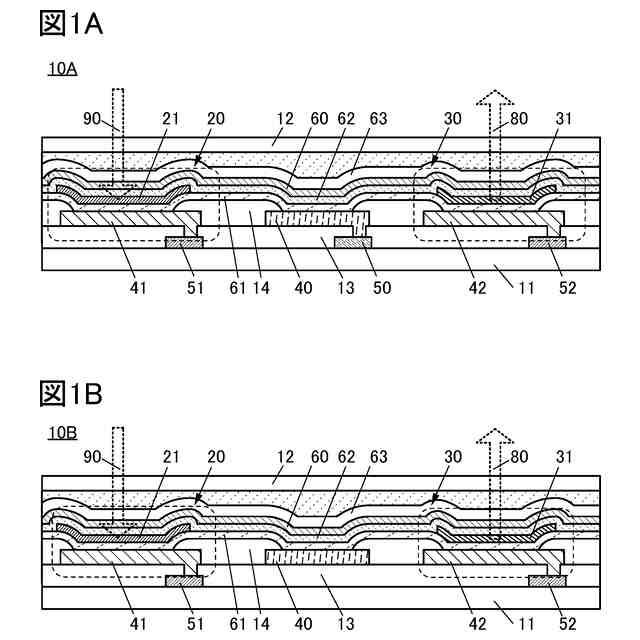
【選択図】図1
特許請求の範囲
【請求項1】
受光素子と、発光素子と、導電層と、第1の配線と、を有し、
前記受光素子は、第1の画素電極、前記第1の画素電極上の共通層、前記共通層上の活性層、及び、前記活性層上の共通電極を有し、
前記発光素子は、第2の画素電極、前記第2の画素電極上の前記共通層、前記共通層上の発光層、及び、前記発光層上の前記共通電極を有し、
前記導電層は、前記第1の画素電極及び前記第2の画素電極と同一面上に設けられ、前記第1の画素電極及び前記第2の画素電極の間に位置し、前記共通層と電気的に接続され、第1の電位が与えられる前記第1の配線と電気的に接続され、
前記共通層は、前記第1の画素電極と重なる部分と、前記第2の画素電極と重なる部分と、前記導電層と重なる部分と、を有し、
前記共通電極は、前記第1の画素電極と重なる部分と、前記第2の画素電極と重なる部分と、を有し、
前記第1の配線は、前記導電層とは異なる面上に設けられる、表示装置。
発明の詳細な説明
【技術分野】
【0001】
本発明の一態様は、表示装置、表示モジュール、及び電子機器に関する。本発明の一態様は、発光素子(発光デバイスともいう)と受光素子(受光デバイスともいう)とを備える表示装置に関する。本発明の一態様は、認証機能を備える表示装置に関する。本発明の一態様は、タッチパネルに関する。本発明の一態様は、表示装置を備えるシステムに関する。
続きを表示(約 1,800 文字)
【0002】
なお、本発明の一態様は、上記の技術分野に限定されない。本明細書等で開示する本発明の一態様の技術分野としては、半導体装置、表示装置、発光装置、蓄電装置、記憶装置、電子機器、照明装置、入力装置、入出力装置、撮像装置、それらの駆動方法、又はそれらの製造方法、を一例として挙げることができる。半導体装置は、半導体特性を利用することで機能しうる装置全般を指す。
【背景技術】
【0003】
近年、表示装置は様々な用途への応用が期待されている。例えば、大型の表示装置の用途としては、家庭用のテレビジョン装置(テレビまたはテレビジョン受信機ともいう)、デジタルサイネージ(Digital Signage:電子看板)、PID(Public Information Display)等が挙げられる。また、携帯情報端末として、タッチパネルを備えるスマートフォン、タブレット端末の開発が進められている。
【0004】
表示装置としては、例えば、発光素子を有する発光装置が開発されている。エレクトロルミネッセンス(Electroluminescence、以下ELと記す)現象を利用した発光素子(EL素子とも記す)は、薄型軽量化が容易である、入力信号に対し高速に応答可能である、直流定電圧電源を用いて駆動可能である等の特徴を有し、表示装置に応用されている。例えば、特許文献1に、有機EL素子が適用された、可撓性を有する発光装置が開示されている。
【先行技術文献】
【特許文献】
【0005】
特開2014-197522号公報
【発明の概要】
【発明が解決しようとする課題】
【0006】
本発明の一態様は、光検出機能を有する表示装置を提供することを課題の一とする。または、光検出機能を有し、かつ、信頼性の高い表示装置を提供することを課題の一とする。または、多機能の表示装置を提供することを課題の一とする。または、表示品位の高い表示装置を提供することを課題の一とする。または、光検出感度の高い表示装置を提供することを課題の一とする。または、新規な表示装置を提供することを課題の一とする。
【0007】
また、本発明の一態様は、光検出精度の高い表示装置を提供することを課題の一とする。または、明瞭な画像の撮像が可能な表示装置を提供することを課題の一とする。または、タッチパネルとしての機能を有する表示装置を提供することを課題の一とする。
【0008】
なお、これらの課題の記載は、他の課題の存在を妨げるものではない。なお、本発明の一態様は、これらの課題の全てを解決する必要はないものとする。なお、これら以外の課題は、明細書、図面、請求項などの記載から抽出することが可能である。
【課題を解決するための手段】
【0009】
本発明の一態様は、受光素子と、発光素子と、導電層と、第1の配線と、を有する表示装置である。受光素子は、第1の画素電極、第1の画素電極上の共通層、共通層上の活性層、及び、活性層上の共通電極を有する。発光素子は、第2の画素電極、第2の画素電極上の共通層、共通層上の発光層、及び、発光層上の共通電極を有する。導電層は、第1の画素電極及び第2の画素電極と同一面上に設けられ、第1の画素電極及び第2の画素電極の間に位置し、共通層と電気的に接続され、第1の電位が与えられる第1の配線と電気的に接続される。共通層は、第1の画素電極と重なる部分と、第2の画素電極と重なる部分と、導電層と重なる部分と、を有する。共通電極は、第1の画素電極と重なる部分と、第2の画素電極と重なる部分と、を有する。第1の配線は、導電層とは異なる面上に設けられる。
【0010】
また、上記において、第1のトランジスタと、第2のトランジスタとを有することが好ましい。また、第1の画素電極には、第1のトランジスタを介して第1の電位以下の第2の電位が与えられることが好ましい。また、第2の画素電極には、第2のトランジスタを介して第1の電位以上の第3の電位が与えられることが好ましい。さらに、共通電極には、第1の電位が与えられることが好ましい。
(【0011】以降は省略されています)
この特許をJ-PlatPat(特許庁公式サイト)で参照する
関連特許
個人
積和演算用集積回路
1か月前
サンケン電気株式会社
半導体装置
1か月前
旭化成株式会社
発光素子
1か月前
日機装株式会社
半導体発光装置
25日前
ローム株式会社
抵抗チップ
1か月前
ローム株式会社
半導体装置
9日前
三菱電機株式会社
半導体装置
17日前
三菱電機株式会社
半導体装置
1か月前
富士電機株式会社
半導体装置
1か月前
株式会社東芝
半導体装置
17日前
三菱電機株式会社
半導体装置
4日前
株式会社半導体エネルギー研究所
表示装置
9日前
日亜化学工業株式会社
発光装置
1か月前
ローム株式会社
半導体集積回路
1か月前
ローム株式会社
窒化物半導体装置
1か月前
サンケン電気株式会社
半導体装置
17日前
株式会社半導体エネルギー研究所
発光デバイス
25日前
ローム株式会社
半導体装置
2日前
ローム株式会社
半導体装置
1か月前
ローム株式会社
半導体装置
1か月前
富士電機株式会社
半導体装置の製造方法
1か月前
ローム株式会社
半導体装置
1か月前
株式会社半導体エネルギー研究所
発光デバイス
1か月前
大日本印刷株式会社
太陽電池
1か月前
日亜化学工業株式会社
発光素子
1か月前
新電元工業株式会社
半導体素子
2日前
新電元工業株式会社
半導体素子
2日前
新電元工業株式会社
半導体素子
2日前
ローム株式会社
光センサ
1か月前
今泉工業株式会社
光発電装置及びその製造方法
1か月前
日亜化学工業株式会社
発光装置
1か月前
日本ゼオン株式会社
構造体
1か月前
日亜化学工業株式会社
発光装置
1か月前
日亜化学工業株式会社
発光素子
1か月前
ローム株式会社
半導体装置
17日前
日亜化学工業株式会社
発光装置
2日前
続きを見る
他の特許を見る