TOP
|
特許
|
意匠
|
商標
特許ウォッチ
Twitter
他の特許を見る
公開番号
2025168209
公報種別
公開特許公報(A)
公開日
2025-11-07
出願番号
2024218162
出願日
2024-12-12
発明の名称
コネクタ
出願人
日本航空電子工業株式会社
代理人
弁理士法人海田国際特許事務所
主分類
H01R
12/71 20110101AFI20251030BHJP(基本的電気素子)
要約
【課題】コネクタを大型化することなく、電源用端子の電流容量を大きくする。
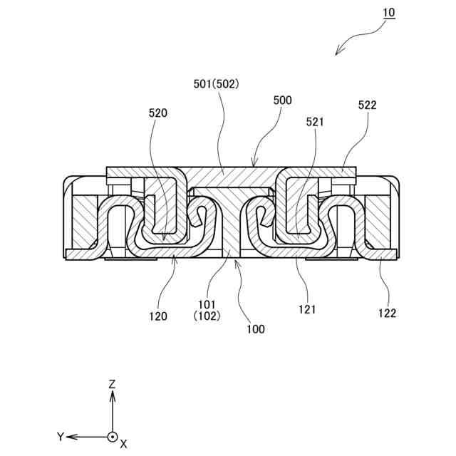
【解決手段】コネクタ10は、第1コネクタハウジング101の同じ列に整列する第1コネクタ側信号用端子120と第1コネクタ側電源用端子110を含む第1コネクタ100と、第2コネクタハウジング501の同じ列に整列する第2コネクタ側信号用端子520と第2コネクタ側電源用端子510を含む第2コネクタ500と、を備える。第1コネクタ側信号用端子120および第1コネクタ側電源用端子110は、金属板をU字形に折り曲げて形成された接触部121,111を有し、第2コネクタ側信号用端子520は、金属板をU字形に折り曲げて形成された接触部521を有し、第2コネクタ側電源用端子510は、第2コネクタ側信号用端子520よりも厚い金属板からなるI字形に形成された接触部511を有する。
【選択図】図8
特許請求の範囲
【請求項1】
第1コネクタハウジングの同じ列に整列する第1コネクタ側信号用端子と第1コネクタ側電源用端子を含む第1コネクタと、第2コネクタハウジングの同じ列に整列する第2コネクタ側信号用端子と第2コネクタ側電源用端子を含む第2コネクタと、を備え、
前記第1コネクタハウジングと前記第2コネクタハウジングとを嵌合させることで、前記第1コネクタ側信号用端子と前記第2コネクタ側信号用端子とが接触するとともに、前記第1コネクタ側電源用端子と前記第2コネクタ側電源用端子とが接触するコネクタであって、
前記第1コネクタ側信号用端子および前記第1コネクタ側電源用端子は、金属板をU字形に折り曲げて形成された接触部を有し、
前記第2コネクタ側信号用端子は、金属板をU字形に折り曲げて形成された接触部を有し、
前記第2コネクタ側電源用端子は、前記第2コネクタ側信号用端子よりも厚い金属板からなるI字形に形成された接触部を有し、
前記第1コネクタハウジングと前記第2コネクタハウジングとの嵌合時には、
前記第2コネクタ側信号用端子のU字形の接触部が前記第1コネクタ側信号用端子のU字形の接触部に挟まれて接触し、
前記第2コネクタ側電源用端子のI字形の接触部が前記第1コネクタ側電源用端子のU字形の接触部に挟まれて接触することを特徴とするコネクタ。
続きを表示(約 1,400 文字)
【請求項2】
請求項1に記載のコネクタであって、
前記第2コネクタ側電源用端子は、金属板をL字形に折り曲げて全体が形成されていることを特徴とするコネクタ。
【請求項3】
請求項1又は2に記載のコネクタであって、
前記第2コネクタ側電源用端子の嵌合方向の高さは、前記第2コネクタ側信号用端子の嵌合方向の高さよりも低いことを特徴とするコネクタ。
【請求項4】
請求項1又は2に記載のコネクタであって、
前記第2コネクタ側電源用端子の両脇は、樹脂製である前記第2コネクタハウジングの長手方向に埋め込まれていることを特徴とするコネクタ。
【請求項5】
請求項1又は2に記載のコネクタであって、
前記第2コネクタ側電源用端子は、前記第2コネクタ側信号用端子よりも幅広となっていることを特徴とするコネクタ。
【請求項6】
第1コネクタハウジングの同じ列に整列する第1コネクタ側信号用端子と第1コネクタ側電源用端子を含む第1コネクタと、第2コネクタハウジングの同じ列に整列する第2コネクタ側信号用端子と第2コネクタ側電源用端子を含む第2コネクタと、を備え、
前記第1コネクタハウジングと前記第2コネクタハウジングとを嵌合させることで、前記第1コネクタ側信号用端子と前記第2コネクタ側信号用端子とが接触するとともに、前記第1コネクタ側電源用端子と前記第2コネクタ側電源用端子とが接触するコネクタであって、
前記第1コネクタ側信号用端子および前記第1コネクタ側電源用端子は、金属板をU字形に折り曲げて形成された接触部を有し、
前記第2コネクタ側信号用端子は、金属板をU字形に折り曲げて形成された接触部を有し、
前記第2コネクタ側電源用端子は、前記第2コネクタ側信号用端子よりも厚い金属板からなるI字形に形成された接触部を有し、
前記第1コネクタハウジングと前記第2コネクタハウジングとの嵌合時には、
前記第2コネクタ側信号用端子のU字形の接触部が前記第1コネクタ側信号用端子のU字形の接触部に挟まれて接触し、
前記第2コネクタ側電源用端子のI字形の接触部が前記第1コネクタ側電源用端子のU字形の接触部に挟まれて接触し、
前記第2コネクタ側電源用端子は、金属板をL字形に折り曲げて全体が形成されるとともに、少なくとも1以上の切り欠き部を有することを特徴とするコネクタ。
【請求項7】
請求項6に記載のコネクタであって、
前記切り欠き部は、前記第2コネクタ側電源用端子を形成するL字形に折り曲げて全体が形成される金属板の厚さ方向に抜ける貫通穴又は貫通溝であることを特徴とするコネクタ。
【請求項8】
請求項6又は7に記載のコネクタであって、
前記切り欠き部には、前記第2コネクタハウジングの少なくとも一部を構成する樹脂材料が充填されることを特徴とするコネクタ。
【請求項9】
請求項6又は7に記載のコネクタであって、
前記第2コネクタ側電源用端子の嵌合方向の両脇の端部は、除去加工によって面取り形状部が形成されるとともに、当該面取り形状部の少なくとも一部が樹脂製である前記第2コネクタハウジングの長手方向に埋め込まれていることを特徴とするコネクタ。
発明の詳細な説明
【技術分野】
【0001】
本開示は、コネクタに関するものである。
続きを表示(約 2,300 文字)
【背景技術】
【0002】
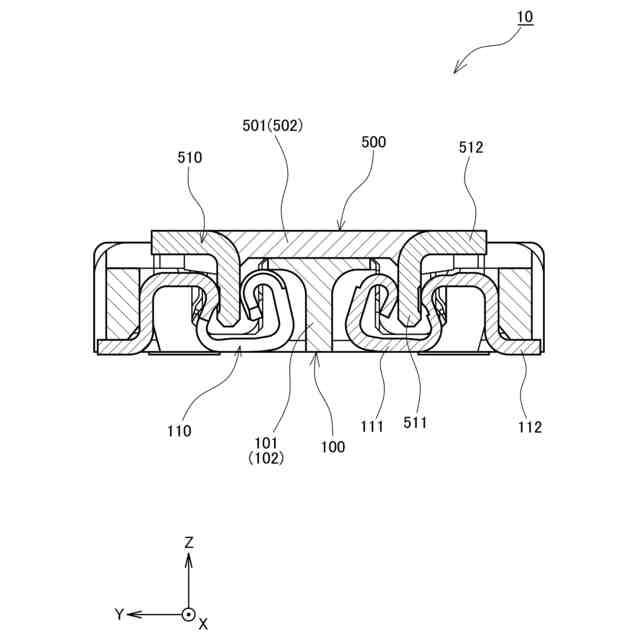
従来から、レセプタクルコネクタのハウジングとプラグコネクタのハウジングとを嵌合させることで、互いに対応する端子同士を接触させて電気的接続状態を得るコネクタが公知である。この種のコネクタを開示する先行技術文献としては、例えば、下記特許文献1が存在する。特許文献1に開示されたコネクタ(10)は、図42~図44に示すように、プラグコネクタであるヘッダ(20)と、レセプタクルコネクタであるソケット(30)からなり、ヘッダ(20)はヘッダ側信号用端子(22)とヘッダ側電源用端子(23)を備え、ソケット(30)はソケット側信号用端子(32)とソケット側電源用端子(33)を備える。
【0003】
特許文献1に記載されたコネクタ(10)では、電源線から供給される電流は信号線から供給される電流よりも大きいので、ヘッダ側電源用端子(23)は、ヘッダハウジング(21)の長手方向(X)に沿った幅が、ヘッダ側信号用端子(22)の長手方向(X)に沿った幅よりも広くなるように形成されている。また、ソケット側電源用端子(33)は、ソケットハウジング(31)の長手方向(X)に沿った幅が、ソケット側信号用端子(32)の長手方向(X)に沿った幅よりも広くなるように形成されている。そして、特許文献1によれば、ソケット側信号用端子(32)の断面形状とソケット側電源用端子(33)の断面形状とは略同一形状をしており、ヘッダ側信号用端子(22)の断面形状とヘッダ側電源用端子(23)の断面形状とは略同一形状をしているが、電源用端子を信号用端子よりも幅広とすることで端子の断面積を増加させることができるため、電流容量を増加させることができるとされている。なお、先行技術文献の説明に関する符号については、括弧を付けることで本願開示の各実施形態と区別した。
【先行技術文献】
【特許文献】
【0004】
特開2018-166120号公報
【発明の概要】
【発明が解決しようとする課題】
【0005】
しかしながら、上記特許文献1に開示された従来のコネクタは、電流容量が電源用端子の幅方向の寸法に依存しているので、端子の断面積を大きくして電流容量を大きくするためにはコネクタの寸法も大きくなるという課題が存在していた。
【0006】
よって本開示は、従来例の電源用端子よりも幅方向の寸法を大きくすることなく、電流容量を大きくできる構成を実現することで、コネクタを大型化することなく、電源用端子の電流容量を大きくできるコネクタを提供することを目的とする。
【課題を解決するための手段】
【0007】
本開示に係るコネクタは、第1コネクタハウジングの同じ列に整列する第1コネクタ側信号用端子と第1コネクタ側電源用端子を含む第1コネクタと、第2コネクタハウジングの同じ列に整列する第2コネクタ側信号用端子と第2コネクタ側電源用端子を含む第2コネクタと、を備え、前記第1コネクタハウジングと前記第2コネクタハウジングとを嵌合させることで、前記第1コネクタ側信号用端子と前記第2コネクタ側信号用端子とが接触するとともに、前記第1コネクタ側電源用端子と前記第2コネクタ側電源用端子とが接触するコネクタであって、前記第1コネクタ側信号用端子および前記第1コネクタ側電源用端子は、金属板をU字形に折り曲げて形成された接触部を有し、前記第2コネクタ側信号用端子は、金属板をU字形に折り曲げて形成された接触部を有し、前記第2コネクタ側電源用端子は、前記第2コネクタ側信号用端子よりも厚い金属板からなるI字形に形成された接触部を有し、前記第1コネクタハウジングと前記第2コネクタハウジングとの嵌合時には、前記第2コネクタ側信号用端子のU字形の接触部が前記第1コネクタ側信号用端子のU字形の接触部に挟まれて接触し、前記第2コネクタ側電源用端子のI字形の接触部が前記第1コネクタ側電源用端子のU字形の接触部に挟まれて接触することを特徴とするものである。
【0008】
すなわち、第2コネクタ側電源用端子は、第2コネクタ側信号用端子よりも厚い金属板からなるI字形の接触部を有するので、たとえ第2コネクタ側電源用端子と第2コネクタ側信号用端子の整列方向の幅が同じでも断面積は大きくなる。また、第2コネクタ側電源用端子のI字形の接触部が第1コネクタ側電源用端子のU字形の接触部に挟まれて接触するので、第2コネクタ側信号用端子のU字形の接触部が第1コネクタ側信号用端子のU字形の接触部に挟まれて接触する形式の信号用端子よりも電流経路が短くなる。つまり、従来例のヘッダ側電源用端子よりも、本発明の第2コネクタ側電源用端子の方が、電流経路が短くなる。電流容量は、電源用端子の断面積に比例し、電流経路の長さに反比例するので、断面積が大きく電流経路も短い本発明は、電源用端子の幅方向の寸法に依存することなく電流容量を大きくできる。
【0009】
また、本開示に係るコネクタにおいて、前記第2コネクタ側電源用端子は、金属板をL字形に折り曲げて全体を形成することができる。
【0010】
すなわち、第2コネクタ側電源用端子は、金属板をL字形に折り曲げて全体が形成されているので、その全長に渡って信号用端子よりも大きな断面積を有し、製造も容易である。
(【0011】以降は省略されています)
この特許をJ-PlatPat(特許庁公式サイト)で参照する
関連特許
日本航空電子工業株式会社
コネクタ
22日前
日本航空電子工業株式会社
接続体、および接続体の接続方法
3日前
東ソー株式会社
絶縁電線
1か月前
APB株式会社
蓄電セル
1か月前
個人
フレキシブル電気化学素子
1か月前
株式会社ユーシン
操作装置
1か月前
日新イオン機器株式会社
イオン源
1か月前
株式会社東芝
端子台
1か月前
マクセル株式会社
電源装置
1か月前
ローム株式会社
半導体装置
1か月前
株式会社GSユアサ
蓄電装置
9日前
太陽誘電株式会社
コイル部品
1か月前
株式会社GSユアサ
蓄電装置
1か月前
株式会社GSユアサ
蓄電装置
1か月前
株式会社GSユアサ
蓄電設備
1か月前
株式会社GSユアサ
蓄電設備
1か月前
富士電機株式会社
電磁接触器
9日前
株式会社ホロン
冷陰極電子源
1か月前
三菱電機株式会社
回路遮断器
17日前
株式会社GSユアサ
蓄電装置
23日前
日新イオン機器株式会社
基板処理装置
1か月前
トヨタ自動車株式会社
蓄電装置
1か月前
トヨタ自動車株式会社
蓄電装置
1か月前
トヨタ自動車株式会社
蓄電装置
1日前
日本特殊陶業株式会社
保持装置
1か月前
日本特殊陶業株式会社
保持装置
22日前
大電株式会社
電線又はケーブル
1日前
ノリタケ株式会社
熱伝導シート
1か月前
北道電設株式会社
配電具カバー
1か月前
トヨタ自動車株式会社
冷却構造
1か月前
ホシデン株式会社
複合コネクタ
3日前
トヨタ自動車株式会社
バッテリ
1か月前
サクサ株式会社
電池の固定構造
1か月前
ローム株式会社
半導体装置
1か月前
古河電気工業株式会社
端子
1か月前
トヨタ自動車株式会社
電池パック
1か月前
続きを見る
他の特許を見る