TOP
|
特許
|
意匠
|
商標
特許ウォッチ
Twitter
他の特許を見る
10個以上の画像は省略されています。
公開番号
2025167990
公報種別
公開特許公報(A)
公開日
2025-11-07
出願番号
2024073062
出願日
2024-04-26
発明の名称
画像処理装置、画像処理方法及びプログラム
出願人
キヤノン株式会社
代理人
個人
,
個人
,
個人
,
個人
,
個人
主分類
G06T
15/00 20110101AFI20251030BHJP(計算;計数)
要約
【課題】 配信装置にて、複数の撮像装置により取得される複数の撮像画像に基づいて生成される3Dモデルに対して設置された仮想カメラから取得されるデプス画像を配信し、受信装置にて、デプス画像を用いて3Dモデルを再構成する。その際、仮想カメラの設置位置によっては、再構成される3Dモデルの品質が低下する可能性があった。
【解決手段】 第1の画像処理装置20は、現実空間における複数の撮像装置の位置及び姿勢に対応する仮想空間における複数の第1仮想カメラの光軸に基づいて複数の第2仮想カメラの位置及び姿勢を設定し、前記複数の第2仮想カメラのそれぞれと、前記複数の撮像装置により取得される複数の撮像画像に基づいて生成される被写体の3Dモデルと、の距離を示す複数のデプス画像を生成する。
【選択図】 図2
特許請求の範囲
【請求項1】
現実空間における複数の撮像装置の位置及び姿勢に対応する仮想空間における複数の第1仮想カメラの光軸に基づいて複数の第2仮想カメラの位置及び姿勢を設定する設定手段と、
前記複数の第2仮想カメラのそれぞれと、前記複数の撮像装置により取得される複数の撮像画像に基づいて生成される被写体の3Dモデルと、の距離を示す複数のデプス画像を生成する生成手段と
を有することを特徴とする画像処理装置。
続きを表示(約 1,200 文字)
【請求項2】
前記複数の第2仮想カメラは、前記複数の第1仮想カメラの光軸上に設定されることを特徴とする請求項1に記載の画像処理装置。
【請求項3】
前記デプス画像を符号化する符号化手段を有することを特徴とする請求項1記載の画像処理装置。
【請求項4】
符号化された複数の前記デプス画像と、前記複数の第2仮想カメラの位置及び姿勢を示す視点情報と、を前記符号化された複数の前記デプス画像および前記視点情報とに基づいて前記3Dモデルを再構成する他の装置に出力する出力手段を有することを特徴とする請求項3に記載の画像処理装置。
【請求項5】
前記生成手段は、前記複数の第2仮想カメラそれぞれにおいて、前記被写体の3Dモデルを含む仮想視点画像を生成し、
前記符号化手段は、複数の前記仮想視点画像を符号化し、
前記出力手段は、符号化された複数の前記仮想視点画像を前記他の装置に出力することを特徴とする請求項4に記載の画像処理装置。
【請求項6】
前記生成手段は、前記複数の第2仮想カメラそれぞれにおいて、前記仮想視点画像における各画素が前記被写体の3Dモデルの構成要素と対応しているか否かを示す対応情報を生成し、
前記符号化手段は、複数の前記対応情報を符号化し、
前記出力手段は、符号された複数の前記対応情報を前記他の装置に出力することを特徴とする請求項5に記載の画像処理装置。
【請求項7】
前記複数の第2仮想カメラは、前記複数の第1仮想カメラより、前記被写体の3Dモデルに近い位置に設定されることを特徴とする請求項1に記載の画像処理装置。
【請求項8】
前記生成手段は、1つの前記第2仮想カメラに対し、1つの前記デプス画像を生成することを特徴とする請求項1に記載の画像処理装置。
【請求項9】
現実空間における複数の撮像装置の位置及び姿勢に対応する仮想空間における複数の第1仮想カメラの光軸に基づいて設定された複数の第2仮想カメラのそれぞれと、前記撮像装置により取得される複数の撮像画像に基づいて生成される被写体の3Dモデルと、の距離を示す符号化された複数のデプス画像および前記複数の第2仮想カメラの位置及び姿勢を示す第1視点情報を取得する取得手段と、
前記符号化された複数のデプス画像を復号する復号手段と、
復号された前記複数のデプス画像と、前記第1視点情報と、に基づいて前記被写体の3Dモデルを生成する生成手段と、
を有することを特徴とする画像処理装置。
【請求項10】
前記第1仮想カメラおよび前記第2仮想カメラと異なる第3仮想カメラの位置及び姿勢を示す第2視点情報を取得し、
前記生成手段は、前記第2視点情報と、前記被写体の3Dモデルとに基づいて、仮想視点画像を生成することを特徴とする請求項9に記載の画像処理装置。
(【請求項11】以降は省略されています)
発明の詳細な説明
【技術分野】
【0001】
本開示は、3Dモデルを示す3Dモデルデータを圧縮及び配信するための画像処理装置に関する。
続きを表示(約 2,100 文字)
【背景技術】
【0002】
複数台の撮像装置で撮影した複数の撮像画像を用いて被写体(オブジェクト)の3Dモデルを示す3Dモデルデータを生成し、その3Dモデルが存在する仮想空間内に仮想的に配置したカメラ(仮想カメラ)から見た仮想視点画像を生成する技術がある。昨今では、サーバ上で被写体の3Dモデルデータを生成し、その3Dモデルデータを圧縮及び配信し、ユーザがPCやタブレット等の自身のローカル端末(クライアント)で仮想カメラを操作して仮想視点画像を表示する技術が注目されている。
【0003】
3Dモデルデータを圧縮及び配信する技術において、配信側のデバイスでは、3Dモデルを取り囲むように複数の仮想カメラ(仮想カメラ群)を配置し、複数の仮想カメラのデプス画像とテクスチャ画像をそれぞれ生成する。そして、生成したデプス画像とテクスチャ画像を圧縮し、圧縮したデプス画像とテクスチャ画像と複数の仮想カメラの位置及び姿勢を示す情報とをユーザに配信する方法がある。受信側のデバイスでは、圧縮されたデプス画像とテクスチャ画像を復号し、復号したデプス画像とテクスチャ画像と複数の仮想カメラの位置及び姿勢を示す情報とに基づき、3Dモデルを再構成する。
【0004】
特許文献1では、デプス画像の圧縮率の向上を目的に、フレーム間のデプス画像上の主要なオブジェクトの位置の変動が小さくなるように、仮想カメラ群の視点を決定する方法が記載されている。デプス画像を符号化した際に符号化ストリームに含められる動きベクトルが小さくなることにより、デプス画像の圧縮率の向上が期待される。
【先行技術文献】
【特許文献】
【0005】
国際公開第2018/079260号
【発明の概要】
【発明が解決しようとする課題】
【0006】
しかしながら、配信側のデバイスにて設定される仮想カメラ群の位置及び姿勢に依っては、受信側のデバイスにて再構成される3Dモデルの品質が低下する虞があった。例えば、配信側のデバイスで生成される3Dモデルの形状が複雑な場合、仮想カメラ群の位置及び姿勢によっては、3Dモデルの複雑な形状をデプス画像にて十分に表現することができておらず、ユーザ側で再構成した3Dモデルの形状精度が低下する恐れがある。つまり、配信側で生成される3Dモデルの形状に対し、受信側で再構成される3Dモデルの形状が大きく異なる恐れがある。そのため、3Dモデルをより正確に再構成しようとすると、仮想カメラ群の位置及び姿勢を適切に決める必要がある。
【0007】
そこで、本開示は、受信側のデバイスにて生成される3Dモデルの品質が低下する可能性を低減することを目的とする。
【課題を解決するための手段】
【0008】
上記の課題を解決するため、本開示に係る画像処理装置は、以下の構成を有する。すなわち、現実空間における複数の撮像装置の位置及び姿勢に対応する仮想空間における複数の第1仮想カメラの光軸に基づいて複数の第2仮想カメラの位置及び姿勢を設定する設定手段と、前記複数の第2仮想カメラのそれぞれと、前記複数の撮像装置により取得される複数の撮像画像に基づいて生成される被写体の3Dモデルと、の距離を示す複数のデプス画像を生成する生成手段とを有する。
【発明の効果】
【0009】
本開示によれば、受信側のデバイスにて生成される3Dモデルの品質が低下する可能性を低減することができる。
【図面の簡単な説明】
【0010】
(a)は画像処理システム1の構成例を示すブロック図、(b)は画像処理装置のハードウェア構成例を示す図である。
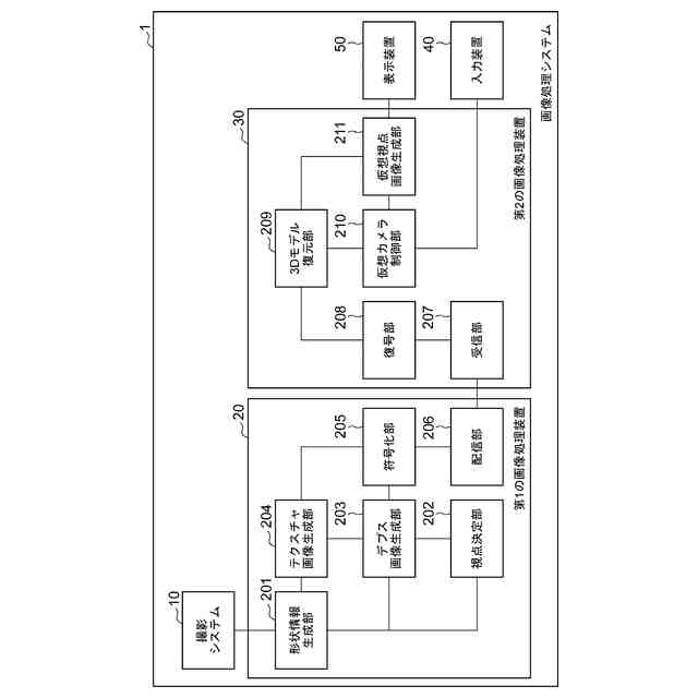
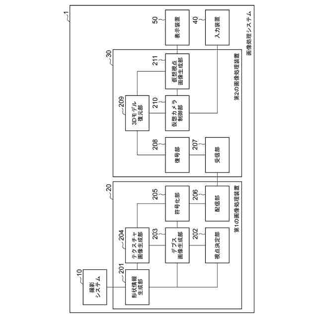
第1の画像処理装置20及び第2の画像処理装置30の機能構成の一例を示す図である。
(a)撮影システム10の構成例を示す図、(b)物理カメラ群302に対応する第1仮想カメラ群305を設定し、第1仮想カメラ群305により生成される被写体の3Dモデル304を示す図、(c)第1仮想カメラ群305の視点情報に基づいて設定される第2仮想カメラ群307を示す図である。
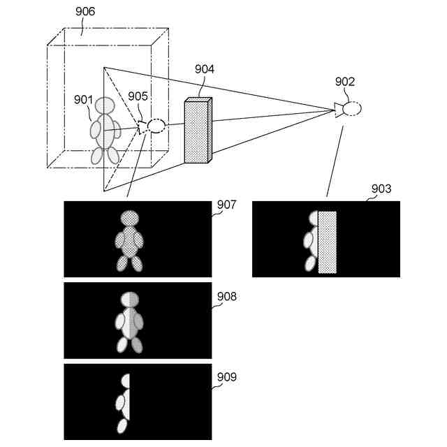
実施例1に関わる仮想カメラの視点情報の生成を説明する図である。
実施例1に関わる3Dモデルデータの圧縮と配信処理の一例を示すフローチャートである。
実施例1に関わる3Dモデルデータの受信と仮想視点画像の生成処理の一例を示すフローチャートである。
実施例1に関わる仮想カメラ群の視点情報の生成処理の一例を示すフローチャートである。
実施例1に関わる3Dモデルの復元処理の一例を示すフローチャートである。
実施例2に関わる仮想カメラ群の視点情報の生成を説明する図である。
実施例2に関わる3Dモデルデータの圧縮と配信処理の一例を示すフローチャートである。
実施例2に関わる3Dモデルの復元処理の一例を示すフローチャートである。
【発明を実施するための形態】
(【0011】以降は省略されています)
この特許をJ-PlatPat(特許庁公式サイト)で参照する
関連特許
他の特許を見る