TOP
|
特許
|
意匠
|
商標
特許ウォッチ
Twitter
他の特許を見る
公開番号
2025167909
公報種別
公開特許公報(A)
公開日
2025-11-07
出願番号
2024072926
出願日
2024-04-26
発明の名称
液体攪拌装置
出願人
キヤノン株式会社
代理人
弁理士法人大塚国際特許事務所
主分類
B41J
2/17 20060101AFI20251030BHJP(印刷;線画機;タイプライター;スタンプ)
要約
【課題】構造的な特徴を有する液体攪拌装置の提供。
【解決手段】第一の液体を収容する第一の収容部と、第一の収容手段に第一の動きをさせて、第一の収容手段内の第一の液体を攪拌する第一の攪拌部と、第一の液体と異なる第二の液体を収容する第二の収容部と、第二の収容部に第二の動きをさせて、第二の収容部内の第二の液体を攪拌する第二の攪拌部と、を備える。
【選択図】図44
特許請求の範囲
【請求項1】
第一の液体を収容する第一の収容手段と、
前記第一の収容手段に第一の動きをさせて、前記第一の収容手段内の前記第一の液体を攪拌する第一の攪拌手段と、
前記第一の液体と異なる第二の液体を収容する第二の収容手段と、
前記第二の収容手段に第二の動きをさせて、前記第二の収容手段内の前記第二の液体を攪拌する第二の攪拌手段と、
を備えることを特徴とする液体攪拌装置。
続きを表示(約 720 文字)
【請求項2】
前記第一の液体は、色材からなる粒子を含む液体であり、前記第二の液体は、第一の液体よりも粒径または比重が大きい粒子を含む液体であることを特徴とする請求項1に記載の液体攪拌装置。
【請求項3】
前記第一および第二の液体は、顔料を含むインクであることを特徴とする請求項1に記載の液体攪拌装置。
【請求項4】
前記第二の液体は、白色のインクであることを特徴とする請求項1に記載の液体攪拌装置。
【請求項5】
前記白色のインクは、酸化チタンを含むことを特徴とする請求項4に記載の液体攪拌装置。
【請求項6】
前記第二の液体は、金属粉を含む液体であることを特徴とする請求項1に記載の液体攪拌装置。
【請求項7】
前記第二の動きは、前記第一の動きよりも、動きの大きさが大きいことを特徴とする請求項1に記載の液体攪拌装置。
【請求項8】
前記第一の攪拌手段は、前記第一の収容手段に、前記第一の動きとして、前記第一の収容手段を移動させずに変形させる動きをさせることを特徴とする請求項1に記載の液体攪拌装置。
【請求項9】
前記第二の攪拌手段は、前記第二の収容手段に、前記第二の動きとして、前記第二の収容手段の姿勢を変える、または移動させる動きをさせることを特徴とする請求項1に記載の液体攪拌装置。
【請求項10】
前記第二の攪拌手段は、前記第二の収容手段に、前記第二の動きとして、前記第二の収容手段を回動する動きをさせることを特徴とする請求項9に記載の液体攪拌装置。
(【請求項11】以降は省略されています)
発明の詳細な説明
【技術分野】
【0001】
本発明は液体の攪拌技術に関する。
続きを表示(約 2,000 文字)
【背景技術】
【0002】
沈降性を有する物質を含む液体は、使用に際して攪拌し、沈殿物を分散させる必要がある場合がある。例えば、液体インクを記録媒体に吐出して記録を行う記録装置では、顔料インクやメタリックインクといったインクを使用する場合、沈殿物を分散させるためにその攪拌が必要となる場合がある。特許文献1及び2には、インクの収容部を回動させることでインクを攪拌する装置が開示されている。
【先行技術文献】
【特許文献】
【0003】
特開平5-338195号公報
特許第6567186号公報
【発明の概要】
【発明が解決しようとする課題】
【0004】
しかし、従来の液体攪拌装置は、その構造に改善の余地がある。
【0005】
本発明は、構造的な特徴を有する液体攪拌装置を提供するものである。
【課題を解決するための手段】
【0006】
本発明に係わる液体攪拌装置は、第一の液体を収容する第一の収容手段と、前記第一の収容手段に第一の動きをさせて、前記第一の収容手段内の前記第一の液体を攪拌する第一の攪拌手段と、前記第一の液体と異なる第二の液体を収容する第二の収容手段と、前記第二の収容手段に第二の動きをさせて、前記第二の収容手段内の前記第二の液体を攪拌する第二の攪拌手段と、を備えることを特徴とする。
【発明の効果】
【0007】
本発明は、構造的な特徴を有する液体攪拌装置を提供することができる。
【図面の簡単な説明】
【0008】
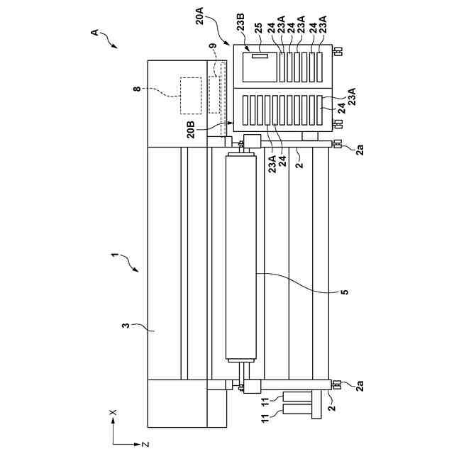
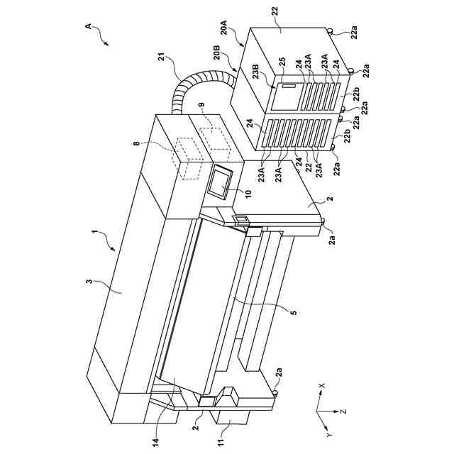
本発明の一実施形態に係るシステムの斜視図。
図1のシステムの正面図。
液体吐出装置の内部構造の説明図。
格納部の正面図。
液体収容器と容器支持ユニットの斜視図。
格納部に対する容器支持ユニットの装着態様を示す説明図。
ハンドルの動作説明図。
液体攪拌装置の斜視図。
液体攪拌装置の斜視図。
収容空間の正面図。
容器支持ユニットの収容態様を示す図。
液体攪拌装置の正面図。
液体攪拌装置の後部の斜視図。
攪拌動作の例を示す図。
回動規制ユニットの説明図。
回動規制態様を示す図。
回動規制態様を示す図。
位置検知動作の説明図。
流路形成部材及び弁ユニットの説明図。
回動時の流路形成部材の姿勢の変化の例を示す図。
可動側及び固定側のチューブ固定部材の配置の説明図。
保持部材の説明図。
回動時のチューブ等の形態の変化の例を示す図。
図1のシステムの制御回路のブロック図。
制御例の説明図。
制御例の説明図。
別の例の説明図。
別の例の説明図。
別の例の説明図。
本発明の第三実施形態に係るシステムの斜視図。
図30のシステムの正面図。
液体格納装置における収容器の配置を示す図。
液体格納装置の背面図。
液体格納装置の一部分解斜視図。
収容器と支持ユニットの斜視図。
(A)及び(B)はハンドル及びロック機構の動作説明図。
ロック機構の動作説明図。
格納部に対する支持ユニットの装着姿勢及び挿抜態様を示す図。
押圧ユニットの動作説明図。
押圧ユニットの動作説明図。
(A)及び(B)はカムの説明図。
分離状態における撹拌機能付きのケースと支持ユニットとの斜視図。
装着状態における撹拌機能付きのケースと支持ユニットとの斜視図。
(A)~(C)は攪拌動作の説明図。
別の攪拌方法を示す図。
【発明を実施するための形態】
【0009】
以下、添付図面を参照して実施形態を詳しく説明する。尚、以下の実施形態は特許請求の範囲に係る発明を限定するものではない。実施形態には複数の特徴が記載されているが、これらの複数の特徴の全てが発明に必須のものとは限らず、また、複数の特徴は任意に組み合わせられてもよい。さらに、添付図面においては、同一若しくは同様の構成に同一の参照番号を付し、重複した説明は省略する。
【0010】
<第一実施形態>
図1は本発明の一実施形態に係るシステムAの斜視図、図2はシステムAの正面図である。各図において、矢印X、Y、Zは互いに交差する方向を示し、本実施形態の場合、直交している。システムAを水平な面に設置した場合の左右方向をX方向、前後方向をY方向、上下方向をZ方向とする。X方向及びY方向は横方向とも呼ぶことができる。
(【0011】以降は省略されています)
この特許をJ-PlatPat(特許庁公式サイト)で参照する
関連特許
キヤノン株式会社
容器
1か月前
キヤノン株式会社
トナー
22日前
キヤノン株式会社
撮像装置
22日前
キヤノン株式会社
撮像装置
9日前
キヤノン株式会社
雲台装置
22日前
キヤノン株式会社
定着装置
15日前
キヤノン株式会社
表示装置
1日前
キヤノン株式会社
表示装置
1日前
キヤノン株式会社
撮像装置
1日前
キヤノン株式会社
記録装置
22日前
キヤノン株式会社
記録装置
15日前
キヤノン株式会社
撮像装置
1日前
キヤノン株式会社
定着装置
9日前
キヤノン株式会社
表示装置
1日前
キヤノン株式会社
電子機器
17日前
キヤノン株式会社
電子機器
22日前
キヤノン株式会社
定着装置
9日前
キヤノン株式会社
撮像装置
23日前
キヤノン株式会社
定着装置
15日前
キヤノン株式会社
記録装置
22日前
キヤノン株式会社
撮像装置
3日前
キヤノン株式会社
撮像装置
9日前
キヤノン株式会社
定着装置
15日前
キヤノン株式会社
撮像装置
1か月前
キヤノン株式会社
測距装置
24日前
キヤノン株式会社
撮像装置
17日前
キヤノン株式会社
電子機器
22日前
キヤノン株式会社
発光装置
1日前
キヤノン株式会社
表示装置
1か月前
キヤノン株式会社
露光ヘッド
15日前
キヤノン株式会社
液体収容体
24日前
キヤノン株式会社
液体収容体
25日前
キヤノン株式会社
眼科撮像装置
10日前
キヤノン株式会社
画像形成装置
15日前
キヤノン株式会社
液体攪拌装置
22日前
キヤノン株式会社
情報処理装置
9日前
続きを見る
他の特許を見る