TOP
|
特許
|
意匠
|
商標
特許ウォッチ
Twitter
他の特許を見る
10個以上の画像は省略されています。
公開番号
2025167905
公報種別
公開特許公報(A)
公開日
2025-11-07
出願番号
2024072922
出願日
2024-04-26
発明の名称
プログラム、情報処理装置の制御方法、情報処理装置
出願人
キヤノン株式会社
代理人
弁理士法人大塚国際特許事務所
主分類
H04N
1/00 20060101AFI20251030BHJP(電気通信技術)
要約
【課題】セキュリティ設定を行う際の利便性を向上させること。
【解決手段】情報処理装置のコンピュータを、前記情報処理装置に設定されている、前記情報処理装置及び通信装置と異なる外部装置とのアクセスに用いられるセキュリティ設定に関する第1の情報を取得する第1の取得手段、前記通信装置がサポートするセキュリティ設定に関する第2の情報を取得する第2の取得手段、前記第1の取得手段により取得された前記第1の情報と、前記第2の取得手段により取得された前記第2の情報とを比較する比較手段、前記比較手段による前記第1の情報と前記第2の情報との比較結果に基づいて、前記第1の情報に含まれる第1のセキュリティ設定値を前記通信装置に送信するよう制御する送信制御手段、として機能させるプログラム。
【選択図】 図3
特許請求の範囲
【請求項1】
情報処理装置のコンピュータを、
前記情報処理装置に設定されている、前記情報処理装置及び通信装置と異なる外部装置とのアクセスに用いられるセキュリティ設定に関する第1の情報を取得する第1の取得手段、
前記通信装置がサポートするセキュリティ設定に関する第2の情報を取得する第2の取得手段、
前記第1の取得手段により取得された前記第1の情報と、前記第2の取得手段により取得された前記第2の情報とを比較する比較手段、
前記比較手段による前記第1の情報と前記第2の情報との比較結果に基づいて、前記第1の情報に含まれる第1のセキュリティ設定値を前記通信装置に送信するよう制御する送信制御手段、
として機能させることを特徴とするプログラム。
続きを表示(約 1,200 文字)
【請求項2】
前記第1の情報は、
前記情報処理装置で有効な第1のセキュリティ設定方法と、当該第1のセキュリティ設定方法に含まれる第1の設定項目と、当該第1の設定項目に対応する前記第1のセキュリティ設定値とを含む、
ことを特徴とする請求項1に記載のプログラム。
【請求項3】
前記第2の情報は、
前記通信装置がサポートする第2のセキュリティ設定方法と、当該第2のセキュリティ設定方法に含まれる第2の設定項目と、当該第2の設定項目に対応する第2のセキュリティ設定値とを含む、
ことを特徴とする請求項2に記載のプログラム。
【請求項4】
前記送信制御手段は、
前記比較結果が条件を満たす場合に、前記第1の情報に含まれる第1のセキュリティ設定値を前記通信装置に送信するように制御する、
ことを特徴とする請求項3に記載のプログラム。
【請求項5】
前記条件は、
前記第1のセキュリティ設定方法と、前記第2のセキュリティ設定方法とが一致することを含む、
ことを特徴とする請求項4に記載のプログラム。
【請求項6】
前記第2のセキュリティ設定方法と、前記第1のセキュリティ設定方法とを紐付けた紐づけ情報を記憶する第1の記憶手段、としてさらに機能させ、
前記比較手段は、
前記紐づけ情報に基づいて、前記第1のセキュリティ設定方法と、前記第2のセキュリティ設定方法とを比較する、
ことを特徴とする請求項5に記載のプログラム。
【請求項7】
前記条件は、
前記第1の設定項目と、前記第2の設定項目とが一致することを含む、
ことを特徴とする請求項4に記載のプログラム。
【請求項8】
前記条件は、
前記第2のセキュリティ設定方法が、手動設定が必要な設定方法でないことを含む、
ことを特徴とする請求項4に記載のプログラム。
【請求項9】
前記比較結果が、前記条件を満たさない場合に、前記第2の情報に対応する設定値を受け付ける受付け手段、
前記送信制御手段は、
前記受付け手段により受け付けた前記第2の情報に対応する設定値を前記通信装置に送信するよう制御する、
ことを特徴とする請求項4に記載のプログラム。
【請求項10】
外部のアクセスポイントが形成するネットワークを介さず、前記通信装置とダイレクトに通信する第1の通信手段、としてさらに機能させ、
前記第1の取得手段は、
前記第1の通信手段により前記通信装置とダイレクトに通信した場合に、前記第1の情報を取得する、
ことを特徴とする請求項1に記載のプログラム。
(【請求項11】以降は省略されています)
発明の詳細な説明
【技術分野】
【0001】
本発明は、プログラム、情報処理装置の制御方法、情報処理装置に関する。
続きを表示(約 1,800 文字)
【背景技術】
【0002】
昨今、通信装置をインターネットに接続することによって、様々なサービスが提供されている。しかし、ネットワーク環境によっては、通信装置がインターネットへアクセスするために、追加のセキュリティ設定が必要となる場合がある。セキュリティ設定としては、例えば、IEEE802.1Xの規格に準じたセキュリティ設定を行う必要がある。
【0003】
セキュリティ設定方法としては、セキュリティ認証のためのユーザ名とパスワードなどのセキュリティ設定に関する情報を通信装置の操作パネルから入力する方法がある。特許文献1には、セキュリティ設定が必要とされる対となるデバイス間で、一方に行われたセキュリティ設定をもう一方の対となるデバイスに送信して設定を行う技術が開示されている。
【先行技術文献】
【特許文献】
【0004】
特開2006-293971号公報
【発明の概要】
【発明が解決しようとする課題】
【0005】
しかし、セキュリティ認証のためのユーザ名及びパスワードなどのセキュリティ設定に関する情報を、ユーザが通信装置の操作パネルへ手動で入力する場合、誤った操作が行われると、適切にセキュリティ設定を行うことができない。また、特許文献1に開示されている技術では、ネットワーク通信を行う対となるデバイス間でしか、セキュリティ設定に関する情報の受け渡しができないという制限があった。したがって、セキュリティ設定を行う場合の利便性を向上させるための工夫が求められる。
【0006】
本発明は、セキュリティ設定を行う際の利便性を向上するプログラム、情報処理装置の制御方法、情報処理装置を提供することを目的とする。
【課題を解決するための手段】
【0007】
上記課題を解決するために、本発明のプログラムは、情報処理装置のコンピュータを、前記情報処理装置に設定されている、前記情報処理装置及び通信装置と異なる外部装置とのアクセスに用いられるセキュリティ設定に関する第1の情報を取得する第1の取得手段、前記通信装置がサポートするセキュリティ設定に関する第2の情報を取得する第2の取得手段、前記第1の取得手段により取得された前記第1の情報と、前記第2の取得手段により取得された前記第2の情報とを比較する比較手段、前記比較手段による前記第1の情報と前記第2の情報との比較結果に基づいて、前記第1の情報に含まれる第1のセキュリティ設定値を前記通信装置に送信するよう制御する送信制御手段、として機能させることを特徴とする。
【発明の効果】
【0008】
本発明によれば、セキュリティ設定を行う際の利便性を向上させることができる。
【図面の簡単な説明】
【0009】
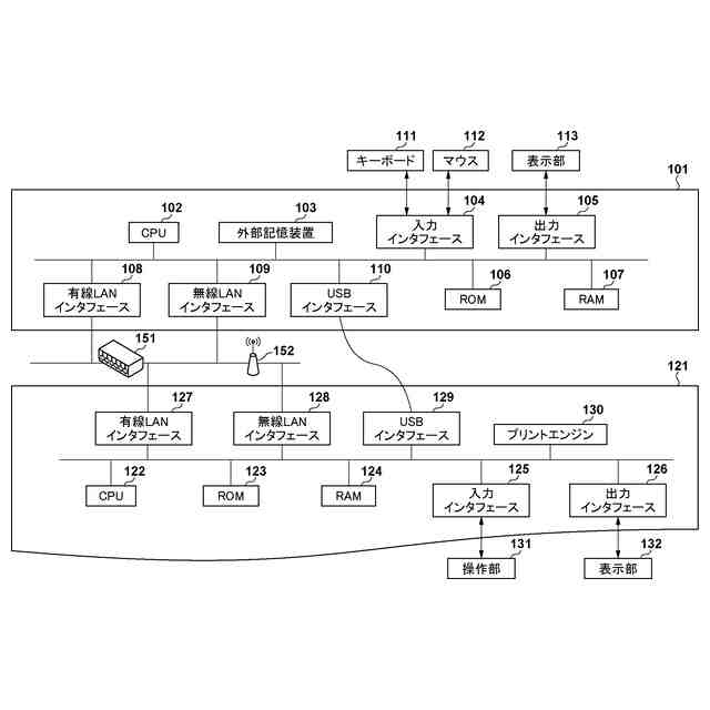
システム構成例を示す図である。
セキュリティ設定に関する処理を説明するシーケンス図である。
セットアッププログラムにより実行される処理を示すフローチャートである。
セキュリティ設定に関する情報を説明する図である。
セキュリティ設定に関する情報を説明する図である。
セキュリティ設定に関する情報の対応関係を説明する図である。
セットアッププログラムにより表示される画面を示す図である。
セキュリティ設定に関する処理を説明するシーケンス図である。
セットアッププログラムにより表示される画面を示す図である。
セキュリティ設定に関する処理を説明するシーケンス図である。
セキュリティ設定に関する処理を説明するシーケンス図である。
機能フラグを説明する図である。
システム構成例を示す図である。
【発明を実施するための形態】
【0010】
以下、添付図面を参照して実施形態を詳しく説明する。なお、以下の実施形態は特許請求の範囲に係る発明を限定するものではない。実施形態には複数の特徴が記載されているが、これらの複数の特徴の全てが発明に必須のものとは限らず、また、複数の特徴は任意に組み合わせられてもよい。さらに、添付図面においては、同一若しくは同様の構成に同一の参照番号を付し、重複した説明は省略する。
(【0011】以降は省略されています)
この特許をJ-PlatPat(特許庁公式サイト)で参照する
関連特許
キヤノン株式会社
容器
1か月前
キヤノン株式会社
容器
1か月前
キヤノン株式会社
トナー
2か月前
キヤノン株式会社
トナー
1か月前
キヤノン株式会社
トナー
2か月前
キヤノン株式会社
トナー
2か月前
キヤノン株式会社
トナー
2か月前
キヤノン株式会社
トナー
1か月前
キヤノン株式会社
撮像装置
3日前
キヤノン株式会社
撮像装置
3日前
キヤノン株式会社
撮像装置
18日前
キヤノン株式会社
撮像装置
10日前
キヤノン株式会社
撮像装置
18日前
キヤノン株式会社
撮像装置
12日前
キヤノン株式会社
撮像装置
1か月前
キヤノン株式会社
記録装置
1か月前
キヤノン株式会社
撮像装置
1か月前
キヤノン株式会社
定着装置
18日前
キヤノン株式会社
撮像装置
3日前
キヤノン株式会社
撮像装置
1か月前
キヤノン株式会社
定着装置
2か月前
キヤノン株式会社
現像容器
1か月前
キヤノン株式会社
表示装置
1か月前
キヤノン株式会社
電子機器
1か月前
キヤノン株式会社
撮像装置
26日前
キヤノン株式会社
二次電池
5日前
キヤノン株式会社
電子機器
26日前
キヤノン株式会社
記録装置
1か月前
キヤノン株式会社
現像装置
1か月前
キヤノン株式会社
記録装置
4日前
キヤノン株式会社
現像装置
1か月前
キヤノン株式会社
現像容器
1か月前
キヤノン株式会社
記録装置
4日前
キヤノン株式会社
現像装置
1か月前
キヤノン株式会社
表示装置
10日前
キヤノン株式会社
測距装置
1か月前
続きを見る
他の特許を見る