TOP
|
特許
|
意匠
|
商標
特許ウォッチ
Twitter
他の特許を見る
10個以上の画像は省略されています。
公開番号
2025167903
公報種別
公開特許公報(A)
公開日
2025-11-07
出願番号
2024072920
出願日
2024-04-26
発明の名称
通信装置、方法、プログラム
出願人
キヤノン株式会社
代理人
弁理士法人大塚国際特許事務所
主分類
B41J
29/00 20060101AFI20251030BHJP(印刷;線画機;タイプライター;スタンプ)
要約
【課題】装置内の準備処理と並行して外部装置との接続設定を行うことが可能な構成においてユーザの利便性を向上させる通信装置を提供する。
【解決手段】外部装置と通信可能な通信装置は、前記通信装置が起動されたことに基づく前記通信装置における所定の準備処理を実行する実行手段と、前記所定の準備処理と異なる、前記外部装置と接続するための接続設定処理を実行する接続設定手段と、前記実行手段による前記所定の準備処理の実行に伴い、前記所定の準備処理に関する画面を表示するよう制御する表示制御手段と、を備え、前記所定の準備処理に関する画面は、前記接続設定処理を実行するための所定の処理を前記外部装置と異なり且つ前記通信装置と異なる情報処理装置において実行するように誘導する誘導画面に遷移可能なように表示される。
【選択図】図7
特許請求の範囲
【請求項1】
外部装置と通信可能な通信装置であって、
前記通信装置が起動されたことに基づく前記通信装置における所定の準備処理を実行する実行手段と、
前記所定の準備処理と異なる、前記外部装置と接続するための接続設定処理を実行する接続設定手段と、
前記実行手段による前記所定の準備処理の実行に伴い、前記所定の準備処理に関する画面を表示するよう制御する表示制御手段と、
を備え、
前記所定の準備処理に関する画面は、前記接続設定処理を実行するための所定の処理を前記外部装置と異なり且つ前記通信装置と異なる情報処理装置において実行するように誘導する誘導画面に遷移可能なように表示される、
ことを特徴とする通信装置。
続きを表示(約 800 文字)
【請求項2】
前記所定の準備処理に関する画面は、前記誘導画面を表示する指示を受付可能に構成されていることを特徴とする請求項1に記載の通信装置。
【請求項3】
前記所定の準備処理に関する画面は、前記誘導画面を表示する指示を受付可能なアイコン画像を含むことを特徴とする請求項2に記載の通信装置。
【請求項4】
前記誘導画面は、前記情報処理装置において前記所定の処理を実行するための情報を表示する画面であることを特徴とする請求項2に記載の通信装置。
【請求項5】
前記所定の処理を実行するための情報は、前記情報処理装置が読取可能な情報であることを特徴とする請求項4に記載の通信装置。
【請求項6】
前記接続設定手段は、前記誘導画面の表示の後に行われる、前記外部装置を介さない前記通信装置と前記情報処理装置の間の通信に基づいて実行されることを特徴とする請求項4に記載の通信装置。
【請求項7】
前記所定の準備処理に関する画面は、複数の画面を含むことを特徴とする請求項1に記載の通信装置。
【請求項8】
前記複数の画面は、シーケンシャルに実行される複数の準備処理それぞれに対応する画面であることを特徴とする請求項7に記載の通信装置。
【請求項9】
前記表示制御手段は、前記誘導画面の表示を終了すると、前記複数の画面のうち前記誘導画面に遷移する前に表示していた画面を表示するよう制御する、
ことを特徴とする請求項7に記載の通信装置。
【請求項10】
前記複数の画面のうち前記誘導画面に遷移する前に表示していた画面より後に表示される画面は、前記誘導画面に遷移可能でないように表示されることを特徴とする請求項9に記載の通信装置。
(【請求項11】以降は省略されています)
発明の詳細な説明
【技術分野】
【0001】
本発明は、外部装置と通信可能な通信装置、方法、プログラムに関する。
続きを表示(約 2,500 文字)
【背景技術】
【0002】
従来、ユーザが印刷装置を購入すると、初回の電源投入後の初期設置時(以下、着荷時)に、プリントヘッドのクリーニングやプリントヘッドの位置調整などの印刷準備処理、外部装置との接続設定、がシーケンシャルに行われていた。特許文献1には、印刷装置のAC電源がONされ、クリーニング処理が実行されているか否かを判定し、クリーニング処理が実行されていない場合、前回のクリーニング処理が実行されてからの経過時間によってクリーニング内容を決めることが記載されている。特許文献2には、着荷時の起動と判定された場合、記録媒体へ印刷処理を実行するための印刷準備処理を実行する実行手段と、印刷準備処理と並行して外部装置と接続するために必要な接続パラメータを設定する設定手段を備えることが記載されている。
【先行技術文献】
【特許文献】
【0003】
特開2003-103802号公報
特開2016-141019号公報
【発明の概要】
【発明が解決しようとする課題】
【0004】
本発明は、装置内の準備処理と並行して外部装置との接続設定を行うことが可能な構成においてユーザの利便性を向上させる通信装置、方法、プログラムを提供することを目的とする。
【課題を解決するための手段】
【0005】
上記課題を解決するため、本発明に係る通信装置は、外部装置と通信可能な通信装置であって、前記通信装置が起動されたことに基づく前記通信装置における所定の準備処理を実行する実行手段と、前記所定の準備処理と異なる、前記外部装置と接続するための接続設定処理を実行する接続設定手段と、前記実行手段による前記所定の準備処理の実行に伴い、前記所定の準備処理に関する画面を表示するよう制御する表示制御手段とを備え、前記所定の準備処理に関する画面は、前記接続設定処理を実行するための所定の処理を前記外部装置と異なり且つ前記通信装置と異なる情報処理装置において実行させるよう誘導する誘導画面に遷移可能なように表示されることを特徴とする。
【発明の効果】
【0006】
本発明によれば、装置内の印刷準備処理と並行して外部装置との接続設定を行うことが可能な構成においてユーザの利便性を向上させることができる。
【図面の簡単な説明】
【0007】
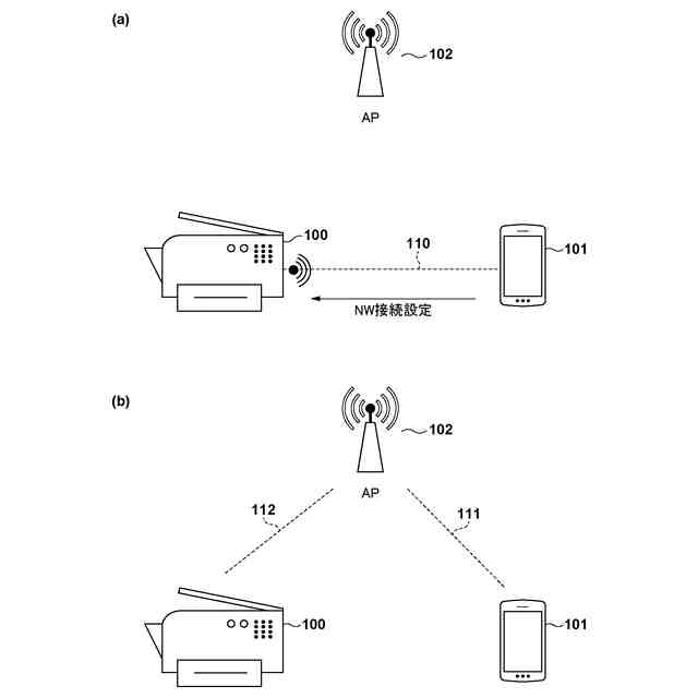
通信システムのネットワーク構成を示す図である。
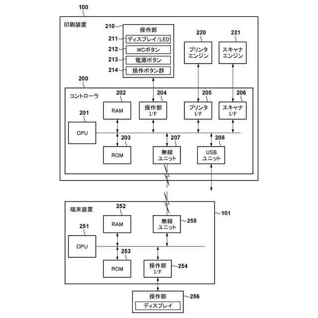
印刷装置および端末装置のハードウェア構成を示す図である。
印刷装置および端末装置のソフトウェア構成を示す図である。
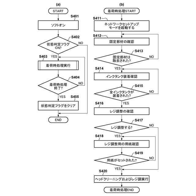
印刷装置における処理を示すフローチャートである。
印刷装置における処理を示すフローチャートである。
着荷時処理の画面を示す図である。
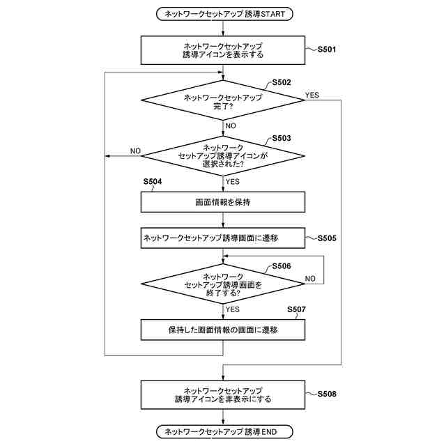
ネットワークセットアップ誘導画面を示す図である。
印刷装置における処理を示すフローチャートである。
印刷装置における処理を示すフローチャートである。
接続設定処理を示すフローチャートである。
端末装置における処理を示すフローチャートである。
端末装置と印刷装置との間におけるシーケンス図である。
端末装置において表示される画面を示す図である。
【発明を実施するための形態】
【0008】
以下、添付図面を参照して実施形態を詳しく説明する。なお、以下の実施形態は特許請求の範囲に係る発明を限定するものではない。実施形態には複数の特徴が記載されているが、これらの複数の特徴の全てが発明に必須のものとは限らず、また、複数の特徴は任意に組み合わせられてもよい。さらに、添付図面においては、同一若しくは同様の構成に同一の参照番号を付し、重複した説明は省略する。
【0009】
[第1実施形態]
まず、本実施形態の通信システムに含まれる通信装置及び端末装置について説明する。本実施形態においては一例として、端末装置(情報処理装置)としての携帯端末、および通信装置としてプリンタである印刷装置が、アクセスポイント(AP)が構築する無線ネットワークに接続可能な構成を説明する。しかしながら、そのような構成に限定されない。例えば端末装置として、PC(パーソナルコンピュータ)、タブレット端末、PDA(Personal Digital Assistant)、デジタルカメラ等、種々のものを適用可能である。また、通信装置として、本実施形態ではプリンタを例示しているが、これに限定されず、情報処理装置と無線通信を行うことが可能な装置であれば、種々のものを適用可能である。例えば、複写機能、FAX機能、印刷機能等の複数の機能を備える複合機にも適用可能である。また、本実施形態の印刷装置では、一例としてカット紙を用いるプリンタを説明するが、他の構成のプリンタであっても良く例えば、ロール紙を用いたプリンタであっても良い。ユーザが印刷装置を購入すると、初回の電源投入時(着荷時)には初期設置が行われる。本実施形態では、初期設置には、例えば、インクカートリッジのセットアップ処理(インクセットアップ処理)、用紙設置操作の検知、印刷における用紙上のインクの着弾位置を調整するための処理であるレジストレーション処理(レジ調整)、外部機器との接続設定、などの印刷準備処理が含まれるものとする。
【0010】
図1(a)及び図1(b)は、本実施形態における通信システムのネットワーク構成の一例を示す図である。本実施形態において例えば、端末装置が端末装置101であり、通信装置が印刷装置100である。図1(a)は、印刷装置100が、AP102と接続するために必要な接続情報(無線プロファイル)を端末装置101から受信して接続設定するネットワークセットアップを実施する際の構成を示している。
(【0011】以降は省略されています)
この特許をJ-PlatPat(特許庁公式サイト)で参照する
関連特許
キヤノン株式会社
容器
1か月前
キヤノン株式会社
容器
1か月前
キヤノン株式会社
トナー
1か月前
キヤノン株式会社
トナー
1か月前
キヤノン株式会社
トナー
2か月前
キヤノン株式会社
トナー
2か月前
キヤノン株式会社
トナー
2か月前
キヤノン株式会社
トナー
2か月前
キヤノン株式会社
現像装置
1か月前
キヤノン株式会社
撮像装置
3日前
キヤノン株式会社
撮像装置
3日前
キヤノン株式会社
撮像装置
3日前
キヤノン株式会社
電子機器
26日前
キヤノン株式会社
撮像装置
2か月前
キヤノン株式会社
撮像装置
1か月前
キヤノン株式会社
記録装置
4日前
キヤノン株式会社
表示装置
1か月前
キヤノン株式会社
表示装置
10日前
キヤノン株式会社
表示装置
10日前
キヤノン株式会社
撮像装置
2か月前
キヤノン株式会社
記録装置
4日前
キヤノン株式会社
撮像装置
1か月前
キヤノン株式会社
撮影装置
1か月前
キヤノン株式会社
定着装置
24日前
キヤノン株式会社
撮像装置
1か月前
キヤノン株式会社
記録装置
24日前
キヤノン株式会社
撮像装置
18日前
キヤノン株式会社
現像容器
1か月前
キヤノン株式会社
定着装置
24日前
キヤノン株式会社
撮像装置
18日前
キヤノン株式会社
発光装置
10日前
キヤノン株式会社
定着装置
18日前
キヤノン株式会社
定着装置
24日前
キヤノン株式会社
二次電池
5日前
キヤノン株式会社
記録装置
1か月前
キヤノン株式会社
撮像装置
1か月前
続きを見る
他の特許を見る