TOP
|
特許
|
意匠
|
商標
特許ウォッチ
Twitter
他の特許を見る
公開番号
2025167882
公報種別
公開特許公報(A)
公開日
2025-11-07
出願番号
2024072873
出願日
2024-04-26
発明の名称
空気清浄装置及び空気清浄方法
出願人
トヨタ自動車株式会社
代理人
個人
,
個人
,
個人
,
個人
主分類
B60H
3/00 20060101AFI20251030BHJP(車両一般)
要約
【課題】車室内で検出された臭気の清浄に関する技術を改善する。
【解決手段】空気清浄装置20は、座席位置が複数の座席ブロックに分割されている車室内で、各座席ブロックに配置された臭気センサ22Aによって、各座席ブロックの臭気強度を測定し、測定された臭気強度が閾値を超える値を提示する第1座席ブロックが検知された場合、エアコン23Aの複数の送風口それぞれの向きを、第1座席ブロックの方向に向けて、送風を行う制御部25を備える。
【選択図】図1
特許請求の範囲
【請求項1】
車両の車室内に設置されたエアコンと、
前記エアコンを用いて送風を行う制御部と、を有する空気清浄装置であって、
前記制御部は、座席位置が複数の座席ブロックに分割されている前記車室内で、各座席ブロックに配置された臭気センサによって、前記各座席ブロックの臭気強度を測定し、測定された前記臭気強度が閾値を超える値を提示する第1座席ブロックが検知された場合、前記エアコンの複数の送風口それぞれの向きを、前記第1座席ブロックの方向に向けて、送風を行う、空気清浄装置。
続きを表示(約 690 文字)
【請求項2】
請求項1に記載の空気清浄装置であって、
前記制御部は、前記エアコンの複数の送風口それぞれの向き及び風速を、独立に制御する、空気清浄装置。
【請求項3】
請求項1に記載の空気清浄装置であって、
前記複数の座席ブロックのそれぞれに、アロマディフューザーをさらに備え、
前記制御部は、前記第1座席ブロックの方向に、前記エアコンを用いて送風を行った結果、前記第1座席ブロックにおける前記臭気強度が前記閾値以下の値に低下しない場合、前記第1座席ブロックに設置された前記アロマディフューザーから所定の香りのエアを拡散させる、空気清浄装置。
【請求項4】
請求項3に記載の空気清浄装置であって、
前記所定の香りは、前記車両に乗車する複数の利用者の利用者情報から選択された、前記複数の利用者のうちの所定の割合の利用者が好む香りである、空気清浄装置。
【請求項5】
空気清浄装置により、
座席位置が複数の座席ブロックに分割されている車室内で、各座席ブロックに配置された臭気センサによって、前記各座席ブロックの臭気強度を測定することと、
測定された前記臭気強度が閾値を超える値を提示する第1座席ブロックが検知された場合、エアコンの複数の送風口それぞれの向きを、前記第1座席ブロックの方向に向けて、送風を行うことと、
を実行する、空気清浄方法。
【請求項6】
請求項1に記載の支援装置を用いたMaaS(Mobility as a Service)提供方法。
発明の詳細な説明
【技術分野】
【0001】
本開示は、空気清浄装置及び空気清浄方法に関する。
続きを表示(約 1,300 文字)
【背景技術】
【0002】
従来、車室内で検出された臭気の清浄に関する技術が知られている。例えば特許文献1には、車室内の臭気を検出する臭気センサが、車室内の臭気を検出し、検出された臭気の種類を判定し、判定された臭気の種類に応じて、適切な対応を決定する技術が開示されている。
【先行技術文献】
【特許文献】
【0003】
特開2021-096670号公報
【発明の概要】
【発明が解決しようとする課題】
【0004】
特許文献1における適切な対応は、(i)車両のパワーウィンドウを駆動して、室内の臭気を脱臭させること、又は(ii)車両を走行させる走行系アクチュエータを駆動して、自車両を外部の清掃センターに向かわせること、のいずれかである。しかし、(i)バスなど車室が広い車両の場合には、窓の開閉による車室内の喚起を十分に行うことが出来ず、また(ii)清掃センターにおいて臭気の清浄を行う場合には、経済的負担が増加する。したがって、車室内で検出された臭気の清浄に関する技術には改善の余地があった。
【0005】
かかる事情に鑑みてなされた本開示の目的は、車室内で検出された臭気の清浄に関する技術を改善することにある。
【課題を解決するための手段】
【0006】
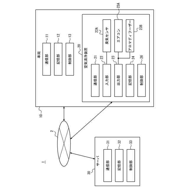
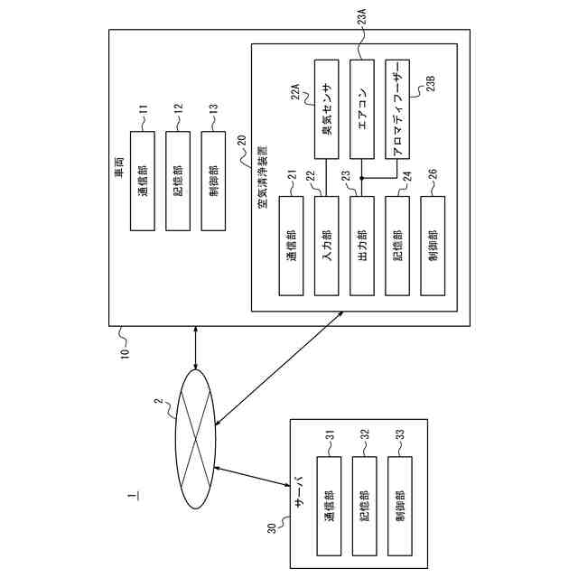
本開示の一実施形態に係る空気清浄装置は、車両の車室内に設置されたエアコンと、前記エアコンを用いて送風を行う制御部と、を有する空気清浄装置であって、前記制御部は、前記座席位置が複数の座席ブロックに分割されている車室内で、各座席ブロックに配置された臭気センサによって、前記各座席ブロックの臭気強度を測定し、測定された前記臭気強度が閾値を超える値を提示する第1座席ブロックが検知された場合、前記エアコンの複数の送風口それぞれの向きを、前記第1座席ブロックの方向に向けて、送風を行う。
【0007】
本開示の一実施形態に係る空気清浄方法は、空気清浄装置により、座席位置が複数の座席ブロックに分割されている車室内で、各座席ブロックに配置された臭気センサによって、前記各座席ブロックの臭気強度を測定することと、測定された前記臭気強度が閾値を超える値を提示する第1座席ブロックが検知された場合、エアコンの複数の送風口それぞれの向きを、前記第1座席ブロックの方向に向けて、送風を行うことと、を実行する。
【発明の効果】
【0008】
本開示の一実施形態によれば、車室内で検出された臭気の清浄に関する技術が改善される。
【図面の簡単な説明】
【0009】
本開示の一実施形態に係るシステムの概略構成例を示すブロック図である。
空気清浄装置の動作例を示すフローチャートである。
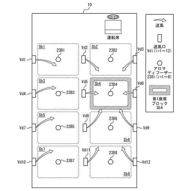
車室内の座席ブロックの一例を説明する概略図である。
車室内で空気清浄を行う方法の一例を説明する概略図である。
臭気強度の判定基準の一例を示す表である。
【発明を実施するための形態】
【0010】
以下、本開示の実施形態について説明する。
(【0011】以降は省略されています)
この特許をJ-PlatPat(特許庁公式サイト)で参照する
関連特許
個人
タイヤレバー
4か月前
個人
前輪キャスター
3か月前
個人
上部一体型自動車
2か月前
個人
タイヤ脱落防止構造
3か月前
個人
空間形成装置
1か月前
個人
ルーフ付きトライク
4か月前
日本精機株式会社
表示装置
3か月前
日本精機株式会社
表示装置
4か月前
個人
車両通過構造物
4か月前
個人
マスタシリンダ
2か月前
日本精機株式会社
表示装置
4か月前
日本精機株式会社
表示装置
4か月前
日本精機株式会社
照明装置
1か月前
個人
常設収納型サンバイザー
1か月前
日本精機株式会社
車載表示装置
1か月前
株式会社ニフコ
照明装置
3か月前
個人
回転窓ワイパー装置
1か月前
日本精機株式会社
車載表示装置
1か月前
日本精機株式会社
車載表示装置
1か月前
株式会社ニフコ
収納装置
2か月前
日本精機株式会社
車載表示装置
2か月前
日本精機株式会社
車室演出装置
3か月前
株式会社豊田自動織機
産業車両
1か月前
株式会社豊田自動織機
産業車両
4か月前
日本精機株式会社
画像投映装置
2か月前
日本精機株式会社
車両用表示装置
2か月前
井関農機株式会社
作業車両
2か月前
日本精機株式会社
車両用報知装置
1か月前
日本精機株式会社
車両用投射装置
2か月前
極東開発工業株式会社
車両
4か月前
株式会社SUBARU
車両
1か月前
日本精機株式会社
車両用表示装置
4か月前
個人
聴覚と触覚を利用する速度計
2日前
日本精機株式会社
車両用投影装置
2か月前
個人
音による速度計とプログラム
1か月前
個人
段差通過を容易にする車輪構造
3か月前
続きを見る
他の特許を見る