TOP
|
特許
|
意匠
|
商標
特許ウォッチ
Twitter
他の特許を見る
10個以上の画像は省略されています。
公開番号
2025167840
公報種別
公開特許公報(A)
公開日
2025-11-07
出願番号
2024072792
出願日
2024-04-26
発明の名称
情報処理装置、情報処理装置の情報処理方法、およびプログラム
出願人
キヤノン株式会社
代理人
弁理士法人谷・阿部特許事務所
主分類
G06F
3/12 20060101AFI20251030BHJP(計算;計数)
要約
【課題】印刷面の保護などのために割り当てられる印刷媒体の長さをユーザが容易に把握することができる。
【解決手段】印刷装置における印刷媒体の残量を示す情報を含む印刷装置情報を取得する第一の取得手段と、印刷成果物の巻取り方法を示す巻取情報を含む印刷設定情報を取得する第二の取得手段と、印刷装置情報と、印刷設定情報とに基づいて、印刷装置において画像を印刷媒体に印刷するために必要な印刷媒体の長さを示す印刷長さと、印刷成果物に割り当てられる、画像の印刷とは独立して設けられる余分な印刷媒体の長さと、を決定する決定手段と、印刷長さと、余分な印刷媒体の長さと、印刷媒体の残量とに基づいて警告を表示することが可能な表示制御手段と、を備える情報処理装置を提供する。
【選択図】図9
特許請求の範囲
【請求項1】
印刷装置における印刷媒体の残量を示す情報を含む印刷装置情報を取得する第一の取得手段と、
印刷成果物の巻取り方法を示す巻取情報を含む印刷設定情報を取得する第二の取得手段と、
前記印刷装置情報と、前記印刷設定情報とに基づいて、前記印刷装置において画像を前記印刷媒体に印刷するために必要な印刷媒体の長さを示す印刷長さと、前記印刷成果物に割り当てられる、前記画像の印刷とは独立して設けられる余分な印刷媒体の長さと、を決定する決定手段と、
前記印刷長さと、前記余分な印刷媒体の長さと、前記印刷媒体の残量とに基づいて警告を表示することが可能な表示制御手段と
を備えることを特徴とする情報処理装置。
続きを表示(約 1,100 文字)
【請求項2】
前記余分な印刷媒体の長さは、前記印刷媒体における、前記印刷成果物の印刷面を保護するために割り当てられる領域の長さを含むことを特徴とする請求項1に記載の情報処理装置。
【請求項3】
前記印刷長さは、前記印刷媒体の幅方向において所定数区切られ、かつ前記印刷媒体の長さ方向に沿って延在する複数のレーンの各レーンにおいて画像を印刷するために必要な印刷媒体の長さを示すことを特徴とする請求項1に記載の情報処理装置。
【請求項4】
前記決定手段は、前記印刷成果物が表巻きか裏巻きかを示す前記巻取情報に基づいて、前記余分な印刷媒体の長さを決定することを特徴とする請求項1に記載の情報処理装置。
【請求項5】
前記表巻きは、巻き取った状態の前記印刷成果物の印刷面が外側を向くように、前記印刷成果物を巻取る方法を示し、
前記裏巻きは、前記印刷面が内側を向くように、前記印刷成果物を巻取る方法を示すことを特徴とする請求項4に記載の情報処理装置。
【請求項6】
前記表示制御手段は、前記印刷媒体の残量が、前記印刷長さに、前記余分な印刷媒体の長さを加えた長さよりも長い場合、前記余分な印刷媒体の長さを前記警告に含めて表示することを特徴とする請求項1に記載の情報処理装置。
【請求項7】
前記表示制御手段は、前記印刷媒体の残量が、前記印刷長さに、前記余分な印刷媒体の長さを加えた長さよりも短く、かつ、前記印刷長さよりも長い場合、前記印刷媒体から前記余分な印刷媒体の長さを繰り出すことができないことを示す警告を表示することを特徴とする請求項1に記載の情報処理装置。
【請求項8】
前記表示制御手段は、前記印刷媒体の残量が、前記印刷長さよりも短い場合、前記印刷装置で印刷できないことを示す警告を表示することを特徴とする請求項1に記載の情報処理装置。
【請求項9】
前記印刷設定情報は、前記印刷成果物をユーザが管理するための管理情報を含み、
前記決定手段は、前記管理情報を印刷するために必要な前記印刷媒体の長さに基づいて、前記余分な印刷媒体の長さを決定することを特徴とする請求項1に記載の情報処理装置。
【請求項10】
前記印刷設定情報は、前記印刷成果物をユーザが管理するための管理情報が設定されているか否かを示す情報を含み、
前記表示制御手段は、前記管理情報が設定されているか否かを前記警告に含めて表示することを特徴とする請求項1に記載の情報処理装置。
(【請求項11】以降は省略されています)
発明の詳細な説明
【技術分野】
【0001】
本開示は、情報処理装置、情報処理装置の情報処理方法、およびプログラムに関する。
続きを表示(約 1,600 文字)
【背景技術】
【0002】
ラベル印刷を行う商業印刷においては、グラフィックスソフトウェアなどで作成したデータ(PDF(Portable Document Format)など)が印刷会社に入稿される。入稿されたデータは、印刷会社において顧客ごと管理される。印刷会社における印刷装置のユーザは、顧客が指示する納品方法に従い、入稿されたデータを用いて印刷を行う。
【0003】
特許文献1には、印刷に必要なロール紙の用紙長を算出し、印刷装置にセットされているロール紙の残量を管理する方法が開示されている。
【先行技術文献】
【特許文献】
【0004】
特開2022-073030号公報
【発明の概要】
【発明が解決しようとする課題】
【0005】
納品用のロール紙に、印刷面の保護などのための余分なロール紙を割り当てることができるかどうかをユーザが容易に把握したいというニーズがある。特許文献1の方法では、このようなニーズに対応できない。
【0006】
本開示は、印刷面の保護などのために割り当てられる印刷媒体の長さをユーザが容易に把握することができる技術を提供することを目的とする。
【課題を解決するための手段】
【0007】
本開示の一態様に係る情報処理装置は、印刷装置における印刷媒体の残量を示す情報を含む印刷装置情報を取得する第一の取得手段と、印刷成果物の巻取り方法を示す巻取情報を含む印刷設定情報を取得する第二の取得手段と、前記印刷装置情報と、前記印刷設定情報とに基づいて、前記印刷装置において画像を前記印刷媒体に印刷するために必要な印刷媒体の長さを示す印刷長さと、前記印刷成果物に割り当てられる、前記画像の印刷とは独立して設けられる余分な印刷媒体の長さと、を決定する決定手段と、前記印刷長さと、前記余分な印刷媒体の長さと、前記印刷媒体の残量とに基づいて警告を表示することが可能な表示制御手段と、を備えることを特徴とする。
【発明の効果】
【0008】
本開示によれば、印刷面の保護などのために割り当てられる印刷媒体の長さをユーザが容易に把握することができる。
【図面の簡単な説明】
【0009】
システムの一例を示すブロック図である。
印刷アプリケーションのソフトウェア構成の一例を示すブロック図である。
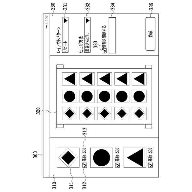
印刷アプリケーションの印刷設定画面の一例を示す図である。
ロール紙の構造の一例を示す断面図である。
余分量を表示する警告メッセージの表示画面の一例を示す図である。
余分量を表示する警告メッセージの表示画面の一例を示す図である。
余分量を表示する警告メッセージの表示画面の一例を示す図である。
警告メッセージの表示画面の一例を示す図である。
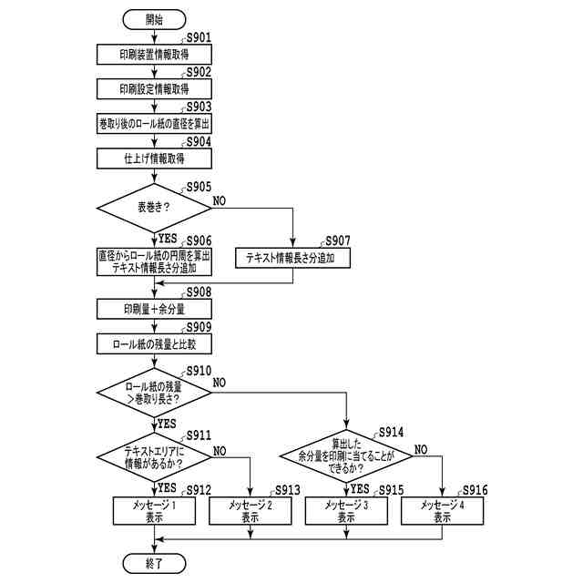
情報処理装置が実行する処理の一例を示すフローチャートである。
印刷アプリケーションの設定画面の一例を示す図である。
余分量を表示する警告メッセージの表示画面の一例を示す図である。
情報処理装置が実行する処理の一例を示すフローチャートである。
余分量を表示する警告メッセージの表示画面の一例を示す図である。
余分量を表示する警告メッセージの表示画面の一例を示す図である。
余分量を表示する警告メッセージの表示画面の一例を示す図である。
【発明を実施するための形態】
【0010】
以下、添付図面を参照して本開示の好適な実施形態を詳しく説明する。なお、以下の実施形態は本開示事項を限定するものでなく、また以下の実施形態で説明されている特徴の組み合わせすべてが本開示の解決手段に必須のものとは限らない。また、同一の構成については、同じ符号を付して説明する。
(【0011】以降は省略されています)
この特許をJ-PlatPat(特許庁公式サイト)で参照する
関連特許
キヤノン株式会社
定着装置
23日前
キヤノン株式会社
二次電池
4日前
キヤノン株式会社
定着装置
17日前
キヤノン株式会社
撮像装置
2日前
キヤノン株式会社
撮像装置
2日前
キヤノン株式会社
撮像装置
2日前
キヤノン株式会社
撮像装置
2日前
キヤノン株式会社
撮像装置
2日前
キヤノン株式会社
表示装置
2日前
キヤノン株式会社
記録装置
3日前
キヤノン株式会社
記録装置
3日前
キヤノン株式会社
撮像装置
17日前
キヤノン株式会社
撮像装置
11日前
キヤノン株式会社
撮像装置
17日前
キヤノン株式会社
定着装置
17日前
キヤノン株式会社
表示装置
9日前
キヤノン株式会社
電子機器
2日前
キヤノン株式会社
発光装置
9日前
キヤノン株式会社
表示装置
9日前
キヤノン株式会社
撮像装置
9日前
キヤノン株式会社
表示装置
9日前
キヤノン株式会社
撮像装置
9日前
キヤノン株式会社
インク容器
3日前
キヤノン株式会社
印刷システム
17日前
キヤノン株式会社
画像形成装置
18日前
キヤノン株式会社
画像形成装置
12日前
キヤノン株式会社
画像形成装置
12日前
キヤノン株式会社
画像形成装置
18日前
キヤノン株式会社
画像形成装置
17日前
キヤノン株式会社
二成分現像剤
9日前
キヤノン株式会社
画像形成装置
18日前
キヤノン株式会社
画像形成装置
4日前
キヤノン株式会社
画像記録装置
4日前
キヤノン株式会社
眼科撮像装置
18日前
キヤノン株式会社
インク収納体
11日前
キヤノン株式会社
画像形成装置
18日前
続きを見る
他の特許を見る