TOP
|
特許
|
意匠
|
商標
特許ウォッチ
Twitter
他の特許を見る
公開番号
2025167788
公報種別
公開特許公報(A)
公開日
2025-11-07
出願番号
2024072702
出願日
2024-04-26
発明の名称
排ガス処理システムおよびこれを備えた有機物分解処理装置
出願人
株式会社扇フーズ
代理人
個人
,
個人
主分類
B01D
53/70 20060101AFI20251030BHJP(物理的または化学的方法または装置一般)
要約
【課題】有機物を熱分解処理した際に発生する排ガスを効率良く確実に無害化処理することが可能な排ガス処理システムおよびこれを備えた有機物分解処理装置の提供。
【解決手段】排ガス処理システムは、有機物を熱分解処理した際に発生する排ガスを水に溶解させる混合器1を備えた第1処理槽210と、第1処理槽210から取り出した水と少なくともダイオキシン類を吸着する吸着剤とを攪拌混合する第2処理槽220と、第2処理槽220内の水をろ過するフィルター223とを含む。
【選択図】図1
特許請求の範囲
【請求項1】
有機物を熱分解処理した際に発生する排ガスを水に溶解させる溶解装置を備えた第1処理槽と、
前記第1処理槽から取り出した水と少なくともダイオキシン類を吸着する吸着剤とを攪拌混合する第2処理槽と、
前記第2処理槽内の水をろ過するフィルターと
を含む排ガス処理システム。
続きを表示(約 660 文字)
【請求項2】
前記溶解装置は、断面形状が円形の容器内に水を供給して発生させた渦流内に前記排ガスを吸引させることにより前記排ガスを前記水と攪拌混合する混合器である請求項1記載の排ガス処理システム。
【請求項3】
前記第1処理槽へ吸引させる前記排ガスの前処理として焼却するヒーターを備えた請求項1記載の排ガス処理システム。
【請求項4】
前記混合器は、
断面形状が円形の第1室を有する前記容器と、
当該第1室内に、渦流が生じる向きに第1の流体として前記水を流入させる第1流入口と、
前記容器内に生じる渦流の旋回軸上に設けられた流体の噴出口と、
当該噴出口から噴出された流体が流入する第2室と、
前記噴出口に対向配置さており、前記噴出口に向けて第2の流体として前記排ガスを流入させる第2流入口を有する流体供給管と、
前記第2室内の混合流体を吐出する吐出口とを備え、
前記第2室は、断面形状が円形の中空部を有するものであり、
前記噴出口は、前記第2室内に向けて渦流の流体を噴出するものであり、
前記吐出口は、前記第2室内の混合流体の渦流の旋回軸に交差する方向に向けて混合流体を吐出する開口部を備える
請求項2記載の排ガス処理システム。
【請求項5】
有機物を熱分解処理する熱分解装置と、
請求項1から4のいずれか1項に記載の排ガス処理システムと
を含む有機物分解処理装置。
発明の詳細な説明
【技術分野】
【0001】
本発明は、有機物を熱分解処理した際に発生する排ガスを処理する排ガス処理システムおよびこれを備えた有機物分解処理装置に関する。
続きを表示(約 1,800 文字)
【背景技術】
【0002】
外気を遮断した処理槽に投入した有機物を加熱するとともに処理槽に磁化された空気(磁化空気)を抑制的に供給することで、有害物質であるダイオキシンの発生を低減し、比較的低温で熱分解させる処理技術が知られている。また、有機物を処理する際の排ガス内のダイオキシンの含有量を少なくするため、磁化空気による有機物の熱分解後の排ガスを燃焼処理し、一次冷却、二次冷却してガス温度を60℃以下にした後、活性炭によってダイオキシンを吸着するようにした有機物処理装置が知られている(例えば、特許文献1参照。)。
【先行技術文献】
【特許文献】
【0003】
特開2024-12056号公報
【発明の概要】
【発明が解決しようとする課題】
【0004】
上記有機物処理装置では、ダイオキシンを吸着するために活性炭を使用している。活性炭は活性炭収容部内に充填され、ガスが活性炭の隙間を通ることで、ガスに微量に含まれるダイオキシンが活性炭の多孔質構造で吸着されるが、活性炭が目詰まりしてしまった場合には吸着されなくなる。
【0005】
本発明においては、有機物を熱分解処理した際に発生する排ガスを効率良く確実に無害化処理することが可能な排ガス処理システムおよびこれを備えた有機物分解処理装置を提供することを目的とする。
【課題を解決するための手段】
【0006】
本発明の排ガス処理システムは、有機物を熱分解処理した際に発生する排ガスを水に溶解させる溶解装置を備えた第1処理槽と、第1処理槽から取り出した水と少なくともダイオキシン類を吸着する吸着剤とを攪拌混合する第2処理槽と、第2処理槽内の水をろ過するフィルターとを含むものである。
【0007】
本発明の排ガス処理システムによれば、有機物を熱分解処理した際に発生した排ガスが、第1処理装置において水に溶け込み、第2処理槽においてこの水中に溶け込んだ状態の排ガスと吸着剤とが十分に接触することになる。これにより、排ガスに含まれるダイオキシン類が吸着剤に確実に吸着され、吸着剤とともにフィルターにより除去される。
【0008】
溶解装置は、断面形状が円形の容器内に水を供給して発生させた渦流内に排ガスを吸引させることにより排ガスを水と攪拌混合する混合器とすることができる。この混合器によれば、有機物を熱分解処理した際に発生した排ガスが、第1処理槽において断面形状が円形の容器内に水を供給して発生させた渦流によって混合攪拌されることにより確実に十分な混合状態が得られ、水中に溶け込む。これにより、第2処理槽においてこの水中に溶け込んだ排ガスと吸着剤とが十分に接触し、排ガスに含まれるダイオキシン類が吸着剤に確実に吸着され、吸着剤とともにフィルターにより除去される。
【0009】
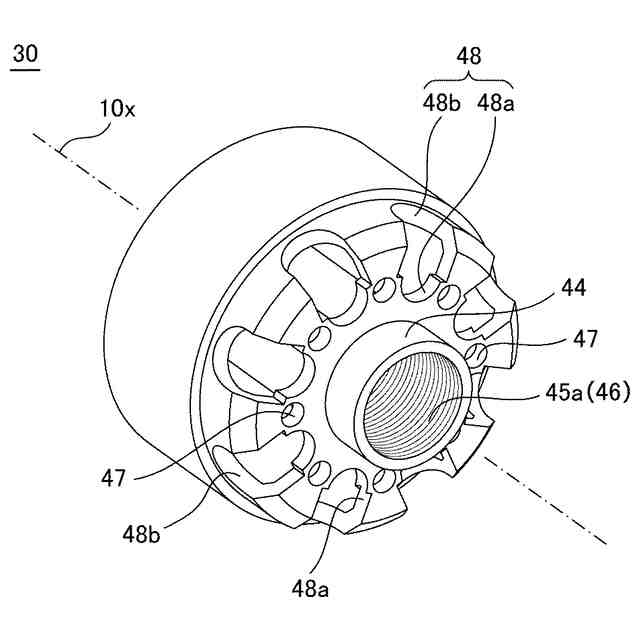
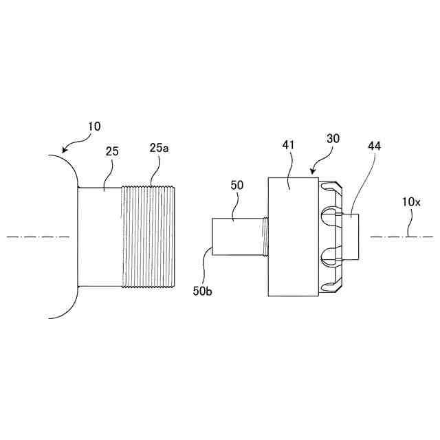
また、混合器は、断面形状が円形の第1室を有する容器と、当該第1室内に、渦流が生じる向きに第1の流体として水を流入させる第1流入口と、容器内に生じる渦流の旋回軸上に設けられた流体の噴出口と、当該噴出口から噴出された流体が流入する第2室と、噴出口に対向配置さており、噴出口に向けて第2の流体として排ガスを流入させる第2流入口を有する流体供給管と、第2室内の混合流体を吐出する吐出口とを備え、第2室は、断面形状が円形の中空部を有するものであり、噴出口は、第2室内に向けて渦流の流体を噴出するものであり、吐出口は、第2室内の混合流体の渦流の旋回軸に交差する方向に向けて混合流体を吐出する開口部を備えるものであることが望ましい。
【0010】
これにより、容器の第1室内に供給された第1の流体としての水は、断面形状が円形の第1室の内周面に案内されて、第1室の中心軸周りを旋回するように流動し、第1室内において渦流となる。そして、第1室内の水は渦流の状態で噴出口から第2室内へ噴出する。このとき、第2の流体としての排ガスが流体供給管から流入すると、渦流の中心部に生じる負圧領域によって水の渦流内に吸引される流れが生じる。そして、水と排ガスとが第2室内において攪拌されて混合され、開口部から吐出される。
(【0011】以降は省略されています)
この特許をJ-PlatPat(特許庁公式サイト)で参照する
関連特許
株式会社扇フーズ
排ガス処理システムおよびこれを備えた有機物分解処理装置
7日前
株式会社西部技研
除湿装置
29日前
株式会社日本触媒
ドロー溶質
23日前
サンノプコ株式会社
消泡剤
21日前
日本バイリーン株式会社
フィルタ
8日前
東レ株式会社
遠心ポッティング方法
15日前
トヨタ自動車株式会社
濾過装置
9日前
個人
気液混合装置
21日前
大和ハウス工業株式会社
反応装置
1か月前
松岡紙業 株式会社
油吸着体の製造方法
23日前
株式会社フクハラ
圧縮空気圧回路ユニット
21日前
東芝ライテック株式会社
光照射装置
9日前
富士電機株式会社
ガス処理システム
18日前
大陽日酸株式会社
CO2の回収方法
1か月前
本田技研工業株式会社
ガス回収装置
1か月前
株式会社明電舎
成膜装置
18日前
日本化薬株式会社
直鎖ブテン製造用触媒及びその使用
15日前
本田技研工業株式会社
二酸化炭素回収装置
1か月前
本田技研工業株式会社
二酸化炭素回収装置
1か月前
本田技研工業株式会社
二酸化炭素回収装置
1か月前
ノリタケ株式会社
触媒材料およびその利用
1か月前
本田技研工業株式会社
二酸化炭素回収装置
1か月前
本田技研工業株式会社
二酸化炭素回収装置
1か月前
本田技研工業株式会社
二酸化炭素回収装置
1か月前
ノリタケ株式会社
触媒材料およびその利用
1か月前
ノリタケ株式会社
触媒材料およびその利用
1か月前
本田技研工業株式会社
二酸化炭素回収装置
1か月前
いであ株式会社
PFAS除去用バイオ炭の製造方法
10日前
個人
フッ化炭素糸物にフッ素をコーティングした浄水手段
21日前
東京応化工業株式会社
ろ過処理方法、及び多孔質膜
1か月前
三浦工業株式会社
撹拌装置
18日前
Planet Savers株式会社
気体濃縮装置
1か月前
日東電工株式会社
吸着材
1か月前
株式会社プロテリアル
触媒複合物および触媒前駆体複合物
1か月前
JFEエンジニアリング株式会社
二酸化炭素回収方法
1か月前
新甲エンジニアリング株式会社
使用済フロン再生装置
1か月前
続きを見る
他の特許を見る