TOP
|
特許
|
意匠
|
商標
特許ウォッチ
Twitter
他の特許を見る
10個以上の画像は省略されています。
公開番号
2025167730
公報種別
公開特許公報(A)
公開日
2025-11-07
出願番号
2024072587
出願日
2024-04-26
発明の名称
情報処理装置、情報処理装置の制御方法及びそのプログラム
出願人
キヤノン株式会社
代理人
個人
,
個人
,
個人
,
個人
,
個人
主分類
H04N
1/00 20060101AFI20251030BHJP(電気通信技術)
要約
【課題】 FAXジョブに発生するエラーの原因を把握できるように、情報処理装置のユーザビリティを向上させることを目的とする。
【解決手段】 複数の回線のうち1以上の回線を使用してFAXの送受信を行う情報処理装置であって、前記複数の回線のうち、FAXの送信に使用されない回線を設定する設定手段と、前記複数の回線の接続状態を診断する診断手段と、前記診断手段が診断した前記複数の回線の前記接続状態の診断結果と、前記設定手段により設定された前記複数の回線の設定と、を回線ごとに対応付けて表示する表示手段と、を有することを特徴とする情報処理装置。
【選択図】 図7
特許請求の範囲
【請求項1】
複数の回線のうち1以上の回線を使用してFAXの送受信を行う情報処理装置であって、
前記複数の回線のうち、FAXの送信に使用されない回線を設定する設定手段と、
前記複数の回線の接続状態を診断する診断手段と、
前記診断手段が診断した前記複数の回線の前記接続状態の診断結果と、前記設定手段により設定された前記複数の回線の設定と、を回線ごとに対応付けて表示する表示手段と、
を有することを特徴とする情報処理装置。
続きを表示(約 1,100 文字)
【請求項2】
前記診断手段は、前記情報処理装置とケーブルとの接続状態を診断する、
ことを特徴とする請求項1に記載の情報処理装置。
【請求項3】
前記診断手段は、前記ケーブルを介して前記情報処理装置にかかる電圧値に基づいて前記接続状態を診断する、
ことを特徴とする請求項2に記載の情報処理装置。
【請求項4】
前記設定手段は、前記複数の回線のうち少なくとも1つの回線を、FAXの送信に使用する回線として設定する、
ことを特徴とする請求項1に記載の情報処理装置。
【請求項5】
前記情報処理装置が使用できる回線が1つである場合、前記設定手段によりFAXの送信に使用されない回線を設定できない、
ことを特徴とする請求項4に記載の情報処理装置。
【請求項6】
前記診断手段はさらに、複数の診断内容から1以上の診断内容と、前記情報処理装置が実行するFAXジョブのジョブ情報のうち1以上のジョブ情報と、が選択されることで、選択された前記ジョブ情報に関する診断を行う、
ことを特徴とする請求項1に記載の情報処理装置。
【請求項7】
前記診断手段は、前記複数の診断内容のうち、前記接続状態に関する診断内容が選択された場合、前記ジョブ情報の選択を経ることなく、前記接続状態の診断を行う、
ことを特徴とする請求項6に記載の情報処理装置。
【請求項8】
前記診断手段は、前記ジョブ情報がない状態で、前記1以上の診断内容が選択された場合、前記ジョブ情報の選択を経ることなく、前記接続状態の診断を行う、
ことを特徴とする請求項7に記載の情報処理装置。
【請求項9】
前記情報処理装置は、紙に画像を印刷する印刷手段と、
を有することを特徴とする請求項1に記載の情報処理装置。
【請求項10】
コンピュータ読み取り可能な記憶媒体に記憶可能な制御プログラムであって、コンピュータに実行されることにより、
複数の回線のうち1以上の回線を使用してFAXの送受信を行う情報処理装置を、
前記複数の回線のうち、FAXの送信に使用されない回線を設定する設定手段と、
前記複数の回線の接続状態を診断する診断手段と、
前記診断手段が診断した前記複数の回線の前記接続状態の診断結果と、前記設定手段により設定された前記複数の回線の設定と、を回線ごとに対応付けて表示する表示手段と、
を有する情報処理装置として機能させることを特徴とする制御プログラム。
(【請求項11】以降は省略されています)
発明の詳細な説明
【技術分野】
【0001】
装置の診断を行う情報処理装置に関する。
続きを表示(約 1,200 文字)
【背景技術】
【0002】
MFPを利用してファクスを行った際に送信できなかったり、エラー終了したりする場合がある。この時、ユーザは製品のマニュアルを確認して対処しようとするが、自身では問題解決にたどり着けない場合がある。そうするとユーザはコールセンターに問合せをしたり、それでも解決しない場合はサービスマンを派遣したりして問題解決を行うことになる。
【0003】
このようなコールセンターへの問合せやサービスマンの派遣を減らすために、ユーザ自信で問題解決にたどり着けるようにする機能の提供が求められる。
【0004】
従来の技術として、MFPで発生した不具合症状とその不具合を解決できる可能性のある設定(調整)項目を対応付けてUIに表示する方法が提案されている(特許文献1)。
【先行技術文献】
【特許文献】
【0005】
特開2021-39425号公報
【発明の概要】
【発明が解決しようとする課題】
【0006】
複数のFAXの回線を使用できる情報処理装置において、1つの回線にFAXの送受信が混みあわないよう、送信用の回線または受信用の回線を設定することができる。
【0007】
ここで、送信専用の回線と受信専用の回線を設定した状態で、FAXの送信を行った場合に、送信専用の回線に使用されるケーブルが抜けていると送信エラーとなる。送信専用の回線と受信専用の回線と設定されていることを認識しているユーザは、ケーブル抜けによるエラーであることを認識できる。しかしながら、送信専用の回線と受信専用の回線と設定されていることを認識していないユーザにとっては、見かけ上接続されているケーブルがあるにもかかわらず送信エラーとなっているため、なぜケーブル抜けによる送信エラーが発生したか、原因が分からない。
【0008】
そこで本発明は、FAXジョブに発生するエラーの原因を把握できるように、情報処理装置のユーザビリティを向上させることを目的とする。
【課題を解決するための手段】
【0009】
上記課題を鑑みて、本発明に係る情報処理装置は、複数の回線のうち1以上の回線を使用してFAXの送受信を行う情報処理装置であって、前記複数の回線のうち、FAXの送信に使用されない回線を設定する設定手段と、前記複数の回線の接続状態を診断する診断手段と、前記診断手段が診断した前記複数の回線の前記接続状態の診断結果と、前記設定手段により設定された前記複数の回線の設定と、を回線ごとに対応付けて表示する表示手段と、を有することを特徴とする。
【発明の効果】
【0010】
本発明によれば、FAXジョブに発生するエラーの原因を把握でき、ユーザビリティを向上させることができる。
【図面の簡単な説明】
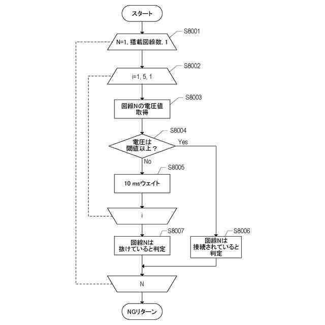
(【0011】以降は省略されています)
この特許をJ-PlatPat(特許庁公式サイト)で参照する
関連特許
キヤノン株式会社
電子機器
3日前
キヤノン株式会社
画像形成装置
3日前
キヤノン株式会社
情報処理装置
3日前
キヤノン株式会社
測距装置及び測距方法
3日前
キヤノン株式会社
有機発光素子及びその製造方法
3日前
キヤノン株式会社
眼科装置及び眼科装置の制御方法
3日前
キヤノン株式会社
光電変換装置及び光電変換システム
3日前
キヤノン株式会社
通信装置、その制御方法、並びにプログラム
3日前
キヤノン株式会社
通信装置、その制御方法、並びにプログラム
3日前
キヤノン株式会社
情報処理装置、情報処理方法、及びプログラム
3日前
キヤノン株式会社
画像形成装置、画像処理方法、及びプログラム
3日前
キヤノン株式会社
情報処理装置、その制御方法、及びプログラム
3日前
キヤノン株式会社
通信装置、通信装置の制御方法、及びプログラム
3日前
キヤノン株式会社
導光素子、画像表示装置および導光素子の製造方法
3日前
キヤノン株式会社
ブレードラバー、ワイパーブレード及びワイパー装置
3日前
キヤノン株式会社
光電変換装置、光電変換システム、移動体および機器
3日前
キヤノン株式会社
印刷検査装置、印刷検査装置の制御方法及びプログラム
3日前
キヤノン株式会社
画像処理装置、画像処理装置の制御方法およびプログラム
3日前
キヤノン株式会社
画像形成装置、画像形成装置の制御方法、及びプログラム
3日前
キヤノン株式会社
印刷システム、印刷システムの制御方法、およびプログラム
3日前
キヤノン株式会社
露光ヘッド
3日前
キヤノン株式会社
情報処理装置、画像処理装置、それらの方法、及びプログラム
3日前
キヤノン株式会社
印刷ジョブの適切な不具合診断を行うことが可能な画像形成装置
3日前
キヤノン株式会社
判断方法、情報処理装置、判断システム、プログラム及び記憶媒体
3日前
キヤノン株式会社
プリント媒体支持面上を移動可能なプリントヘッドメンテナンスユニット
3日前
キヤノン株式会社
プログラム及び制御方法
3日前
キヤノン株式会社
画像形成装置及び画像形成システム
3日前
キヤノン株式会社
焦点検出装置、焦点検出方法、および撮像装置
3日前
キヤノン株式会社
医用画像処理装置、医用画像処理方法及びプログラム
3日前
キヤノン株式会社
電子写真用クリーニングブレード、プロセスカートリッジ及び電子写真画像形成装置並びにウレタン成形体
3日前
キヤノン株式会社
情報処理装置、情報処理装置の制御方法、画像形成システム、プログラムおよび記憶媒体
3日前
個人
イヤーピース
1か月前
個人
イヤーマフ
1か月前
個人
監視カメラシステム
1か月前
個人
スイッチシステム
1か月前
キーコム株式会社
光伝送線路
1か月前
続きを見る
他の特許を見る