TOP
|
特許
|
意匠
|
商標
特許ウォッチ
Twitter
他の特許を見る
10個以上の画像は省略されています。
公開番号
2025167716
公報種別
公開特許公報(A)
公開日
2025-11-07
出願番号
2024072559
出願日
2024-04-26
発明の名称
バックボード接続構造
出願人
ニッタン株式会社
代理人
弁理士法人創光国際特許事務所
主分類
H05K
7/14 20060101AFI20251030BHJP(他に分類されない電気技術)
要約
【課題】簡単な作業で組み付けることができ、かつ、中継器のコネクタを良好に接続できるバックボード接続構造を提供する。
【解決手段】このバックボード接続構造は、機器側コネクタ15が設けられたバックボード10と、ベース50と、を備え、バックボード10は延出部を有し、ベース50は、バックボード10がベース50の側に押し付けられた状態で、バックボード10の第1面とは反対の第2面に対して、バックボード10が押し付けられた向きとは反対向きの付勢力を付与する付勢部材と、バックボード10が、バックボード10がベース50の側に押し付けられた状態で、上記幅方向に直交しかつバックボード10の厚さ方向に直交するスライド方向に移動した場合に、延出部が挿入される受入部56と、を有し、付勢部材は、バックボード10が受入部56の内面に押し付けられるようにバックボード10に対して付勢力を付与する。
【選択図】図2
特許請求の範囲
【請求項1】
中継器に設けられた中継器側コネクタが接続される機器側コネクタが第1面に設けられたバックボードと、
前記バックボードが取外し可能に装着されるベースと、
を備え、
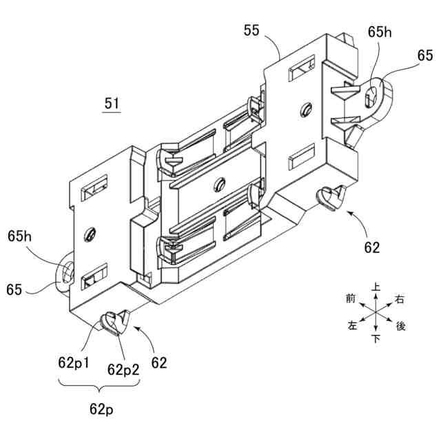
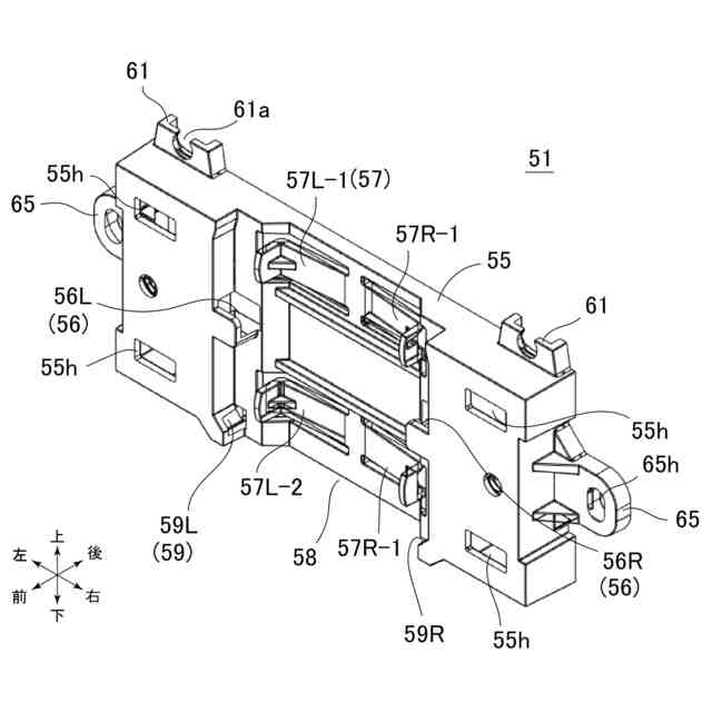
前記バックボードは、前記バックボードの幅方向に延び出した延出部を有し、
前記ベースは、
前記バックボードが前記ベースの側に押し付けられた状態で、前記バックボードの前記第1面とは反対の第2面に対して、前記バックボードが押し付けられた向きとは反対向きの付勢力を付与する付勢部材と、
前記バックボードが、前記バックボードが前記ベースの側に押し付けられた状態で、前記幅方向に直交しかつ前記バックボードの厚さ方向に直交するスライド方向に移動した場合に、前記延出部が挿入される受入部と、
を有し、
前記付勢部材は、前記バックボードが前記受入部の内面に押し付けられるように前記バックボードに対して前記付勢力を付与する、
バックボード接続構造。
続きを表示(約 1,200 文字)
【請求項2】
前記延出部には、前記バックボードを貫通する貫通孔又は前記バックボードの厚さ方向に窪んだ凹部が形成されており、
前記受入部には、前記貫通孔又は前記凹部に嵌まり込むことができるように前記バックボードの側に突出したロック用突起が形成されている、
請求項1に記載のバックボード接続構造。
【請求項3】
前記延出部として、
前記バックボードの幅方向における右側に形成された右側延出部と、
前記バックボードの幅方向における左側に形成された左側延出部と、
が設けられており、
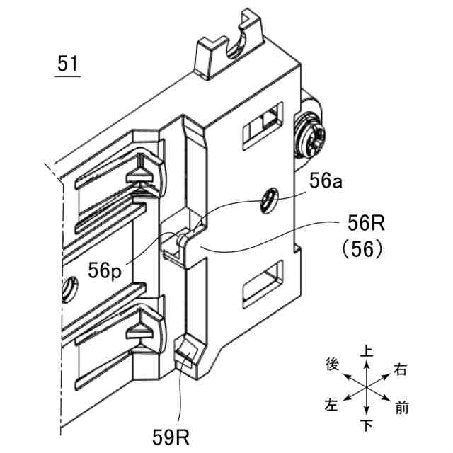
前記ベースは、前記受入部として、
前記右側延出部を受け入れる右側受入部と、
前記左側延出部を受け入れる左側受入部と、
を有し、
前記ロック用突起は、前記右側受入部及び前記左側受入部の一方又は両方に形成されている、
請求項2に記載のバックボード接続構造。
【請求項4】
前記バックボードは、
前記バックボードの厚さ方向、前記バックボードの幅方向、及び、前記スライド方向に移動可能な状態で、前記ベースに保持されている、
請求項1又は2に記載のバックボード接続構造。
【請求項5】
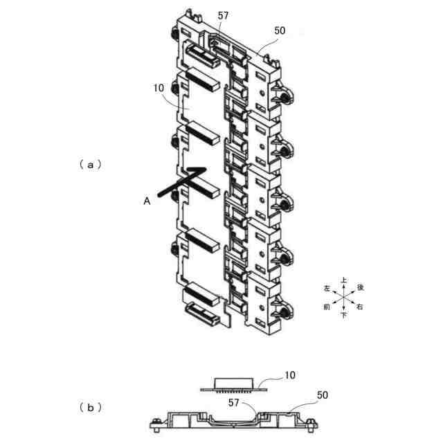
前記ベースは、複数の中継器ベースユニットで構成され、
前記中継器ベースユニットは、
前記受入部と、
前記バックボードのスライド方向と平行に延び、前記バックボードが配置されるボード配置凹部と、
を有し、
複数の前記中継器ベースユニットが互いに連結された状態で、複数の前記ボード配置凹部が連なって1つのボード配置部を形成し、前記ボード配置部に前記バックボードが装着される、
請求項1又は2に記載のバックボード接続構造。
【請求項6】
各中継器ベースユニットの前記受入部には、前記バックボードの側に向かって突出したロック用突起が形成されており、
前記バックボードは、
複数の前記中継器ベースユニットのうちの第1中継器ベースユニットの前記受入部に挿入される第1延出部と、
前記第1延出部から前記バックボードの前記スライド方向に離れた位置に形成され、第2中継器ベースユニットの前記受入部に挿入される第2延出部と、
を有し、
第1延出部には、第1中継器ベースユニットの前記ロック用突起が嵌まり込む貫通孔又は凹部が形成され、
第2延出部には、第2中継器ベースユニットの前記ロック用突起に係合する突出片が形成されている、
請求項1に記載のバックボード接続構造。
【請求項7】
前記ベースは、複数の中継器ベースユニットで構成され、
前記中継器ベースユニットは、
前記受入部と、
前記バックボードの端部を受け入れるボード端受入部と、
を有している、
請求項1又は2に記載のバックボード接続構造。
発明の詳細な説明
【技術分野】
【0001】
本発明は、バックボード接続構造に関する。
続きを表示(約 1,600 文字)
【背景技術】
【0002】
従来、火災報知システムの中継器に関し、工具を使わずに簡単な作業で中継器をベースに装着できる構造が知られている(例えば、特許文献1を参照)。
【先行技術文献】
【特許文献】
【0003】
特開2007-334592号公報
【発明の概要】
【発明が解決しようとする課題】
【0004】
中継器を中継器盤に取り付ける場合、中継器をベースに対して機械的に接続することと、中継器を機器側の基板等に対して電気的に接続することとの両方が必要となる。製造上の誤差や部品の寸法誤差によりコネクタの位置に誤差が生じている場合、従来の構成では、中継器のコネクタを機器側のコネクタに接続する際、コネクタを良好に接続できないという問題があった。また、機器側のコネクタが設けられた基板(バックボード)はベースに簡単な作業で取付可能であることが望ましい。
【0005】
そこで、本発明は上記の点に鑑みてなされたものであり、バックボードを簡単な作業で取り付けることができ、かつ、中継器のコネクタを良好に接続できるバックボード接続構造を提供することを目的とする。
【課題を解決するための手段】
【0006】
本発明の一形態のバックボード接続構造は、中継器に設けられた中継器側コネクタが接続される機器側コネクタが第1面に設けられたバックボードと、前記バックボードが取外し可能に装着されるベースと、を備え、前記バックボードは、前記バックボードの幅方向に延び出した延出部を有し、前記ベースは、前記バックボードが前記ベースの側に押し付けられた状態で、前記バックボードの前記第1面とは反対の第2面に対して、前記バックボードが押し付けられた向きとは反対向きの付勢力を付与する付勢部材と、前記バックボードが、前記バックボードが前記ベースの側に押し付けられた状態で、前記幅方向に直交しかつ前記バックボードの厚さ方向に直交するスライド方向に移動した場合に、前記延出部が挿入される受入部と、を有し、前記付勢部材は、前記バックボードが前記受入部の内面に押し付けられるように前記バックボードに対して前記付勢力を付与する。
【0007】
前記延出部には、前記バックボードを貫通する貫通孔又は前記バックボードの厚さ方向に窪んだ凹部が形成されており、前記受入部には、前記貫通孔又は前記凹部に嵌まり込むことができるように前記バックボードの側に突出したロック用突起が形成されていてもよい。
【0008】
前記延出部として、前記バックボードの幅方向における右側に形成された右側延出部と、前記バックボードの幅方向における左側に形成された左側延出部と、が設けられており、前記ベースは、前記受入部として、前記右側延出部を受け入れる右側受入部と、前記左側延出部を受け入れる左側受入部と、を有し、前記ロック用突起は、前記右側受入部及び前記左側受入部の一方又は両方に形成されていてもよい。
【0009】
前記バックボードは、前記バックボードの厚さ方向、前記バックボードの幅方向、及び、前記スライド方向に移動可能な状態で、前記ベースに保持されていてもよい。
【0010】
前記ベースは、複数の中継器ベースユニットで構成され、前記中継器ベースユニットは、前記受入部と、前記バックボードのスライド方向と平行に延び、前記バックボードが配置されるボード配置凹部と、を有し、複数の前記中継器ベースユニットが互いに連結された状態で、複数の前記ボード配置凹部が連なって1つのボード配置部を形成し、前記ボード配置部に前記バックボードが装着されてもよい。
(【0011】以降は省略されています)
この特許をJ-PlatPat(特許庁公式サイト)で参照する
関連特許
ニッタン株式会社
熱感知器
4日前
個人
電子部品の実装方法
2か月前
日本精機株式会社
回路基板
2か月前
個人
電気式バーナー
1か月前
愛知電機株式会社
装柱金具
1か月前
日星電気株式会社
面状ヒータ
23日前
日本放送協会
基板固定装置
2か月前
キヤノン株式会社
電子機器
2か月前
アイホン株式会社
電気機器
2か月前
イビデン株式会社
配線基板
2か月前
メクテック株式会社
配線基板
3か月前
東レ株式会社
霧化状活性液体供給装置
3か月前
個人
静電気中和除去装置
1か月前
シャープ株式会社
加熱機器
1か月前
イビデン株式会社
配線基板
3か月前
イビデン株式会社
プリント配線板
2か月前
株式会社デンソー
電子装置
2か月前
サクサ株式会社
筐体の壁掛け構造
3か月前
サクサ株式会社
開き角度規制構造
1か月前
株式会社レクザム
剥離装置
1か月前
FDK株式会社
基板
2か月前
株式会社デンソー
電子装置
1か月前
株式会社デンソー
電子装置
9日前
日本精機株式会社
車両表示装置用回路基板
2日前
日産自動車株式会社
電子機器
17日前
新電元工業株式会社
電子装置
2か月前
日産自動車株式会社
電子部品
2か月前
オムロン株式会社
端子折り曲げ治具
2か月前
富士フイルム株式会社
積層体
2か月前
株式会社レゾナック
冷却装置
2か月前
富士電子工業株式会社
誘導加熱コイル
2か月前
新光電気工業株式会社
配線基板
2か月前
富士電子工業株式会社
誘導加熱コイル
2か月前
TDK株式会社
接合構造
9日前
豊田合成株式会社
制御ユニット
9日前
タイガー魔法瓶株式会社
加熱器
2か月前
続きを見る
他の特許を見る