TOP
|
特許
|
意匠
|
商標
特許ウォッチ
Twitter
他の特許を見る
10個以上の画像は省略されています。
公開番号
2025167715
公報種別
公開特許公報(A)
公開日
2025-11-07
出願番号
2024072558
出願日
2024-04-26
発明の名称
中継器及び中継器接続構造
出願人
ニッタン株式会社
代理人
弁理士法人創光国際特許事務所
主分類
H01R
31/06 20060101AFI20251030BHJP(基本的電気素子)
要約
【課題】中継器のコネクタを接続対象のコネクタに良好に接続できる中継器を提供する。
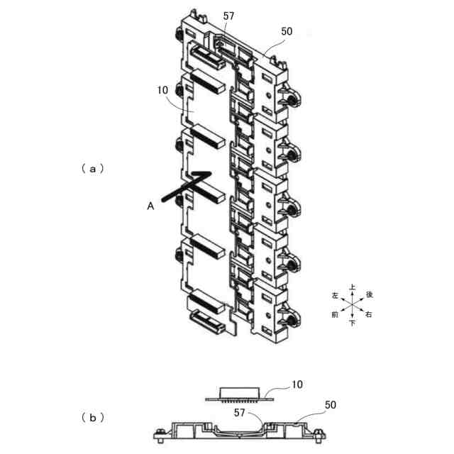
【解決手段】バックボード10上の機器側コネクタ15に対して所定の接続方向に沿って差し込まれることによって接続される中継器側コネクタが設けられた基板110と、中継器側コネクタの端子部を外部に露出させた状態で基板110を収容する筐体150と、を備え、基板110は、基板の厚さ方向、接続方向、及び、接続方向に直交するとともに基板の厚さ方向に直交する基板幅方向に移動可能な状態で筐体150内に収容され、筐体150は、基板110を筐体150内の所定の支持位置で支持するとともに、基板110が支持位置から接続方向又は基板幅方向に移動した場合には、基板110に対して、基板110が支持位置に戻る 向きの力を付与する弾性支持機構を有している。
【選択図】図19
特許請求の範囲
【請求項1】
バックボード上の機器側コネクタに対して所定の接続方向に沿って差し込まれることによって接続される中継器側コネクタが設けられた基板と、
前記中継器側コネクタの端子部を外部に露出させた状態で前記基板を収容する筐体と、
を備え、
前記基板は、前記基板の厚さ方向、前記接続方向、及び、前記接続方向に直交するとともに前記基板の厚さ方向に直交する基板幅方向に移動可能な状態で前記筐体内に収容され、
前記筐体は、
前記基板を前記筐体内の所定の支持位置で支持するとともに、前記基板が前記支持位置から前記接続方向又は前記基板幅方向に移動した場合には、前記基板に対して、前記基板が前記支持位置に戻る向きの力を付与する弾性支持機構を有している、
中継器。
続きを表示(約 1,000 文字)
【請求項2】
前記弾性支持機構は、
前記基板幅方向における前記基板の両端部を支持する一対の板バネを有する、
請求項1に記載の中継器。
【請求項3】
前記基板の両端部に前記板バネの爪部が嵌まり込む切欠き部が形成されており、
前記板バネの前記爪部は、前記切欠き部の側に向かって突出する曲面形状の突出部である、
請求項2に記載の中継器。
【請求項4】
前記基板を平面視する方向に見た場合に、前記突出部の輪郭形状と、前記切欠き部の輪郭形状とがいずれも円弧状であり、
前記切欠き部の曲率半径が、前記突出部の曲率半径よりも大きい、
請求項3に記載の中継器。
【請求項5】
前記筐体は、
前記基板が差し込まれるガイド溝を形成するガイドリブを有し、
前記ガイド溝は、前記基板の厚さ方向における溝幅が前記基板の厚さよりも大きく、かつ、前記ガイド溝に差し込まれた前記基板のうち前記中継器側コネクタが設けられた側ほど溝幅が大きくなるように形成されている、
請求項1又は2に記載の中継器。
【請求項6】
請求項1又は2に記載の中継器と、
前記中継器が着脱自在に接続可能なバックボードと、
前記バックボードが装着されるベースと、
を備え、
前記ベースは、
前記機器側コネクタが設けられた前記バックボードを、前記バックボードの厚さ方向、前記バックボードの幅方向、及び、前記バックボードの幅方向に直交するとともに前記バックボードの厚さ方向に直交する方向のうちの1以上の方向に移動可能な状態で保持する、
中継器接続構造。
【請求項7】
前記ベースは、
前記バックボードが前記ベースの側に押し付けられた状態で、前記バックボードに対して、前記バックボードが押し付けられた向きとは反対向きの付勢力を付与する付勢部材と、
前記バックボードから前記バックボードの幅方向に延び出した延出部が挿入される受入部と、
を有し、
前記付勢部材は、前記中継器が取り付けられる前の状態において、前記バックボードが前記受入部の内面に押し付けられるように前記バックボードに対して前記付勢力を付与するものであり、
前記中継器が取り付けられた状態では、前記バックボードが、前記受入部の前記内面から離れ、前記付勢部材によって前記中継器の側に向かって付勢される、
請求項6に記載の中継器接続構造。
発明の詳細な説明
【技術分野】
【0001】
本発明は、中継器及び中継器接続構造に関する。
続きを表示(約 1,200 文字)
【背景技術】
【0002】
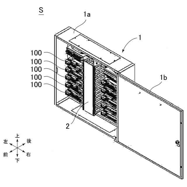
従来、火災報知システムの中継器に関し、工具を使わずに簡単な作業で中継器をベースに装着できる構造が知られている(例えば、特許文献1を参照)。
【先行技術文献】
【特許文献】
【0003】
特開2007-334592号公報
【発明の概要】
【発明が解決しようとする課題】
【0004】
中継器を中継器盤に取り付ける場合、中継器をベースに対して機械的に接続することと、中継器を所定の基板に対して電気的に接続することとの両方が必要となる。製造上の組立誤差や部品自体の寸法誤差によりコネクタの位置に誤差が生じている場合、中継器のコネクタを接続対象のコネクタに良好に接続できないという問題が生じる。
【0005】
そこで、本発明は上記の点に鑑みてなされたものであり、中継器のコネクタを接続対象のコネクタに良好に接続できる中継器及び中継器接続構造を提供することを目的とする。
【課題を解決するための手段】
【0006】
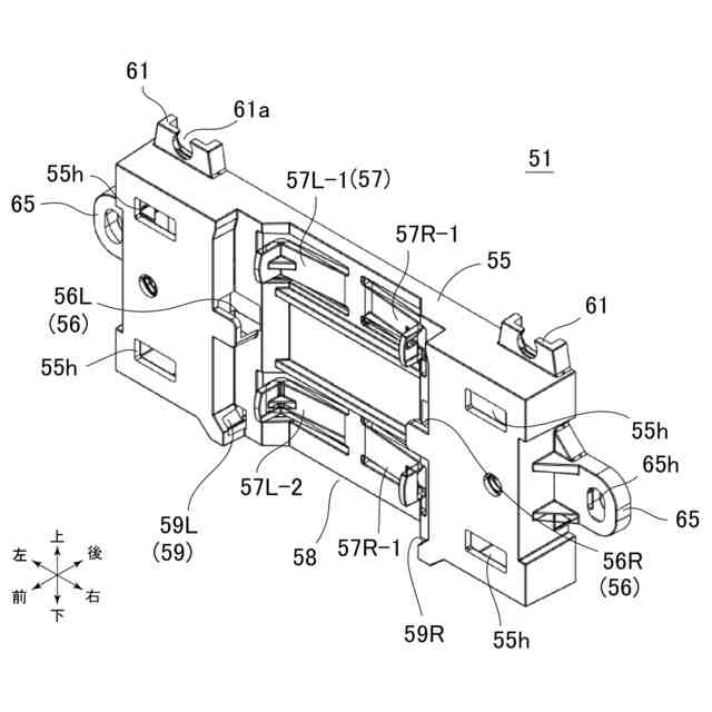
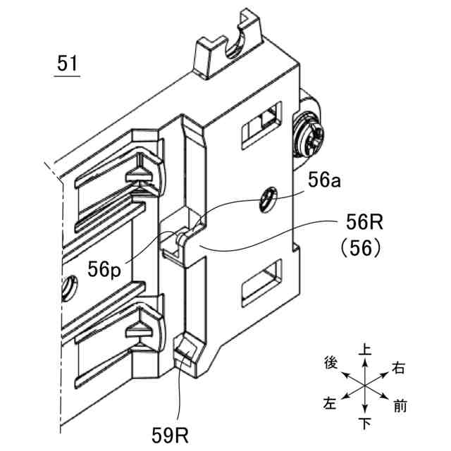
本発明の一形態の中継器は、バックボード上の機器側コネクタに対して所定の接続方向に沿って差し込まれることによって接続される中継器側コネクタが設けられた基板と、前記中継器側コネクタの端子部を外部に露出させた状態で前記基板を収容する筐体と、を備え、前記基板は、前記基板の厚さ方向、前記接続方向、及び、前記接続方向に直交するとともに前記基板の厚さ方向に直交する基板幅方向に移動可能な状態で前記筐体内に収容され、前記筐体は、前記基板を前記筐体内の所定の支持位置で支持するとともに、前記基板が前記支持位置から前記接続方向又は前記基板幅方向に移動した場合には、前記基板に対して、前記基板が前記支持位置に戻る向きの力を付与する弾性支持機構を有している。
【0007】
前記弾性支持機構は、前記基板幅方向における前記基板の両端部を支持する一対の板バネを有していてもよい。
【0008】
前記基板の両端部に前記板バネの爪部が嵌まり込む切欠き部が形成されており、前記板バネの前記爪部は、前記切欠き部の側に向かって突出する曲面形状の突出部であってもよい。
【0009】
前記基板を平面視する方向に見た場合に、前記突出部の輪郭形状と、前記切欠き部の輪郭形状とがいずれも円弧状であり、前記切欠き部の曲率半径が、前記突出部の曲率半径よりも大きくてもよい。
【0010】
前記筐体は、前記基板が差し込まれるガイド溝を形成するガイドリブを有し、前記ガイド溝は、前記基板の厚さ方向における溝幅が前記基板の厚さよりも大きく、かつ、前記ガイド溝に差し込まれた前記基板のうち前記中継器側コネクタが設けられた側ほど溝幅が大きくなるように形成されていてもよい。
(【0011】以降は省略されています)
この特許をJ-PlatPat(特許庁公式サイト)で参照する
関連特許
ニッタン株式会社
発信機
19日前
ニッタン株式会社
熱感知器
4日前
東ソー株式会社
絶縁電線
1か月前
APB株式会社
蓄電セル
1か月前
日機装株式会社
加圧装置
2日前
日新イオン機器株式会社
イオン源
1か月前
日新イオン機器株式会社
イオン源
2日前
株式会社東芝
端子台
1か月前
マクセル株式会社
電源装置
1か月前
ローム株式会社
半導体装置
1か月前
株式会社GSユアサ
蓄電設備
1か月前
富士電機株式会社
電磁接触器
17日前
三菱電機株式会社
回路遮断器
25日前
株式会社GSユアサ
蓄電装置
17日前
株式会社GSユアサ
蓄電設備
1か月前
株式会社GSユアサ
蓄電装置
1か月前
株式会社GSユアサ
蓄電装置
1か月前
株式会社ホロン
冷陰極電子源
1か月前
株式会社GSユアサ
蓄電装置
1か月前
株式会社トクミ
ケーブル
3日前
トヨタ自動車株式会社
バッテリ
1か月前
トヨタ自動車株式会社
蓄電装置
1か月前
北道電設株式会社
配電具カバー
1か月前
株式会社東芝
電子源
2日前
日新イオン機器株式会社
基板処理装置
1か月前
日本特殊陶業株式会社
保持装置
1か月前
日本特殊陶業株式会社
保持装置
1か月前
トヨタ自動車株式会社
冷却構造
1か月前
大電株式会社
電線又はケーブル
9日前
個人
電源ボックス及び電子機器
2日前
ホシデン株式会社
複合コネクタ
11日前
トヨタ自動車株式会社
蓄電装置
9日前
住友電装株式会社
コネクタ
1か月前
株式会社トクヤマ
シリコンエッチング液
1か月前
株式会社トクヤマ
シリコンエッチング液
1か月前
ローム株式会社
半導体モジュール
18日前
続きを見る
他の特許を見る