TOP
|
特許
|
意匠
|
商標
特許ウォッチ
Twitter
他の特許を見る
公開番号
2025167651
公報種別
公開特許公報(A)
公開日
2025-11-07
出願番号
2024072482
出願日
2024-04-26
発明の名称
送電装置及び充電システム
出願人
株式会社デンソー
代理人
名古屋国際弁理士法人
主分類
H02J
50/20 20160101AFI20251030BHJP(電力の発電,変換,配電)
要約
【課題】電子機器の充電に関する利便性を向上させるための新しい技術を提供する。
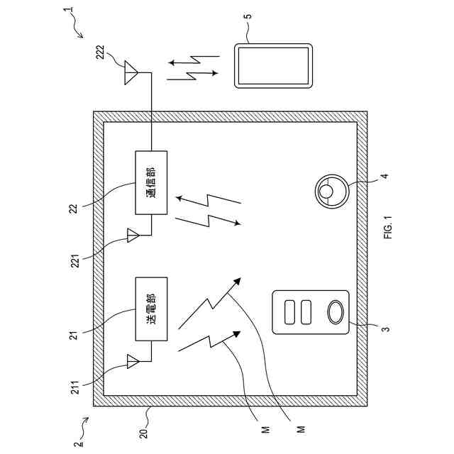
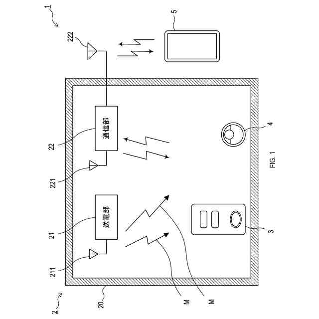
【解決手段】送電装置2は、筐体20と、送電部21と、通信部22と、を備える。筐体は、少なくとも1つの充電装置4,4a,4bを収容する。通信部は、筐体の内部に配置され、充電装置と通信可能に構成される。送電部は、筐体の内部に配置され、充電装置に対する電力供給用の電力電波Mを送信可能に構成される。充電装置のそれぞれは、電力電波を用いて充電動作46を実行するように構成され、更には所定の無線信号を送信するように構成されている。送電部は、筐体の内部で所定の無線信号を通信部が受信したことを条件に、所定の無線信号が到来した方向に向けて電力電波を送信するように構成される。
【選択図】図1
特許請求の範囲
【請求項1】
送電装置(2)であって、
少なくとも1つの充電装置(4)を収容するための筐体(20)と、
前記筐体の内部に配置され、前記少なくとも1つの充電装置と通信可能に構成される通信部(22)と、
前記筐体の内部に配置され、前記少なくとも1つの充電装置に対して、電力供給用の電波である電力電波(M)を送信可能に構成される送電部(21)と、
を備え、
前記少なくとも1つの充電装置のそれぞれは、前記電力電波を用いて充電動作を実行するように構成され、更には所定の無線信号を送信するように構成されており、
前記送電部は、前記筐体の内部で前記所定の無線信号を前記通信部が受信したことを条件に、前記所定の無線信号が到来した方向に向けて前記電力電波を送信するように構成される、
送電装置。
続きを表示(約 1,700 文字)
【請求項2】
請求項1に記載の送電装置であって、
前記筐体は、前記筐体の内部で発生した電波が前記筐体の外部に伝搬することを抑制するように構成される、
送電装置。
【請求項3】
請求項1に記載の送電装置であって、
前記送電部により送信される前記電力電波は、指向性を有する、
送電装置。
【請求項4】
請求項3に記載の送電装置であって、
前記少なくとも1つの充電装置は、第1の二次電池(42a)を備える第1充電装置(4a)と、第2の二次電池(42b)を備える第2充電装置(4b)と、を含み、
前記第1充電装置は、前記所定の無線信号として、前記第1の二次電池の電池残量を示す第1残量信号を送信するように構成され、
前記第2充電装置は、前記所定の無線信号として、前記第2の二次電池の電池残量を示す第2残量信号を送信するように構成され、
前記送電部は、前記第1残量信号が示す前記第1の二次電池の電池残量及び前記第2残量信号が示す前記第2の二次電池の電池残量に基づき、前記第1残量信号が到来した方向及び前記第2残量信号が到来した方向のうちの少なくとも一方に向けて前記電力電波を送信するように構成される、
送電装置。
【請求項5】
請求項4に記載の送電装置であって、
前記送電部は、
前記通信部が受信した前記第1残量信号及び前記第2残量信号に基づき、前記第1の二次電池及び前記第2の二次電池のうち相対的に電池残量の少ない二次電池を残量少電池として判定する判定処理を実行し、
前記第1充電装置及び前記第2充電装置のうち、前記残量少電池を有する充電装置からの前記所定の無線信号が到来した方向に向けて、前記電力電波を送信するように構成される、
送電装置。
【請求項6】
請求項5に記載の送電装置であって、
前記送電部は、前記判定処理を実行した後、前記残量少電池の電池残量が少なくとも所定の残量閾値を超えるまで、前記残量少電池を有する充電装置からの前記所定の無線信号が到来した方向に向けて、前記電力電波を送信し続けるように構成される、
送電装置。
【請求項7】
請求項3から請求項6までのいずれか一項に記載の送電装置を備える充電システム(1)であって、
前記少なくとも1つの充電装置を更に備え、
前記少なくとも1つの充電装置のそれぞれは、
二次電池(42)と、
前記充電動作として、前記送電装置からの前記電力電波を受信し、受信した前記電力電波を用いて前記二次電池を充電するように構成される充電回路(46)と、
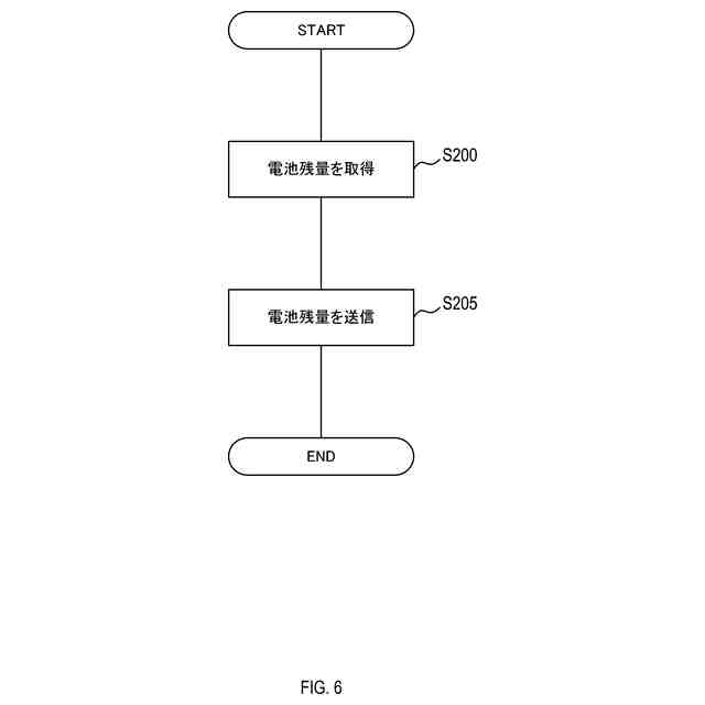
前記所定の無線信号として、前記二次電池の電池残量を示す残量信号を前記送電装置に送信するように構成される通信回路(41,43,S205)と、
電子機器(3)に装着された状態において、前記電子機器が動作するために必要な動作電力を前記二次電池から前記電子機器に供給可能に構成される電力供給回路(49)と、
を備える、充電システム。
【請求項8】
請求項7に記載の充電システムであって、
前記少なくとも1つの充電装置は、前記充電回路が前記電力電波を用いて前記二次電池を充電しているときには、前記電子機器に前記動作電力を供給しないように構成される、
充電システム。
【請求項9】
請求項7に記載の充電システムであって、
前記送電部が送信する前記電力電波は、所定の周波数を有し、
前記少なくとも1つの充電装置は、前記所定の周波数の電波を受信しているときには、前記動作電力を前記電子機器に供給しないように構成される、
充電システム。
【請求項10】
請求項7に記載の充電システムであって、
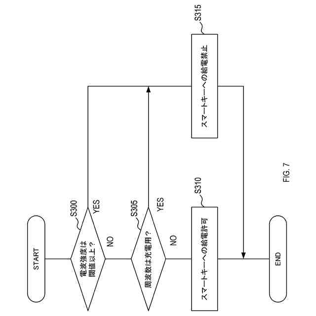
前記少なくとも1つの充電装置は、所定の強度閾値以上の電波強度を有する電波を受信した場合、前記動作電力を前記電子機器に供給しないように構成される、
充電システム。
(【請求項11】以降は省略されています)
発明の詳細な説明
【技術分野】
【0001】
本開示は送電装置及び充電システムに関する。
続きを表示(約 1,300 文字)
【背景技術】
【0002】
使い捨ての一次電池や充電可能な二次電池等を装着することにより動作する電子機器が知られている。このような電子機器では、電池の付け替えや充電等の手間が発生するため、利便性の向上が求められている。
【0003】
例えば、特許文献1には、車両機器を遠隔操作する電子キーに、無線の電力伝送によって充電可能な二次電池を設け、ノイズシールド付き充電器に電子キーを収納することによって当該二次電池を充電する電子キー充電装置が開示されている。
【先行技術文献】
【特許文献】
【0004】
特開2011-254634号公報
【発明の概要】
【発明が解決しようとする課題】
【0005】
特許文献1で開示されているような従来技術において、電子機器又は二次電池を充電するためには、あらかじめ定められた場所に電子機器又は二次電池を配置しなければならず、また、一度に複数の電子機器又は二次電池を充電することができない課題が見出された。
【0006】
本開示の一局面は、電子機器の充電に関する利便性を向上させるための新しい技術を提供することにある。
【課題を解決するための手段】
【0007】
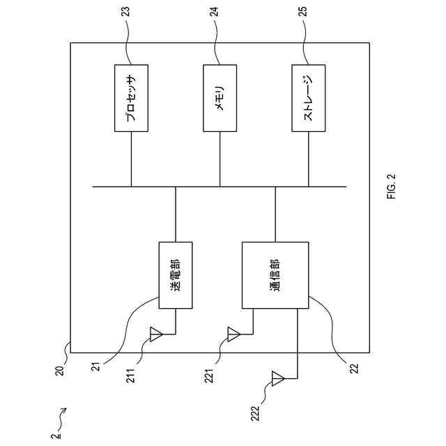
本開示の一態様は、送電装置(2)であって、筐体(20)と、通信部(22)と、送電部(21)と、を備える。
筐体は、少なくとも1つの充電装置(4)を収容するように構成される。通信部は、筐体の内部に配置され、少なくとも1つの充電装置と通信可能に構成される。送電部は、筐体の内部に配置され、少なくとも1つの充電装置に対して、電力供給用の電波である電力電波(M)を送信可能に構成される。
【0008】
少なくとも1つの充電装置のそれぞれは、電力電波を用いて充電動作を実行するように構成され、更には所定の無線信号を送信するように構成されている。
送電部は、筐体の内部で所定の無線信号を通信部が受信したことを条件に、所定の無線信号が到来した方向に向けて電力電波を送信するように構成される。
【0009】
このような構成によれば、送電装置は、充電装置が配置された位置によらず、ワイヤレス充電によって充電装置を充電することができる。このため、ユーザは、充電の際に充電装置を配置する位置を過剰に意識する必要がなくなる。よって、充電装置の充電に関する利便性を向上させることができる。
【図面の簡単な説明】
【0010】
充電システムの構成を示す図である。
送電装置の構成を示すブロック図である。
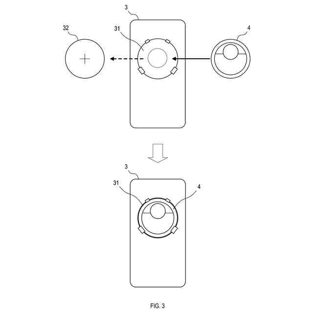
スマートキーの一次電池を充電装置に付け替えることを説明する図である。
充電装置の構成を示すブロック図である。
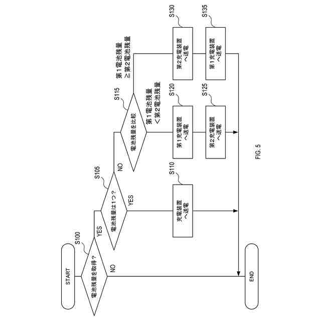
送電装置の送電処理を表すフローチャートである。
充電装置の残量通知処理を表すフローチャートである。
充電装置の給電制御処理を表すフローチャートである。
【発明を実施するための形態】
(【0011】以降は省略されています)
特許ウォッチbot のツイートを見る
この特許をJ-PlatPat(特許庁公式サイト)で参照する
関連特許
株式会社デンソーウェーブ
筐体
1か月前
株式会社デンソー
ロータ
4日前
株式会社デンソー
ロータ
4日前
株式会社デンソー
電動弁
1か月前
株式会社デンソー
電動機
9日前
株式会社デンソー
端子台
11日前
株式会社デンソー
回転機
1か月前
株式会社デンソー
分離体
17日前
株式会社デンソー
検出装置
1か月前
株式会社デンソー
光学部材
9日前
株式会社デンソー
トランス
9日前
株式会社デンソー
光学部材
17日前
株式会社デンソー
光学部材
17日前
株式会社デンソー
電子装置
9日前
株式会社デンソー
撮像装置
1か月前
株式会社デンソー
撮像装置
1か月前
株式会社デンソー
摺動機構
1か月前
株式会社デンソー
摺動機構
1か月前
株式会社デンソー
熱交換器
1か月前
株式会社デンソー
電子装置
1か月前
株式会社デンソー
電子装置
1か月前
株式会社デンソー
整流回路
2日前
株式会社デンソー
電解装置
1か月前
株式会社デンソー
電気回路
25日前
株式会社デンソー
制御装置
1か月前
株式会社デンソー
反力装置
1か月前
株式会社デンソー
回転電機
2日前
株式会社デンソー
電子装置
1か月前
株式会社デンソー
音低減装置
2日前
株式会社デンソー
熱交換部材
1か月前
株式会社デンソーテン
インバータ
1か月前
株式会社デンソー
半導体装置
1か月前
株式会社デンソー
半導体装置
1か月前
株式会社デンソーエレクトロニクス
電磁継電器
3日前
株式会社デンソートリム
鞍乗り車両
1か月前
株式会社デンソー
半導体装置
17日前
続きを見る
他の特許を見る