TOP
|
特許
|
意匠
|
商標
特許ウォッチ
Twitter
他の特許を見る
10個以上の画像は省略されています。
公開番号
2025167618
公報種別
公開特許公報(A)
公開日
2025-11-07
出願番号
2024072432
出願日
2024-04-26
発明の名称
露光ヘッド及び画像形成装置
出願人
キヤノン株式会社
代理人
弁理士法人中川国際特許事務所
主分類
B41J
2/447 20060101AFI20251030BHJP(印刷;線画機;タイプライター;スタンプ)
要約
【課題】温度上昇に伴う光学的な出力の変動を簡易な構成で抑制すること。
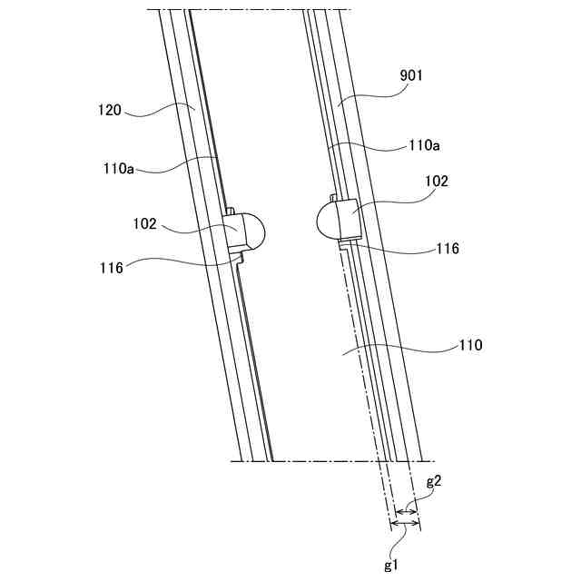
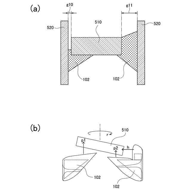
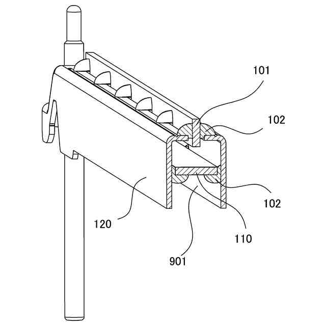
【解決手段】露光ヘッド100は、短手方向において保持体120に対して隙間g2を有して対向する端部110aと、短手方向において保持体120に対して隙間g2よりも大きい隙間g1を有して対向する切欠き部116と、を備える基板110と、基板110と保持体120とを切欠き部116を介して固定する接着剤102と、を有する。
【選択図】図7
特許請求の範囲
【請求項1】
像担持体を露光する露光ヘッドであって、
保持体と、
複数の発光素子が実装された基板と、
前記発光素子から出射された光を透過して前記像担持体に集光する複数のレンズを備えたレンズアレイと、
前記発光素子と前記レンズとを対向させた状態及び前記基板と前記保持体とを離間した状態で前記基板及び前記レンズアレイを前記保持体に固定する接着剤と、
を有し、
前記基板は、
前記基板の短手方向において前記保持体に対して第1の隙間を有して対向する第1の対向部と、前記短手方向において前記保持体に対して前記第1の隙間よりも大きい第2の隙間を有して対向する第2の対向部と、を備え、
前記接着剤は、
前記基板と前記保持体とを前記第2の対向部を介して固定する、
ことを特徴とする露光ヘッド。
続きを表示(約 500 文字)
【請求項2】
前記第2の対向部は、
前記基板を前記短手方向に切り欠いた切欠き部である、
ことを特徴とする請求項1に記載の露光ヘッド。
【請求項3】
前記保持体は、
前記短手方向に凹設された凹部を備え、
前記第2の対向部は、
前記短手方向において前記凹部に対向する、
ことを特徴とする請求項1に記載の露光ヘッド。
【請求項4】
前記接着剤は、
前記基板の長手方向において前記第2の対向部の長さよりも短い範囲において前記基板を前記保持体に固定する、
ことを特徴とする請求項1から請求項3のいずれか1項に記載の露光ヘッド。
【請求項5】
像担持体と、
前記像担持体を帯電させる帯電器と、
前記帯電器により帯電された前記像担持体を露光して前記像担持体に静電潜像を形成する請求項1から請求項3のいずれか1項に記載の露光ヘッドと、
前記静電潜像をトナーによって現像して前記像担持体上にトナー像を形成する現像器と、
を有することを特徴とする画像形成装置。
発明の詳細な説明
【技術分野】
【0001】
本発明は、像担持体を露光する露光ヘッド及びこの露光ヘッドを有するデジタル複写機又はファクシミリ装置等の電子写真方式の画像形成装置に関する。
続きを表示(約 1,600 文字)
【背景技術】
【0002】
従来、レーザビームプリンタ又はデジタル複写機等の電子写真方式の画像形成装置において、感光体を露光する手段の一つとしてLED露光ヘッドがある。LED露光ヘッドは、像担持体の表面に近接して設けられると共に像担持体の軸方向に沿って配置されたLED及びレンズアレイ等の光学系を備えた露光装置である。
【0003】
従来、このようなLED露光ヘッドにおいては、ドライバIC等の発熱により、LED及びレンズアレイと像担持体との像担持体の軸方向と直交する方向における相対位置が変動し、出力としての光量が変化してしまう可能性がある。これに対して、特許文献1は、熱源のドライバICの温度上昇を抑制するために、ドライバICと保持体とに接触する放熱部材を設ける構成を開示している。特許文献1によれば、ドライバICにおいて発生する熱を放熱部材を介して金属製の保持体に放熱させることにより、ドライバICの温度上昇を低減することができる。
【先行技術文献】
【特許文献】
【0004】
特開2021-074943号公報
【発明の概要】
【発明が解決しようとする課題】
【0005】
しかしながら、特許文献1においては、熱源の温度上昇を防ぐことは困難であり、熱源の温度上昇によって光量等の光学的な出力の変動を十分に抑えられないという課題を有する。
【0006】
本発明の目的は、温度上昇に伴う光学的な出力の変動を簡易な構成で抑制することができる露光ヘッド及び画像形成装置を提供することである。
【課題を解決するための手段】
【0007】
本発明に係る露光ヘッドは、像担持体を露光する露光ヘッドであって、保持体と、複数の発光素子が実装された基板と、前記発光素子から出射された光を透過して前記像担持体に集光する複数のレンズを備えたレンズアレイと、前記発光素子と前記レンズとを対向させた状態及び前記基板と前記保持体とを離間した状態で前記基板及び前記レンズアレイを前記保持体に固定する接着剤と、を有し、前記基板は、前記基板の短手方向において前記保持体に対して第1の隙間を有して対向する第1の対向部と、前記短手方向において前記保持体に対して前記第1の隙間よりも大きい第2の隙間を有して対向する第2の対向部と、を備え、前記接着剤は、前記基板と前記保持体とを前記第2の対向部を介して固定する、ことを特徴とする。
【発明の効果】
【0008】
本発明によれば、温度上昇による光量の変動を簡易な構成で抑制することができる。
【図面の簡単な説明】
【0009】
本発明の実施の形態1に係る画像形成装置の模式図である。
本発明の実施の形態1に係る露光ヘッドのレンズアレイ側から見た斜視図である。
本発明の実施の形態1に係る露光ヘッドの基板側から見た斜視図である。
図3のA-A断面図である。
本発明の実施の形態1に係る露光ヘッドの基板に実装されている部品及びレンズアレイのレンズの構成を示す斜視図である。
本発明の実施の形態1に係る露光ヘッドの基板の斜視図である。
本発明の実施の形態1に係る露光ヘッドの一部の拡大図である。
本発明の実施の形態1に係る露光ヘッドの接着剤の昇温前後の状態の模式図である。
本発明の実施の形態1に係る露光ヘッドのシミュレーションの結果を示す図である。
本発明の実施の形態2に係る露光ヘッドの断面図である。
【発明を実施するための形態】
【0010】
以下、実施の形態について図面を参照して詳細に説明する。
(【0011】以降は省略されています)
この特許をJ-PlatPat(特許庁公式サイト)で参照する
関連特許
キヤノン株式会社
容器
1か月前
キヤノン株式会社
容器
1か月前
キヤノン株式会社
トナー
1か月前
キヤノン株式会社
トナー
1か月前
キヤノン株式会社
現像装置
1か月前
キヤノン株式会社
撮像装置
3日前
キヤノン株式会社
撮像装置
26日前
キヤノン株式会社
定着装置
18日前
キヤノン株式会社
二次電池
5日前
キヤノン株式会社
現像容器
1か月前
キヤノン株式会社
撮像装置
1か月前
キヤノン株式会社
定着装置
24日前
キヤノン株式会社
発光装置
10日前
キヤノン株式会社
記録装置
1か月前
キヤノン株式会社
撮像装置
1か月前
キヤノン株式会社
記録装置
24日前
キヤノン株式会社
撮像装置
3日前
キヤノン株式会社
表示装置
3日前
キヤノン株式会社
撮像装置
3日前
キヤノン株式会社
撮像装置
3日前
キヤノン株式会社
記録装置
4日前
キヤノン株式会社
定着装置
24日前
キヤノン株式会社
記録装置
4日前
キヤノン株式会社
表示装置
1か月前
キヤノン株式会社
撮像装置
1か月前
キヤノン株式会社
撮像装置
18日前
キヤノン株式会社
撮像装置
18日前
キヤノン株式会社
定着装置
24日前
キヤノン株式会社
定着装置
18日前
キヤノン株式会社
現像容器
1か月前
キヤノン株式会社
現像装置
1か月前
キヤノン株式会社
撮像装置
3日前
キヤノン株式会社
撮像装置
10日前
キヤノン株式会社
電子機器
1か月前
キヤノン株式会社
電子機器
1か月前
キヤノン株式会社
撮像装置
12日前
続きを見る
他の特許を見る