TOP
|
特許
|
意匠
|
商標
特許ウォッチ
Twitter
他の特許を見る
10個以上の画像は省略されています。
公開番号
2025167455
公報種別
公開特許公報(A)
公開日
2025-11-07
出願番号
2024072078
出願日
2024-04-26
発明の名称
結束体および結束ラベル
出願人
株式会社フジシール
代理人
個人
,
個人
,
個人
主分類
B65D
71/02 20060101AFI20251030BHJP(運搬;包装;貯蔵;薄板状または線条材料の取扱い)
要約
【課題】複数の包装体が重ね合わせられた状態で結束ラベルによって結束されてなる結束体において、複数の包装体を一括して安定的に取り扱えるように結束しつつ、結束ラベルの使用量を低減し、個々の結束ラベルのサイズを小さくすること。
【解決手段】本発明の結束体は、複数の包装体が重ね合わせられた状態で結束ラベルによって結束されてなる結束体である。前記結束ラベルは、重ね合せられた前記複数の包装体の側面の1つである第1側面と、該第1側面の反対側の側面である第2側面とに、前記複数の包装体の間の境界を跨ぐように貼り付けられる。前記第1側面に垂直な方向から見た平面視において、前記第1側面に貼り付けられた結束ラベルと前記第2側面に貼り付けられた結束ラベルとの少なくとも一方は、他方と重ならない部分を有する。
【選択図】図1
特許請求の範囲
【請求項1】
複数の包装体が重ね合わせられた状態で結束ラベルによって結束されてなる結束体であって、
前記結束ラベルは、重ね合せられた前記複数の包装体の側面の1つである第1側面と、該第1側面の反対側の側面である第2側面とに、前記複数の包装体の間の境界を跨ぐように貼り付けられ、
前記第1側面に垂直な方向から見た平面視において、前記第1側面に貼り付けられた結束ラベルと前記第2側面に貼り付けられた結束ラベルとの少なくとも一方は、他方と重ならない部分を有する、結束体。
続きを表示(約 460 文字)
【請求項2】
前記第1側面および前記第2側面は、前記複数の包装体の長手方向に延びる長側面である、請求項1に記載の結束体。
【請求項3】
前記包装体は、複数の物品を長手方向に並べた状態で軟包材に収容してなる包装体であり、
前記包装体の前記第1側面および前記第2側面における前記複数の物品の間の境界に相当する位置に、結束ラベルが貼り付けられている、
請求項2に記載の結束体。
【請求項4】
前記第1側面に垂直な方向から見た平面視において、前記第1側面に貼り付けられた結束ラベルと前記第2側面に貼り付けられた結束ラベルとの両方が、他方と重ならない部分を有する、請求項1に記載の結束体。
【請求項5】
前記第1側面に垂直な方向から見た平面視において、前記第1側面に貼り付けられた結束ラベルと、前記第2側面に貼り付けられた結束ラベルとは、互いに重ならない、請求項4に記載の結束体。
【請求項6】
請求項1に記載の結束体に用いられる結束ラベル。
発明の詳細な説明
【技術分野】
【0001】
本発明は、結束体および結束ラベルに関する。
続きを表示(約 1,900 文字)
【背景技術】
【0002】
重ね合わせられた状態の複数の物品に、複数の物品の間の境界を跨ぐように結束ラベル(粘着シート)を貼り付けて複数の物品を結束してなる結束体が知られている(例えば、特許文献1)。このような結束体により、複数の物品を一括して輸送したり、一括して店頭に陳列して販売したりすることができる。
【0003】
なお、特許文献2には、複数の柔らかい物品(個包装)をさらに軟包材で包装してなる包装体(パッケージ)の複数個を粘着シートで互いに固定(結束)してなる結束体(パッケージの組み合わせ)が開示されている。
【先行技術文献】
【特許文献】
【0004】
特開平08-175566号公報
特開2015-163533号公報
【発明の概要】
【発明が解決しようとする課題】
【0005】
例えば、一方向(長手方向)に長い可撓性の包装体の複数個を結束ラベルにより一括して取り扱うことができるようにするためには、重ね合わされた状態の複数の包装体の長側面(長手方向に延びる側面)の両面に比較的大きなサイズの結束ラベルを貼り付ける必要があった。
【0006】
しかし、環境負荷の低減等の目的のために、結束ラベルの使用量を少なくすることが望ましい。また、結束ラベルのサイズが大きいと、気泡の混入やシワの発生が起こりやすくなり、機械等による貼り付け作業の効率が低下する可能性もあるため、個々の結束ラベルのサイズを小さくすることが望まれる。
【0007】
本発明の目的は、複数の包装体が重ね合わせられた状態で結束ラベルによって結束されてなる結束体において、複数の包装体を一括して安定的に取り扱えるように結束しつつ、結束ラベルの使用量を低減し、個々の結束ラベルのサイズを小さくすることである。
【課題を解決するための手段】
【0008】
本発明の結束ラベルは、複数の包装体が重ね合わせられた状態で結束ラベルによって結束されてなる結束体である。
前記結束ラベルは、重ね合せられた前記複数の包装体の側面の1つである第1側面と、該第1側面の反対側の側面である第2側面とに、前記複数の包装体の間の境界を跨ぐように貼り付けられる。
前記第1側面に垂直な方向から見た平面視において、前記第1側面に貼り付けられた結束ラベルと前記第2側面に貼り付けられた結束ラベルとの少なくとも一方は、他方と重ならない部分を有する。
【発明の効果】
【0009】
本発明によれば、複数の包装体が重ね合わせられた状態で結束ラベルによって結束されてなる結束体において、複数の包装体を一括して安定的に取り扱えるように結束しつつ、結束ラベルの使用量を低減し、個々の結束ラベルのサイズを小さくすることができる。
【図面の簡単な説明】
【0010】
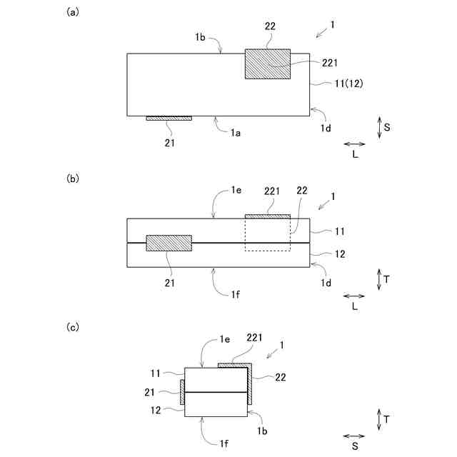
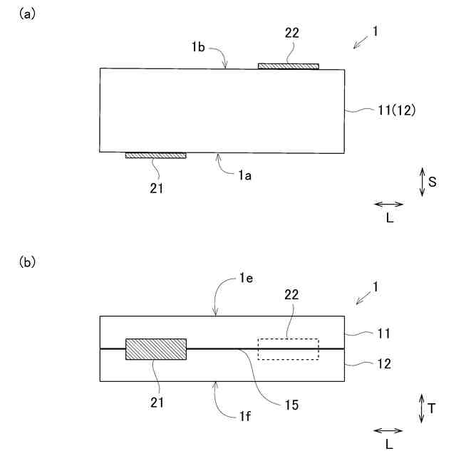
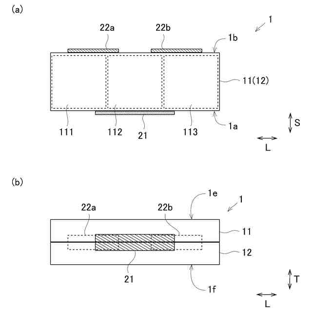
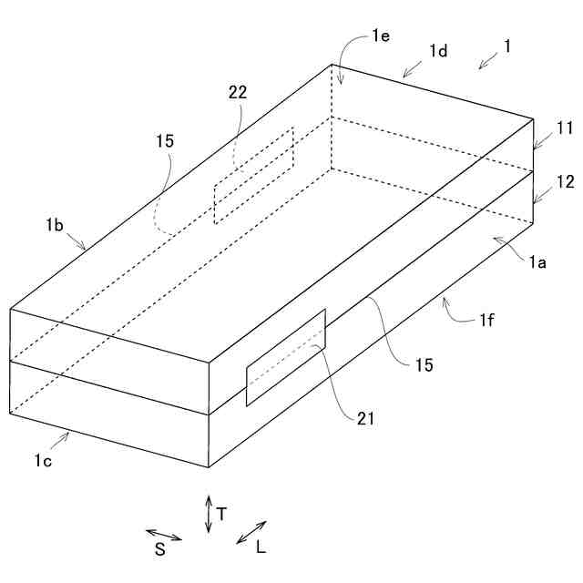
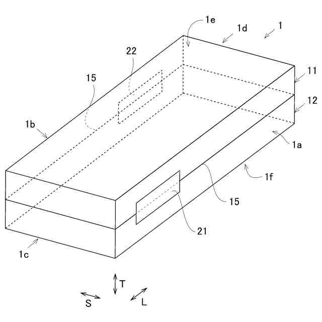
実施形態の結束体を示す斜視図である。
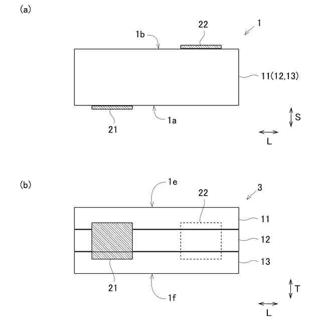
実施形態の結束体を示す上面図(a)および側面図(b)(第1側面1aから見た図)である。
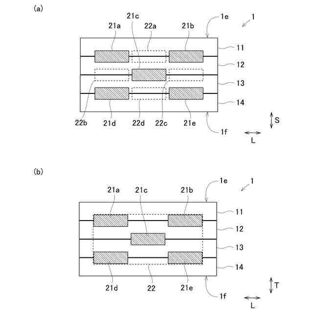
実施形態の結束体の変形例を示す上面図(a)、および、別の変形例を示す上面図(b)である。
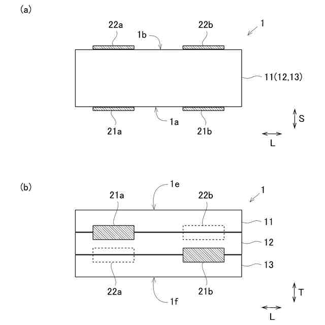
実施形態の結束体の変形例を示す上面図(a)および側面図(b)(第1側面1aから見た図)である。
実施形態の結束体の変形例を示す上面図(a)および側面図(b)(第1側面1aから見た図)である。
実施形態の結束体の変形例を示す上面図(a)および側面図(b)(第1側面1aから見た図)である。
実施形態の結束体の変形例を示す上面図(a)および側面図(b)(第1側面1aから見た図)である。
実施形態の結束体の変形例を示す側面図(a)(第1側面1aから見た図)、および、別の変形例を示す側面図(b)(第1側面1aから見た図)である。
実施形態の結束体の変形例を示す上面図(a)、側面図(b)(第1側面1aから見た図)、および、側面図(c)(側面1dから見た図)である。
実施形態の結束体の変形例を示す上面図(a)、側面図(b)(第1側面1aから見た図)、および、側面図(c)(側面1dから見た図)である。
実施形態の結束体の変形例を示す側面図(a)(第1側面1aから見た図)、および、その部分拡大図(b)である。
【発明を実施するための形態】
(【0011】以降は省略されています)
この特許をJ-PlatPat(特許庁公式サイト)で参照する
関連特許
株式会社フジシール
識別情報利用システム
今日
株式会社フジシール
結束体および結束ラベル
7日前
株式会社フジシール
ホルダー、および、ディスペンサー
今日
個人
収容箱
4か月前
個人
束ね具
3日前
個人
コンベア
5か月前
個人
段ボール箱
7か月前
個人
ゴミ収集器
7か月前
個人
容器
10か月前
個人
段ボール箱
7か月前
個人
楽ちんハンド
5か月前
個人
土嚢運搬器具
9か月前
個人
テープ引出機
3日前
個人
宅配システム
7か月前
個人
バンド
2か月前
個人
角筒状構造体
6か月前
個人
コード類収納具
8か月前
個人
お薬の締結装置
6か月前
個人
棒状体収容容器
7日前
個人
廃棄物収容容器
3か月前
個人
包装容器
1か月前
個人
閉塞装置
10か月前
株式会社和気
包装用箱
17日前
個人
貯蔵サイロ
7か月前
株式会社和気
包装用箱
9か月前
株式会社バンダイ
物品
1か月前
個人
蓋閉止構造
4か月前
個人
蓋閉止構造
4か月前
個人
ゴミ処理機
9か月前
個人
積み重ね用補助具
3か月前
株式会社コロナ
梱包材
6か月前
個人
把手付米袋
5か月前
三甲株式会社
容器
2か月前
三甲株式会社
蓋体
10か月前
株式会社ナベル
検査装置
15日前
個人
搬送システム
7か月前
続きを見る
他の特許を見る