TOP
|
特許
|
意匠
|
商標
特許ウォッチ
Twitter
他の特許を見る
10個以上の画像は省略されています。
公開番号
2025167347
公報種別
公開特許公報(A)
公開日
2025-11-07
出願番号
2024071866
出願日
2024-04-25
発明の名称
洗濯機、及び洗濯方法
出願人
パナソニックIPマネジメント株式会社
代理人
個人
,
個人
主分類
D06F
33/32 20200101AFI20251030BHJP(繊維または類似のものの処理;洗濯;他に分類されない可とう性材料)
要約
【課題】詰め物の偏りの抑制と洗浄力の向上とを両立させる洗濯機を提供する。
【解決手段】本開示に係る洗濯機は、洗濯槽と、洗濯槽に給水する給水装置と、洗濯槽に液剤を供給する液剤供給装置と、洗濯槽を回転させる駆動部と、第1工程と第2工程とを順に実行する制御部と、を備え、第1工程は、給水装置が給水する給水ステップと、洗濯槽の回転と停止を繰り返す撹拌ステップとを少なくとも含み、第2工程は、液剤供給装置が液剤を供給する液剤供給ステップと、撹拌ステップとを少なくとも含み、制御部は、撹拌ステップにおける洗濯水の界面活性剤濃度が、第1工程において第2工程よりも低く、洗濯水の表面張力が、第1工程において第2工程よりも大きくなるように給水装置及び液剤供給装置を制御し、制御部は、撹拌ステップにおいて洗濯槽の総回転量が、第1工程において第2工程よりも大きくなるように駆動部を制御する。
【選択図】図17
特許請求の範囲
【請求項1】
洗濯物を収容可能に構成された洗濯槽と、
前記洗濯槽に給水する給水装置と、
前記洗濯槽に液剤を供給する液剤供給装置と、
前記洗濯槽を回転させる駆動部と、
第1工程と第2工程とを順に実行する制御部と、を備え、
前記第1工程は、前記給水装置が給水する給水ステップと、前記洗濯槽の回転と停止を繰り返す撹拌ステップとを少なくとも含み、
前記第2工程は、前記液剤供給装置が液剤を供給する液剤供給ステップと、前記洗濯槽の回転と停止を繰り返す撹拌ステップとを少なくとも含み、
前記制御部は、前記撹拌ステップにおける洗濯水の界面活性剤濃度が、前記第1工程において前記第2工程よりも低く、洗濯水の表面張力が、前記第1工程において前記第2工程よりも大きくなるように前記給水装置及び前記液剤供給装置を制御し、
前記制御部は、前記撹拌ステップにおいて前記洗濯槽の総回転量が、前記第1工程において前記第2工程よりも大きくなるように前記駆動部を制御する、洗濯機。
続きを表示(約 1,000 文字)
【請求項2】
前記撹拌ステップにおける前記洗濯槽の水位は、前記第1工程において前記第2工程よりも高い、請求項1に記載の洗濯機。
【請求項3】
前記第1工程及び前記第2工程はそれぞれ、前記液剤供給装置が液剤を供給する液剤供給ステップを含み、
前記液剤供給ステップにおける液剤の供給量は、前記第1工程において前記第2工程よりも少ない、請求項2に記載の洗濯機。
【請求項4】
前記撹拌ステップにおける前記洗濯水の液剤濃度は、前記第1工程において前記第2工程の1/10以下である、請求項3に記載の洗濯機。
【請求項5】
前記撹拌ステップの撹拌時間は、前記第1工程において前記第2工程よりも長い、請求項2に記載の洗濯機。
【請求項6】
前記撹拌ステップは、前記洗濯槽が回転する回転ステップと、前記洗濯槽が停止する停止ステップとをそれぞれ複数含み、
1回の前記回転ステップの回転時間は、前記第1工程において前記第2工程よりも長い、請求項1に記載の洗濯機。
【請求項7】
前記撹拌ステップにおいて、前記洗濯槽の停止時間は、前記洗濯槽の回転時間よりも長い、請求項1に記載の洗濯機。
【請求項8】
前記洗濯槽内の水を排水する排水弁をさらに備え、
前記制御部は、前記第1工程と前記第2工程との間で前記排水弁を開放する、請求項1に記載の洗濯機。
【請求項9】
前記第1工程及び前記第2工程はそれぞれ、前記給水装置が給水する給水ステップと、前記液剤供給装置が液剤を供給する液剤供給ステップと、前記撹拌ステップとを含む、請求項1から8のいずれか一項に記載の洗濯機。
【請求項10】
給水装置が洗濯物を収容する洗濯槽に給水する給水ステップと、駆動部による前記洗濯槽の回転と停止を繰り返す撹拌ステップとを少なくとも含む第1工程と、
前記第1工程の後に、液剤供給装置が前記洗濯槽に液剤を供給する液剤供給ステップと、前記洗濯槽の回転と停止を繰り返す撹拌ステップとを少なくとも含む第2工程と、を含み、
前記撹拌ステップにおける洗濯水の界面活性剤濃度が、前記第1工程において前記第2工程よりも低く、洗濯水の表面張力が、前記第1工程において前記第2工程よりも大きく、
前記撹拌ステップにおいて前記洗濯槽の総回転量が、前記第1工程において前記第2工程よりも大きい、洗濯方法。
発明の詳細な説明
【技術分野】
【0001】
本開示は、洗濯機に関する。
続きを表示(約 1,600 文字)
【背景技術】
【0002】
例えば、特許文献1には、洗濯物を収容可能な洗濯槽と、洗濯槽に液剤を自動的に供給する自動供給装置と、複数のコースを実行可能に有する制御部とを備える洗濯機が開示されている。
【0003】
特許文献1に記載された制御部は、標準的な運転内容の第1コースと、第1コースと比べて洗濯物を傷めにくい運転内容の第2コースとを実行可能に有する。
【先行技術文献】
【特許文献】
【0004】
特開2023-066062号公報
【発明の概要】
【発明が解決しようとする課題】
【0005】
しかしながら、特許文献1に記載の洗濯機において、中綿やダウンなどの詰め物が内部に詰められた対象物を洗浄する場合、詰め物の偏りの抑制と洗浄力の向上とを両立させるという点で、未だ改善の余地がある。
【0006】
したがって、本開示の目的は、上記課題を解決することにあって、詰め物の偏りの抑制と洗浄力の向上とを両立させる洗濯機を提供することにある。
【課題を解決するための手段】
【0007】
本開示の一態様の洗濯機は、洗濯槽と、洗濯槽に給水する給水装置と、洗濯槽に液剤を供給する液剤供給装置と、洗濯槽を回転させる駆動部と、第1工程と第2工程とを順に実行する制御部と、を備え、第1工程は、給水装置が給水する給水ステップと、洗濯槽の回転と停止を繰り返す撹拌ステップとを少なくとも含み、第2工程は、液剤供給装置が液剤を供給する液剤供給ステップと、撹拌ステップとを少なくとも含み、制御部は、撹拌ステップにおける洗濯水の界面活性剤濃度が、第1工程において第2工程よりも低く、洗濯水の表面張力が、第1工程において第2工程よりも大きくなるように給水装置及び液剤供給装置を制御し、制御部は、撹拌ステップにおいて洗濯槽の総回転量が、第1工程において第2工程よりも大きくなるように駆動部を制御する。
【0008】
本開示の一態様の洗濯方法は、給水装置が洗濯物を収容する洗濯槽に給水する給水ステップと、駆動部による洗濯槽の回転と停止を繰り返す撹拌ステップとを少なくとも含む第1工程と、第1工程の後に、液剤供給装置が洗濯槽に液剤を供給する液剤供給ステップと、洗濯槽の回転と停止を繰り返す撹拌ステップとを少なくとも含む第2工程と、を含み、撹拌ステップにおける洗濯水の界面活性剤濃度が、第1工程において第2工程よりも低く、洗濯水の表面張力が、第1工程において第2工程よりも大きく、撹拌ステップにおいて洗濯槽の総回転量が、第1工程において第2工程よりも大きい。
【発明の効果】
【0009】
本開示によれば、詰め物の偏りの抑制と洗浄力の向上とを両立させる洗濯機を提供できる。
【図面の簡単な説明】
【0010】
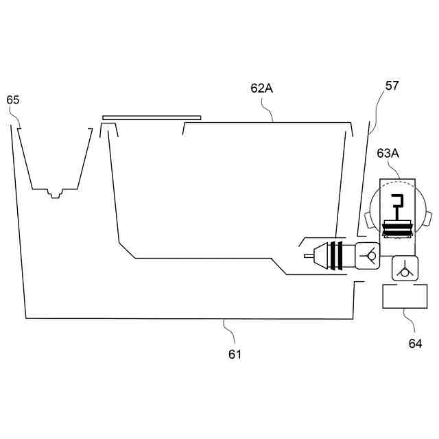
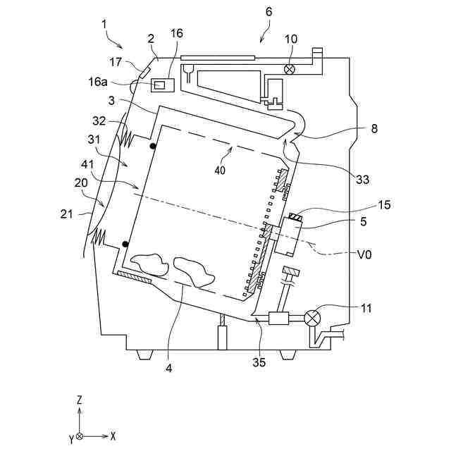
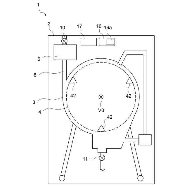
本開示に係る実施の形態1の洗濯機の模式正面図
洗濯機の模式断面図
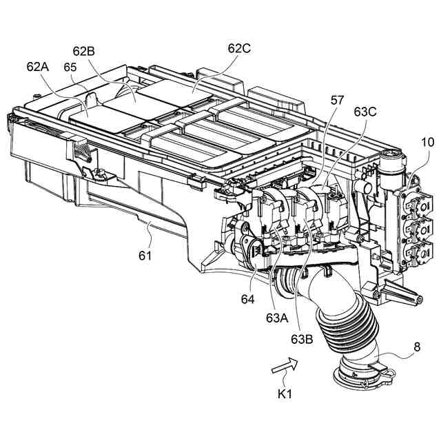
自動投入ユニットの斜視図
自動投入ユニットの模式図
界面活性剤の濃度と液体の表面張力との関係を示すグラフ
対象物の表面に滴下された洗濯水の液滴の模式図
対象物の表面に滴下された洗濯水の液滴の模式図
洗濯機の第1コースのフローチャート
第1洗い工程のフローチャート
第2洗い工程のフローチャート
第1洗い工程における洗濯機の模式正面図
第1洗い工程における洗濯機の模式正面図
第1洗い工程における洗濯機の模式正面図
第2洗い工程における洗濯機の模式正面図
第2洗い工程における洗濯機の模式正面図
第2洗い工程における洗濯機の模式正面図
第1洗い工程と第2洗い工程との運転条件を比較する表
変形例1の洗濯機の模式正面図
【発明を実施するための形態】
(【0011】以降は省略されています)
この特許をJ-PlatPat(特許庁公式サイト)で参照する
関連特許
個人
洗濯装置
2か月前
個人
洗濯物干しハンガー
8日前
株式会社青柳
染め加工方法
2か月前
東レ株式会社
繊維断面の検査方法
1か月前
東レ株式会社
ゴム補強用合成繊維コード
1か月前
株式会社槌屋
加飾用表皮材
1か月前
東レ株式会社
樹脂含浸繊維束の製造方法
3か月前
東レ株式会社
炭素繊維シートの製造方法
3か月前
有限会社高田紙器製作所
紙製洗濯バサミ
3か月前
株式会社創和
ボックス状洗濯ネット
2か月前
株式会社大阪ソーダ
撥水撥油性繊維処理剤
2か月前
リンナイ株式会社
衣類乾燥機
28日前
個人
ポリエステル染色物の製造方法
29日前
シャープ株式会社
洗濯機
2か月前
個人
洗濯用洗剤容器の蓋
2か月前
リンテック株式会社
耐水性基材
1か月前
アイリスオーヤマ株式会社
洗濯機
8日前
大阪瓦斯株式会社
衣類乾燥機
2か月前
大阪瓦斯株式会社
衣類乾燥機
2か月前
大阪瓦斯株式会社
衣類乾燥機
2か月前
松本油脂製薬株式会社
繊維用処理剤及びその利用
2か月前
ダイニック株式会社
ターポリン、及びその製造方法
29日前
個人
開閉角度調整可能な角型折畳みピンチハンガー
3か月前
シャープ株式会社
洗濯機
3か月前
シャープ株式会社
洗濯機
3か月前
東レ株式会社
抗菌性アクリル系繊維およびその製造方法
2か月前
シャープ株式会社
洗濯機
3か月前
東レ株式会社
人工皮革およびその製造方法ならびに雑貨
2か月前
東芝ライフスタイル株式会社
洗濯機
2か月前
シャープ株式会社
洗濯機
3か月前
個人
パイプ用係止、固定装置及び洗濯バサミ取り付け具
2か月前
東芝ライフスタイル株式会社
洗濯機
1か月前
株式会社コーワ
乾燥機のフィルター清掃装置及び乾燥機
1か月前
シャープ株式会社
衣類処理システム
3か月前
株式会社wash-plus
ランドリーシステム
8日前
住友金属鉱山株式会社
赤外線遮蔽繊維構造物
1か月前
続きを見る
他の特許を見る