TOP
|
特許
|
意匠
|
商標
特許ウォッチ
Twitter
他の特許を見る
10個以上の画像は省略されています。
公開番号
2025167344
公報種別
公開特許公報(A)
公開日
2025-11-07
出願番号
2024071859
出願日
2024-04-25
発明の名称
撮像装置及び撮像装置の制御方法
出願人
パナソニックIPマネジメント株式会社
代理人
個人
,
個人
主分類
G03B
17/18 20210101AFI20251030BHJP(写真;映画;光波以外の波を使用する類似技術;電子写真;ホログラフイ)
要約
【課題】光学フィルタを用いた光の状態の切替に応じて設定可能な撮影距離に関する情報を表示する。
【解決手段】本開示の撮像装置は、撮像面を有する撮像素子と、撮像面へ入射する光の状態を光学フィルタにより変化させることによって第1状態と、第1状態と異なる第2状態と、に切り替える切替機構と、情報を表示する表示装置と、撮像素子、切替機構及び表示装置を制御するプロセッサと、を備え、プロセッサは、第1状態又は第2状態かを判定し、第1状態である場合、第1状態において設定可能な撮影距離の第1範囲を示す第1情報を表示装置に表示させ、第2状態である場合、第2状態において設定可能な撮影距離の第2範囲を示す第2情報を表示装置に表示させる。
【選択図】図9
特許請求の範囲
【請求項1】
被写体からの光が入射する撮像面を有する撮像素子と、
前記撮像面へ入射する前記光の状態を光学フィルタにより変化させることによって第1状態と、前記第1状態と異なる第2状態と、に切り替える切替機構と、
情報を表示する表示装置と、
前記撮像素子、前記切替機構及び前記表示装置を制御するプロセッサと、
を備え、
前記プロセッサは、
前記第1状態又は前記第2状態かを判定し、
前記第1状態である場合、前記第1状態において設定可能な撮影距離の第1範囲を示す第1情報を前記表示装置に表示させ、
前記第2状態である場合、前記第2状態において設定可能な撮影距離の第2範囲を示す第2情報を前記表示装置に表示させる、
撮像装置。
続きを表示(約 1,500 文字)
【請求項2】
前記第1情報及び前記第2情報は、撮影距離に関連する数字、文字、絵及びバーのうち少なくとも1つを含む、
請求項1に記載の撮像装置。
【請求項3】
前記プロセッサは、前記第1状態において、設定されている撮影距離が前記第1範囲外にある場合、又は、前記第2状態において、設定されている撮影距離が前記第2範囲外にある場合、前記表示装置の表示を変更する、
請求項1に記載の撮像装置。
【請求項4】
前記表示装置の表示を変更することは、前記表示装置にメッセージを表示することを有する、
請求項3に記載の撮像装置。
【請求項5】
前記プロセッサは、
前記第1状態において、設定されている撮影距離が前記第1範囲外にある場合、前記撮影距離を前記第1範囲内に調整し、
前記第2状態において、設定されている撮影距離が前記第2範囲外にある場合、前記撮影距離を前記第2範囲内に調整する、
請求項1に記載の撮像装置。
【請求項6】
前記光学フィルタは、
第1光学フィルタと、
前記第1光学フィルタと異なる屈折率又は厚みを有する第2光学フィルタと、
を含み、
前記第1状態は、前記光の状態を前記第1光学フィルタにより変化させる状態であり、
前記第2状態は、前記光の状態を前記第2光学フィルタにより変化させる状態である、
請求項1に記載の撮像装置。
【請求項7】
前記第2光学フィルタは、前記第1光学フィルタよりも大きい屈折率又は厚みを有する、
請求項6に記載の撮像装置。
【請求項8】
前記プロセッサは、
前記第1状態である場合、前記第1状態において制限される第1撮影距離の情報に基づいて前記第1範囲を決定し、
前記第2状態である場合、前記第2状態において制限される第2撮影距離の情報に基づいて前記第2範囲を決定する、
請求項1に記載の撮像装置。
【請求項9】
前記光学フィルタ、及び前記光学フィルタによって制限される撮影距離の情報を格納するフィルタメモリを含むフィルタユニットをさらに備え、
前記光学フィルタは、
第1光学フィルタと、
前記第1光学フィルタと異なる屈折率又は厚みを有する第2光学フィルタと、
を含み、
前記第1状態は、前記光の状態を前記第1光学フィルタにより変化させる状態であり、
前記第2状態は、前記光の状態を前記第2光学フィルタにより変化させる状態であり、
前記フィルタメモリは、
前記第1光学フィルタによって制限される前記第1撮影距離の情報を格納する第1フィルタメモリと、
前記第2光学フィルタによって制限される前記第2撮影距離の情報を格納する第2フィルタメモリと、
を含み、
前記第1範囲を決定することは、前記第1フィルタメモリから前記第1撮影距離の情報を取得すること、を有し、
前記第2範囲を決定することは、前記第2フィルタメモリから前記第2撮影距離の情報を取得すること、を有する、
請求項8に記載の撮像装置。
【請求項10】
前記プロセッサは、
装着される交換レンズのレンズ撮影距離の情報を取得し、
前記第1範囲を決定することは、前記第1撮影距離と前記レンズ撮影距離とに基づいて前記第1範囲を決定し、
前記第2範囲を決定することは、前記第2撮影距離と前記レンズ撮影距離とに基づいて前記第2範囲を決定する、
請求項8に記載の撮像装置。
(【請求項11】以降は省略されています)
発明の詳細な説明
【技術分野】
【0001】
本開示は、撮像装置及び撮像装置の制御方法に関する。
続きを表示(約 2,500 文字)
【背景技術】
【0002】
例えば、特許文献1には、光学フィルタを使用している状態においてピントが合わない場合にピントを合わせることが可能な撮像装置が開示されている。特許文献1に記載の撮像装置は、撮像素子と、光学フィルタと、露出調整を行う制御部とを有する。光学フィルタは、撮像範囲に挿入された第1位置と、撮像範囲から退避した第2位置との間で移動可能である。制御部は、光学フィルタが第1位置にある状態において合焦できない場合、露出調整を行う。
【先行技術文献】
【特許文献】
【0003】
特開2023-128190号公報
【発明の概要】
【発明が解決しようとする課題】
【0004】
近年、撮像装置においては、光学フィルタを用いた光の状態の切替に応じて設定可能な撮影距離に関する情報を表示することが求められている。
【0005】
そこで、本開示は、光学フィルタを用いた光の状態の切替に応じて設定可能な撮影距離に関する情報を表示する撮像装置及び撮像装置の制御方法を提供することを課題とする。
【課題を解決するための手段】
【0006】
上述の課題を解決するために、本開示の一態様の撮像装置は、
被写体からの光が入射する撮像面を有する撮像素子と、
前記撮像面へ入射する前記光の状態を光学フィルタにより変化させることによって第1状態と、前記第1状態と異なる第2状態と、に切り替える切替機構と、
情報を表示する表示装置と、
前記撮像素子、前記切替機構及び前記表示装置を制御するプロセッサと、
を備え、
前記プロセッサは、
前記第1状態又は前記第2状態かを判定し、
前記第1状態である場合、前記第1状態において設定可能な撮影距離の第1範囲を示す第1情報を前記表示装置に表示させ、
前記第2状態である場合、前記第2状態において設定可能な撮影距離の第2範囲を示す第2情報を前記表示装置に表示させる。
【0007】
本開示の一態様の撮像装置の制御方法は、
被写体からの光が入射する撮像面を有する撮像素子と、前記撮像面へ入射する前記光の状態を光学フィルタにより変化させることによって第1状態と、前記第1状態と異なる第2状態と、に切り替える切替機構と、情報を表示する表示装置と、を備える撮像装置の制御方法であって、
前記第1状態又は前記第2状態かを判定するステップと、
前記第1状態である場合、前記第1状態において設定可能な撮影距離の第1範囲を示す第1情報を前記表示装置に表示させるステップと、
前記第2状態である場合、前記第2状態において設定可能な撮影距離の第2範囲を示す第2情報を前記表示装置に表示させるステップと、
を含む。
【発明の効果】
【0008】
本開示によれば、光学フィルタを用いた光の状態の切替に応じて設定可能な撮影距離に関する情報を表示する撮像装置及び撮像装置の制御方法を提供することができる。
【図面の簡単な説明】
【0009】
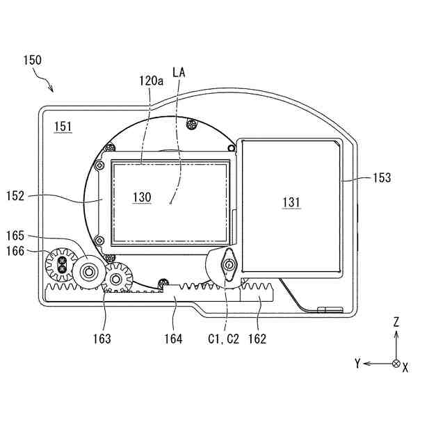
本開示の実施の形態1に係る撮像装置の概略的な前方斜視図
本開示の実施の形態1に係る撮像装置の概略構成を示すブロック図
フィルタモジュールの後方斜視図
フィルタモジュールの分解後方斜視図
第1フィルタユニットが第1フィルタリング位置に位置しつつ第2フィルタユニットが第2退避位置に位置する状態のフィルタモジュールの後面図
第1フィルタユニットが第1退避位置に位置しつつ第2フィルタユニットが第2フィルタリング位置に位置する状態のフィルタモジュールの後面図
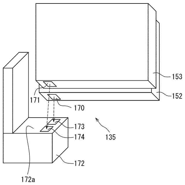
検出機構の模式図
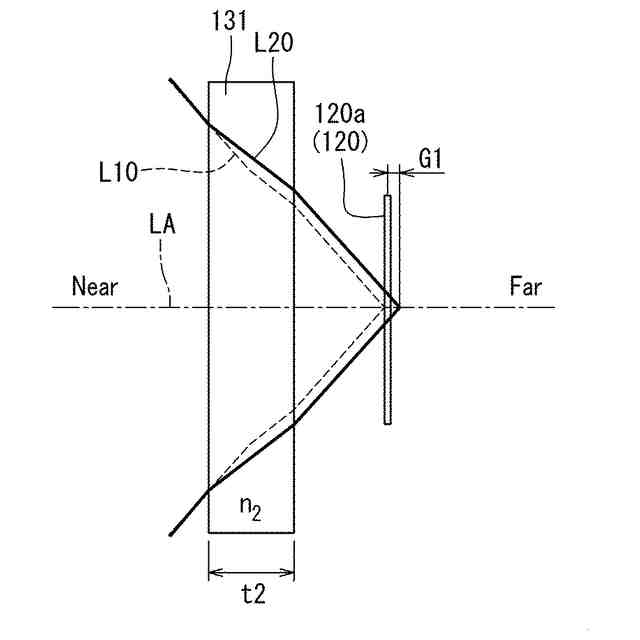
第1光学フィルタにおける光路の模式図
第2光学フィルタにおける光路の模式図
光学フィルタの切替によるフォーカスずれに起因する撮影距離の調整を説明するための模式図
光学フィルタの切替によるフォーカスずれに起因する撮影距離の調整を説明するための模式図
本開示の実施の形態1に係る撮像装置の制御方法の概略的なフローチャート
第1状態における液晶モニタの表示の一例の模式図
第2状態における液晶モニタの表示の一例の模式図
第1状態における液晶モニタの表示の別例の模式図
第2状態における液晶モニタの表示の別例の模式図
第2状態における液晶モニタの表示の別例の模式図
本開示の実施の形態2に係る撮像装置の制御方法において第1範囲を決定する処理のフローチャート
本開示の実施の形態2に係る撮像装置の制御方法において第2範囲を決定する処理のフローチャート
本開示の実施の形態3に係る撮像装置の制御方法の概略的なフローチャート
液晶モニタの表示変更の一例の模式図
変形例1に係る撮像装置を説明するための概略図
変形例2に係る第1フィルタユニットの概略構成を示すブロック図
変形例2に係る第2フィルタユニットの概略構成を示すブロック図
変形例3に係る撮像装置を説明するための概略図
【発明を実施するための形態】
【0010】
(本開示に至った経緯)
撮像装置においては、光学フィルタを用いて撮像素子に入射する光の状態を変化させている。一例として、光学フィルタがクリアガラス又はND(Neutral Density)ガラスである場合、光の透過率を変化させる。一例として、光学フィルタがUVフィルタ又はIRフィルタである場合、紫外線または赤外線をカットする。例えば、光学フィルタは、撮像素子の撮像面の前方に移動可能に構成されており、被写体を撮像する際に撮像素子の撮像面の前方に位置する光学フィルタを切り替えることによって光の状態を切り替えている。
(【0011】以降は省略されています)
この特許をJ-PlatPat(特許庁公式サイト)で参照する
関連特許
個人
表示装置
1か月前
個人
雨用レンズカバー
1か月前
株式会社シグマ
絞りユニット
2か月前
日本精機株式会社
プロジェクタ
3日前
キヤノン株式会社
撮像装置
1か月前
キヤノン株式会社
撮像装置
1か月前
キヤノン株式会社
撮像装置
1か月前
日本精機株式会社
車両用投射装置
2か月前
キヤノン株式会社
撮像装置
2か月前
キヤノン株式会社
撮像装置
2か月前
キヤノン株式会社
撮像装置
10日前
株式会社リコー
画像形成装置
1か月前
株式会社リコー
画像形成装置
24日前
株式会社リコー
画像形成装置
1か月前
株式会社リコー
画像形成装置
1か月前
株式会社リコー
画像形成装置
2か月前
株式会社リコー
画像形成装置
1か月前
キヤノン株式会社
トナー
2か月前
株式会社オプトル
プロジェクタ
2か月前
キヤノン株式会社
トナー
1か月前
キヤノン株式会社
画像形成装置
18日前
キヤノン株式会社
画像形成装置
1か月前
キヤノン株式会社
トナー
2か月前
キヤノン株式会社
画像形成装置
1か月前
沖電気工業株式会社
画像形成装置
5日前
レーザーテック株式会社
光源装置
5日前
キヤノン株式会社
現像装置
1か月前
沖電気工業株式会社
画像形成装置
1か月前
キヤノン株式会社
レンズキャップ
1か月前
スタンレー電気株式会社
照明装置
2か月前
レーザーテック株式会社
光源装置
26日前
沖電気工業株式会社
画像形成装置
1か月前
アイホン株式会社
カメラシステム
2か月前
シャープ株式会社
捺染トナー
3日前
古野電気株式会社
装置
1か月前
株式会社リコー
画像形成装置
2か月前
続きを見る
他の特許を見る