TOP
|
特許
|
意匠
|
商標
特許ウォッチ
Twitter
他の特許を見る
10個以上の画像は省略されています。
公開番号
2025167221
公報種別
公開特許公報(A)
公開日
2025-11-07
出願番号
2024071637
出願日
2024-04-25
発明の名称
信号処理装置、光電変換装置及び機器
出願人
キヤノン株式会社
代理人
弁理士法人大塚国際特許事務所
主分類
H04N
25/62 20230101AFI20251030BHJP(電気通信技術)
要約
【課題】
横スミアの検出精度の向上と、横スミアを補正したときの横縞の発生を抑制するのに有利な構成を提供すること。
【解決手段】
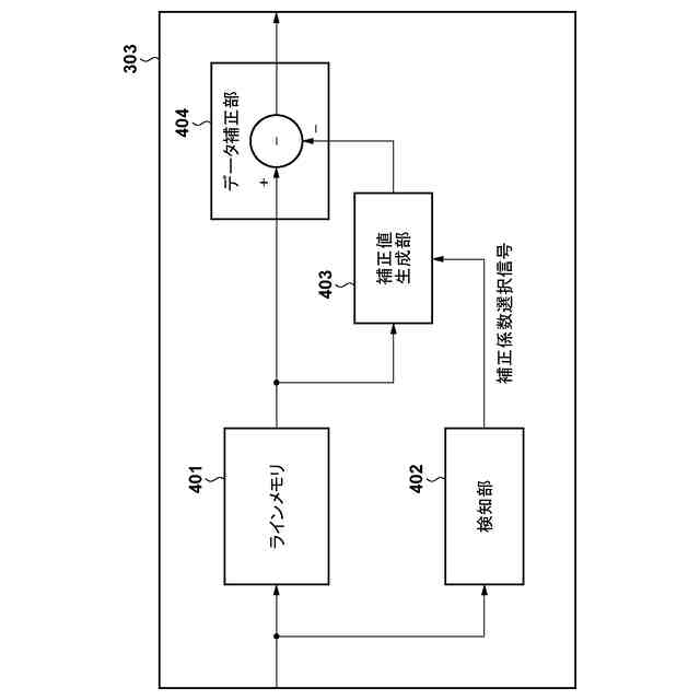
信号処理装置は、ラインメモリと、検知部と、補正値生成部と、データ補正部と、を備える。前記ラインメモリは選択された行の画像データを保持し、前記検知部は、少なくとも前記選択された行の前記画像データに基づいて、補正係数を選択する選択信号を生成し、前記補正値生成部は、補正値を保持する補正値保持部を有し、前記選択信号により選択された前記補正係数及び前記選択された行の遮光データに基づいて前記補正値を生成し、保持し、前記データ補正部は、前記補正値に基づいて、前記ラインメモリに保持された前記選択された行の画像データを補正する。
【選択図】 図4
特許請求の範囲
【請求項1】
複数の受光画素からの信号に基づく画像データを、複数の遮光画素からの信号に基づく遮光データを使って補正する信号処理装置であって、
ラインメモリと、検知部と、補正値生成部と、データ補正部と、を備え、
前記ラインメモリは選択された行の画像データを保持し、
前記検知部は、少なくとも前記選択された行の前記画像データに基づいて、補正係数を選択する選択信号を生成し、
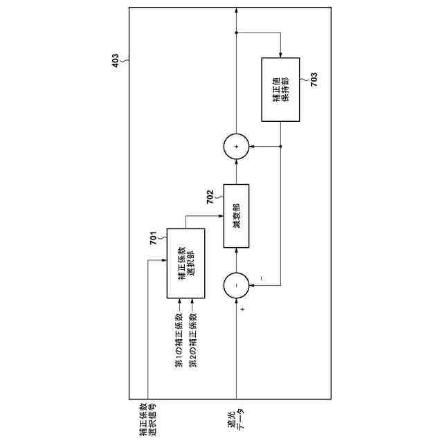
前記補正値生成部は、補正値を保持する補正値保持部を有し、前記選択信号により選択された前記補正係数及び前記選択された行の遮光データに基づいて前記補正値を生成し、保持し、
前記データ補正部は、前記補正値に基づいて、前記ラインメモリに保持された前記選択された行の画像データを補正する、
信号処理装置。
続きを表示(約 930 文字)
【請求項2】
前記補正値生成部は、前記選択信号により選択された前記補正係数及び前記選択された行の遮光データに基づいて前記保持された補正値を更新することを特徴とする請求項1に記載の信号処理装置。
【請求項3】
前記画像データ及び前記遮光データは、前記ラインメモリと前記検知部とへ分岐されて入力されることを特徴とする請求項1に記載の信号処理装置。
【請求項4】
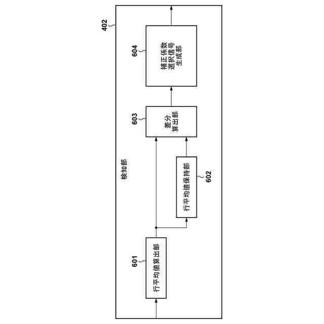
前記検知部は、前記選択された行の受光画素の画像データの平均値と、前記選択された行と異なる行の受光画素の画素データの平均値と、を比較することに基づいて前記選択信号を生成することを特徴とする請求項1に記載の信号処理装置。
【請求項5】
前記検知部は、前記選択された行の受光画素の画像データのうちの所定の閾値を超えた画像データの数と、前記選択された行と異なる行の受光画素の画像データのうちの前記所定の閾値を超えた画像データの数と、を比較することに基づいて前記選択信号を生成することを特徴とする請求項1に記載の信号処理装置。
【請求項6】
前記補正値生成部はフィルタを含み、前記補正係数は前記フィルタの減衰係数を含むことを特徴とする請求項1に記載の信号処理装置。
【請求項7】
前記フィルタは無限インパルス応答フィルタであることを特徴とする請求項6に記載の信号処理装置。
【請求項8】
前記補正値は、前記選択された行の前記複数の遮光画素のそれぞれの画素からの遮光データを画素毎に前記フィルタによりフィルタリングすることに基づいて生成されることを特徴とする請求項6に記載の信号処理装置。
【請求項9】
前記補正値は、前記選択された行の前記複数の遮光画素からの遮光データの平均値を前記フィルタによりフィルタリングすることに基づいて生成されることを特徴とする請求項6に記載の信号処理装置。
【請求項10】
前記データ補正部は、前記補正値に基づいて前記選択された行を含む所定数の行の画像データを補正することを特徴とする請求項1に記載の信号処理装置。
(【請求項11】以降は省略されています)
発明の詳細な説明
【技術分野】
【0001】
本発明は、信号処理装置、光電変換装置及び機器に関する。
続きを表示(約 1,900 文字)
【背景技術】
【0002】
複数の画素を含む受光領域と、受光領域の周りに配され遮光された遮光領域(オプティカルブラック(OB)領域とも呼ばれうる。)と、を有し、遮光領域からのデータにより黒レベル補正をする方法がある。特許文献1には、高輝度の被写体を撮像したときに、高輝度の被写体の左右に生じたストリーキング(「横スミア」ともいう。)を補正する装置が記載されている。
【先行技術文献】
【特許文献】
【0003】
特開2016-119592号公報
【発明の概要】
【発明が解決しようとする課題】
【0004】
特許文献1には、受光領域に高輝度被写体がある際に、受光画素と同一行の遮光画素のデータからストリーキングの発生を検知し、高輝度被写体の左右それぞれで検出されたオフセット値によりストリーキング補正を行う装置が記載されている。特許文献1では、オプティカルブラック領域の画素から得られる信号にランダムノイズ等が含まれているとストリーキングの検出精度が低くなることがありうる。また、ストリーキングが発生している領域では補正により横縞が発生することがあった。
【0005】
本発明は、横スミアの検出精度の向上と、横スミアを補正したときの横縞の発生を抑制するのに有利な構成を提供することを目的とする。
【課題を解決するための手段】
【0006】
本発明の一態様である信号処理装置は、複数の受光画素からの信号に基づく画像データを、複数の遮光画素からの信号に基づく遮光データを使って補正する信号処理装置であって、ラインメモリと、検知部と、補正値生成部と、データ補正部と、を備え、前記ラインメモリは選択された行の画像データを保持し、前記検知部は、少なくとも前記選択された行の前記画像データに基づいて、補正係数を選択する選択信号を生成し、前記補正値生成部は、補正値を保持する補正値保持部を有し、前記選択信号により選択された前記補正係数及び前記選択された行の遮光データに基づいて前記補正値を生成し、保持し、前記データ補正部は、前記補正値に基づいて、前記ラインメモリに保持された前記選択された行の画像データを補正することを特徴とする。
【発明の効果】
【0007】
本発明によれば、横スミアの検出精度の向上と、横スミアを補正したときの横縞の発生を抑制するのに有利な構成を提供することができる。
【図面の簡単な説明】
【0008】
信号処理装置を備える光電変換装置の構成例。
光電変換部を説明する図。
信号処理装置のブロック図。
黒レベル補正部のブロック図。
横スミア発生時の信号レベルを説明する図。
検知部のブロック図。
第1の実施形態の補正値生成部のブロック図。
黒レベル補正前の信号レベルを説明する図。
黒レベル補正後の信号レベルを説明する図。
第1実施形態における黒レベル補正部処理方法を示すフロー図。
第2の実施形態の信号処理装置における黒レベル補正部のブロック図。
第2の実施形態の黒レベル補正部における補正値生成部のブロック図。
第2の実施形態における黒レベル補正部処理方法を示すフロー図。
第3の実施形態の黒レベル補正部における検知部のブロック図。
信号処理装置の機器への適用例を示す図。
【発明を実施するための形態】
【0009】
以下、添付図面を参照して実施形態を詳しく説明する。なお、以下の実施形態は特許請求の範囲に係る発明を限定するものではない。実施形態には複数の特徴が記載されているが、これらの複数の特徴の全てが発明に必須のものとは限らず、また、複数の特徴は任意に組み合わせられてもよい。さらに、添付図面においては、同一若しくは同様の構成に同一の参照番号を付し、重複した説明は省略する。
【0010】
以下に述べる各実施形態では、光電変換装置の一例として、撮像用途の装置(撮像装置)を中心に説明する。ただし、各実施形態は、撮像用途の装置に限られるものではなく、光電変換装置の他の例にも適用可能である。例えば、測距装置(焦点検出やTOF(Time Of Flight)を用いた距離測定等の装置)、測光装置(入射光量の測定等の装置)などがある。
(【0011】以降は省略されています)
この特許をJ-PlatPat(特許庁公式サイト)で参照する
関連特許
キヤノン株式会社
容器
1か月前
キヤノン株式会社
容器
1か月前
キヤノン株式会社
トナー
1か月前
キヤノン株式会社
トナー
2か月前
キヤノン株式会社
トナー
1か月前
キヤノン株式会社
トナー
2か月前
キヤノン株式会社
トナー
2か月前
キヤノン株式会社
記録装置
24日前
キヤノン株式会社
撮像装置
10日前
キヤノン株式会社
表示装置
10日前
キヤノン株式会社
表示装置
10日前
キヤノン株式会社
記録装置
1か月前
キヤノン株式会社
撮像装置
1か月前
キヤノン株式会社
発光装置
10日前
キヤノン株式会社
撮像装置
1か月前
キヤノン株式会社
撮像装置
1か月前
キヤノン株式会社
二次電池
5日前
キヤノン株式会社
現像装置
1か月前
キヤノン株式会社
記録装置
4日前
キヤノン株式会社
記録装置
4日前
キヤノン株式会社
撮像装置
3日前
キヤノン株式会社
撮像装置
10日前
キヤノン株式会社
表示装置
1か月前
キヤノン株式会社
撮像装置
3日前
キヤノン株式会社
定着装置
18日前
キヤノン株式会社
撮像装置
1か月前
キヤノン株式会社
定着装置
24日前
キヤノン株式会社
雲台装置
1か月前
キヤノン株式会社
定着装置
2か月前
キヤノン株式会社
電子機器
1か月前
キヤノン株式会社
記録装置
1か月前
キヤノン株式会社
電子機器
1か月前
キヤノン株式会社
記録装置
1か月前
キヤノン株式会社
撮像装置
18日前
キヤノン株式会社
定着装置
24日前
キヤノン株式会社
撮像装置
18日前
続きを見る
他の特許を見る