TOP
|
特許
|
意匠
|
商標
特許ウォッチ
Twitter
他の特許を見る
10個以上の画像は省略されています。
公開番号
2025167206
公報種別
公開特許公報(A)
公開日
2025-11-07
出願番号
2024071611
出願日
2024-04-25
発明の名称
光電変換装置
出願人
キヤノン株式会社
代理人
個人
,
個人
,
個人
,
個人
主分類
H04N
25/76 20230101AFI20251030BHJP(電気通信技術)
要約
【課題】信号品質を向上し得る光電変換装置を提供する。
【解決手段】複数の列をなすように配された複数の画素と、前記複数の列の各々に対応して配され、前記複数の画素のうちの第1画素群から第1走査モードにより信号が読み出される第1信号線と、前記複数の列の各々に対応して配され、前記複数の画素のうちの第2画素群から第2走査モードにより信号が読み出される第2信号線と、前記第1走査モードによる読み出しが行われ、かつ前記第2走査モードによる読み出しが行われない期間において、前記第2信号線に所定の電位を供給する電位制御部と、を有する。
【選択図】図1
特許請求の範囲
【請求項1】
複数の列をなすように配された複数の画素と、
前記複数の列の各々に対応して配され、前記複数の画素のうちの第1画素群から第1走査モードにより信号が読み出される第1信号線と、
前記複数の列の各々に対応して配され、前記複数の画素のうちの第2画素群から第2走査モードにより信号が読み出される第2信号線と、
前記第1走査モードによる読み出しが行われ、かつ前記第2走査モードによる読み出しが行われない期間において、前記第2信号線に所定の電位を供給する電位制御部と、
を有することを特徴とする光電変換装置。
続きを表示(約 920 文字)
【請求項2】
前記電位制御部は、固定電位を有する電位線と、前記第2信号線との接続を制御するスイッチを含む
ことを特徴とする請求項1に記載の光電変換装置。
【請求項3】
前記固定電位は電源電位である
ことを特徴とする請求項2に記載の光電変換装置。
【請求項4】
前記スイッチは、第1主電極及び第2主電極を有するP型MOSトランジスタを含み、
前記第1主電極は、前記電位線に接続されており、
前記第2主電極は、前記第2信号線に接続されている
ことを特徴とする請求項2に記載の光電変換装置。
【請求項5】
前記複数の画素の各々はN型MOSトランジスタを含み、
前記N型MOSトランジスタは第1基板に配されており、
前記P型MOSトランジスタは前記第1基板に積層された第2基板に配されている
ことを特徴とする請求項4に記載の光電変換装置。
【請求項6】
前記電位制御部は、前記第2信号線に固定電位の信号を出力するダミー画素を含む
ことを特徴とする請求項1に記載の光電変換装置。
【請求項7】
前記ダミー画素は、遮光された光電変換部を含み、黒レベルの信号を出力する
ことを特徴とする請求項6に記載の光電変換装置。
【請求項8】
前記第1走査モードにより信号が読み出される期間の少なくとも一部と、前記第2走査モードにより信号が読み出される期間の少なくとも一部とが重複している
ことを特徴とする請求項1に記載の光電変換装置。
【請求項9】
前記第1走査モードにより信号が読み出される期間は、前記第2走査モードにより信号が読み出される期間よりも長い
ことを特徴とする請求項8に記載の光電変換装置。
【請求項10】
前記第1走査モードにより信号が読み出される期間内に、前記第2走査モードにより信号が読み出される期間が複数含まれる
ことを特徴とする請求項9に記載の光電変換装置。
(【請求項11】以降は省略されています)
発明の詳細な説明
【技術分野】
【0001】
本発明は、光電変換装置に関する。
続きを表示(約 2,100 文字)
【背景技術】
【0002】
特許文献1には、1つの画素列に複数の信号線が配されている撮像素子が開示されている。複数の信号線の各々には、互いに異なる読み出しモードが割り当てられている。
【先行技術文献】
【特許文献】
【0003】
国際公開第2015/133323号
【発明の概要】
【発明が解決しようとする課題】
【0004】
特許文献1に開示されているような光電変換装置において、出力信号の品質向上が求められている。
そこで、本発明は、信号品質を向上し得る光電変換装置を提供することを目的とする。
【課題を解決するための手段】
【0005】
本明細書の一開示によれば、複数の列をなすように配された複数の画素と、前記複数の列の各々に対応して配され、前記複数の画素のうちの第1画素群から第1走査モードにより信号が読み出される第1信号線と、前記複数の列の各々に対応して配され、前記複数の画素のうちの第2画素群から第2走査モードにより信号が読み出される第2信号線と、前記第1走査モードによる読み出しが行われ、かつ前記第2走査モードによる読み出しが行われない期間において、前記第2信号線に所定の電位を供給する電位制御部と、を有することを特徴とする光電変換装置が提供される。
【発明の効果】
【0006】
本発明によれば、信号品質を向上し得る光電変換装置が提供される。
【図面の簡単な説明】
【0007】
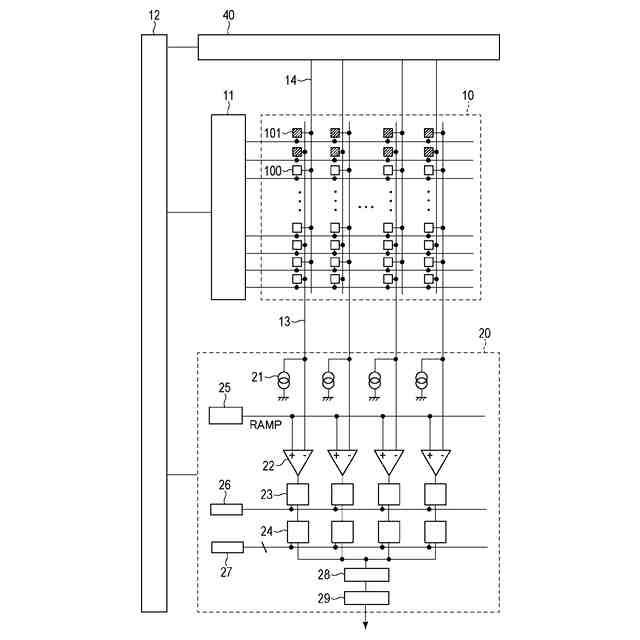
第1実施形態に係る光電変換装置の概略構成を示すブロック図である。
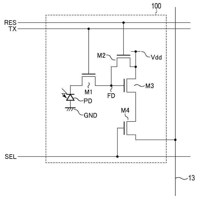
第1実施形態に係る画素の回路図である。
第1実施形態に係る電流源の回路図である。
第1実施形態に係る光電変換装置の動作を示すタイミングチャートである。
第1実施形態に係る光電変換装置の動作を示すタイミングチャートである。
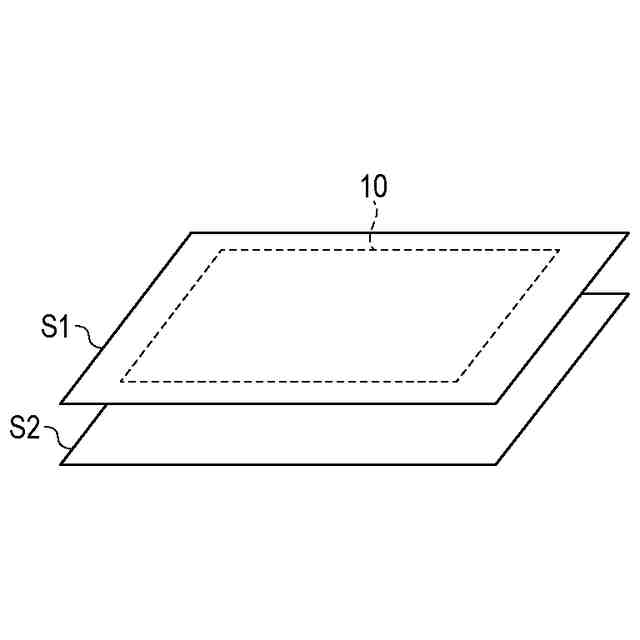
第1実施形態に係る積層型光電変換装置の模式図である。
第2実施形態に係る光電変換装置の概略構成を示すブロック図である。
第3実施形態に係る光電変換装置の1列の構成を示すブロック図である。
第3実施形態に係る光電変換装置の動作を示すタイミングチャートである。
第4実施形態に係る光電変換装置の動作を示すタイミングチャートである。
第5実施形態に係る機器のブロック図である。
第6実施形態に係る機器のブロック図である。
【発明を実施するための形態】
【0008】
以下、図面を参照しつつ、本発明の実施形態を説明する。複数の図面にわたって同一の要素又は対応する要素には共通の符号が付されており、その説明は省略又は簡略化されることがある。
【0009】
以下に述べる第1実施形態乃至第4実施形態では、光電変換装置の一例として、撮像装置を中心に説明する。しかしながら、各実施形態における光電変換装置は撮像装置に限定されるものではなく、光電変換に基づく他の光検出装置にも適用可能である。他の光検出装置の例としては、測距装置、測光装置が挙げられる。測距装置は、例えば、焦点検出装置、TOF(Time-Of-Flight)を用いた距離測定装置等であり得る。測光装置は、装置に入射する光の光量を測定する装置であり得る。
なお、以下に述べる実施形態に記載されるトランジスタの導電型は一例のものであって、実施例中に記載された導電型のみに限定されるものでは無い。実施形態中に記載された導電型に対し、導電型は適宜変更できるし、この変更に伴って、トランジスタのゲート、ソース、ドレインの電位は適宜変更される。
例えば、スイッチとして動作させるトランジスタであれば、ゲートに供給する電位のローレベルとハイレベルとを、導電型の変更に伴って、実施例中の説明に対し逆転させるようにすればよい。また、以下に述べる実施例中に記載される半導体領域の導電型についても一例のものであって、実施例中に記載された導電型のみに限定されるものでは無い。実施例中に記載された導電型に対し、導電型は適宜変更できるし、この変更に伴って、半導体領域の電位は適宜変更される。
また、以下の実施形態では、回路の素子同士の接続を述べることがある。この場合、注目する素子同士の間に別の素子が介在する場合であっても、特に断りのない限り、注目する素子同士は接続されているとして扱う。例えば、複数のノードを持つ容量素子Cの一方のノードに素子Aが接続され、他方のノードに素子Bが接続されているとする。このような場合であっても、素子A、素子Bは、特に断りのない限り、接続されているものとして扱う。
【0010】
[第1実施形態]
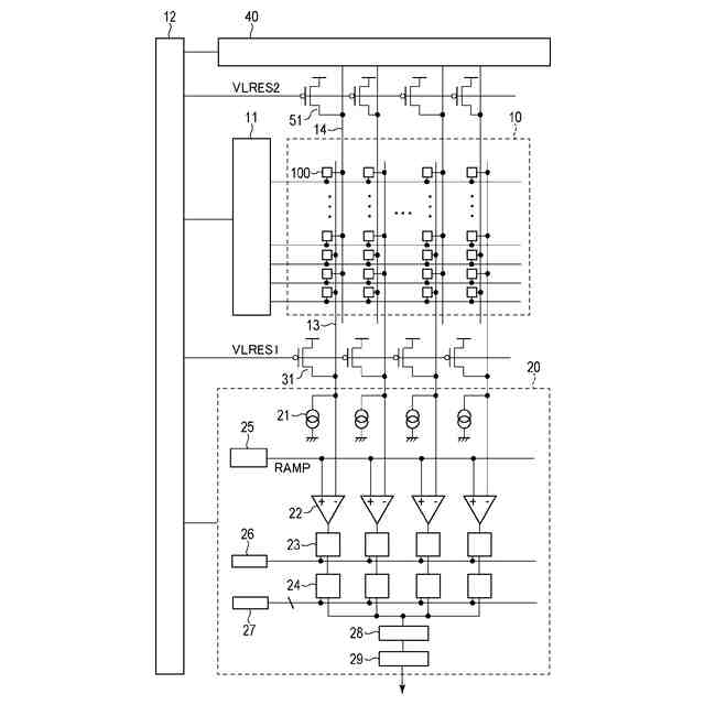
図1は、本実施形態に係る光電変換装置の概略構成を示すブロック図である。光電変換装置は、画素アレイ10、垂直走査回路11、制御回路12及び読み出し回路20、40を有している。
(【0011】以降は省略されています)
この特許をJ-PlatPat(特許庁公式サイト)で参照する
関連特許
キヤノン株式会社
トナー
1か月前
キヤノン株式会社
撮像装置
2日前
キヤノン株式会社
発光装置
9日前
キヤノン株式会社
撮像装置
2日前
キヤノン株式会社
撮像装置
2日前
キヤノン株式会社
撮像装置
25日前
キヤノン株式会社
撮像装置
2日前
キヤノン株式会社
撮像装置
17日前
キヤノン株式会社
撮像装置
17日前
キヤノン株式会社
定着装置
23日前
キヤノン株式会社
撮像装置
9日前
キヤノン株式会社
電子機器
25日前
キヤノン株式会社
表示装置
9日前
キヤノン株式会社
表示装置
9日前
キヤノン株式会社
撮像装置
1か月前
キヤノン株式会社
定着装置
17日前
キヤノン株式会社
二次電池
4日前
キヤノン株式会社
電子機器
2日前
キヤノン株式会社
雲台装置
1か月前
キヤノン株式会社
定着装置
23日前
キヤノン株式会社
記録装置
3日前
キヤノン株式会社
定着装置
17日前
キヤノン株式会社
記録装置
3日前
キヤノン株式会社
定着装置
23日前
キヤノン株式会社
撮像装置
9日前
キヤノン株式会社
表示装置
9日前
キヤノン株式会社
撮像装置
2日前
キヤノン株式会社
撮像装置
11日前
キヤノン株式会社
記録装置
23日前
キヤノン株式会社
表示装置
2日前
キヤノン株式会社
インク容器
3日前
キヤノン株式会社
露光ヘッド
23日前
キヤノン株式会社
画像形成装置
23日前
キヤノン株式会社
画像形成装置
17日前
キヤノン株式会社
画像形成装置
17日前
キヤノン株式会社
画像形成装置
18日前
続きを見る
他の特許を見る