TOP
|
特許
|
意匠
|
商標
特許ウォッチ
Twitter
他の特許を見る
10個以上の画像は省略されています。
公開番号
2025167202
公報種別
公開特許公報(A)
公開日
2025-11-07
出願番号
2024071604
出願日
2024-04-25
発明の名称
光電変換装置及び光電変換システム
出願人
キヤノン株式会社
代理人
個人
,
個人
,
個人
,
個人
主分類
H04N
25/76 20230101AFI20251030BHJP(電気通信技術)
要約
【課題】画素アレイ部の各列に複数に信号出力線が配された光電変換装置において、画素からの信号の読み出し速度を向上する。
【解決手段】光電変換装置は、第1及び第2画素群を含み列をなすように配された複数の画素と、第1画素群に接続された第1信号線及び第2画素群に接続された第2信号線を含む複数の信号線と、複数の信号線への電圧の供給を制御する電圧制御部及び複数の信号線の間の電気的な接続と分離を制御するスイッチ回路を有する列回路と、を有する。電圧制御部は、第1画素群からの信号を出力し、第2画素群からの信号を出力しない第1期間に第2信号線に所定の電圧を供給し、第2画素群からの信号を出力し、第1画素群からの信号を出力しない第2期間に第1信号線に所定の電圧を供給する。スイッチ回路は、第1及び第2期間に第1信号線と第2信号線とを分離し、第1期間と第2期間との間の第3期間に第1信号線と第2信号線とを接続する。
【選択図】図3
特許請求の範囲
【請求項1】
第1画素群及び第2画素群を含み、列をなすように配された複数の画素と、
前記第1画素群に接続された第1信号線と、前記第2画素群に接続された第2信号線と、を含む複数の信号線と、
前記複数の信号線に接続され、前記複数の信号線の各々への所定の電圧の供給を制御する電圧制御部と、前記複数の信号線の間の電気的な接続と分離を制御するスイッチ回路と、を有する列回路と、を有し、
前記電圧制御部は、前記第1画素群からの信号を前記第1信号線に出力し、前記第2画素群からの信号を前記第2信号線に出力しない第1期間に、前記第2信号線に前記所定の電圧を供給し、前記第2画素群からの信号を前記第2信号線に出力し、前記第1画素群からの信号を前記第1信号線に出力しない第2期間に、前記第1信号線に前記所定の電圧を供給し、
前記スイッチ回路は、前記第1期間及び前記第2期間に前記第1信号線と前記第2信号線とを分離し、前記第1期間と前記第2期間との間の第3期間に前記第1信号線と前記第2信号線とを接続する
ことを特徴とする光電変換装置。
続きを表示(約 940 文字)
【請求項2】
前記第1期間の処理と前記第2期間の処理とを交互に切り替える
ことを特徴とする請求項1記載の光電変換装置。
【請求項3】
前記電圧制御部は、固定電圧が供給されるノードと前記複数の信号線の各々との間に設けられた複数のスイッチを有する
ことを特徴とする請求項1記載の光電変換装置。
【請求項4】
前記固定電圧は、電源電圧である
ことを特徴とする請求項3記載の光電変換装置。
【請求項5】
前記複数のスイッチの各々は、P型トランジスタである
ことを特徴とする請求項3記載の光電変換装置。
【請求項6】
前記複数の画素の各々はN型トランジスタを含み、
前記N型トランジスタは第1基板に配されており、
前記P型トランジスタは前記第1基板に積層された第2基板に配されている
ことを特徴とする請求項5に記載の光電変換装置。
【請求項7】
前記列回路は、前記第1信号線から出力される信号を処理する第1信号処理回路と、前記第2信号線から出力される信号を処理する第2信号処理回路と、を有する
ことを特徴とする請求項1乃至6のいずれか1項に記載の光電変換装置。
【請求項8】
前記第1期間に前記第2信号処理回路をパワーセーブ状態に設定し、前記第2期間に前記第1信号処理回路をパワーセーブ状態に設定する
ことを特徴とする請求項7記載の光電変換装置。
【請求項9】
前記列回路は、前記第1信号線から出力される信号及び前記第2信号線から出力される信号線のうちの一方を選択して出力する選択回路と、前記選択回路から出力される信号を処理する信号処理回路と、を有する
ことを特徴とする請求項1乃至6のいずれか1項に記載の光電変換装置。
【請求項10】
前記第1信号処理回路及び前記第2信号処理回路は、前記複数の信号線に出力されたアナログ信号をデジタル信号に変換するアナログ・デジタル変換回路を有する
ことを特徴とする請求項7記載の光電変換装置。
(【請求項11】以降は省略されています)
発明の詳細な説明
【技術分野】
【0001】
本発明は、光電変換装置及び光電変換システムに関する。
続きを表示(約 2,100 文字)
【背景技術】
【0002】
特許文献1には、画素からの信号の読み出しに使用する信号線を、画素アレイ部の各列に配された2本の信号出力線から交互に選択するように構成した光電変換装置が記載されている。
【先行技術文献】
【特許文献】
【0003】
特開2023-072534号公報
【発明の概要】
【発明が解決しようとする課題】
【0004】
しかしながら、特許文献1に記載の技術では、画素からの信号の読み出し速度が必ずしも十分とは言えず、読み出し速度の向上が望まれていた。
【0005】
本発明の目的は、画素アレイ部の各列に複数の信号出力線が配された光電変換装置において、画素からの信号の読み出し速度を向上するための技術を提供することにある。
【課題を解決するための手段】
【0006】
本明細書の一開示によれば、第1画素群及び第2画素群を含み、列をなすように配された複数の画素と、前記第1画素群に接続された第1信号線と、前記第2画素群に接続された第2信号線と、を含む複数の信号線と、前記複数の信号線に接続され、前記複数の信号線の各々への所定の電圧の供給を制御する電圧制御部と、前記複数の信号線の間の電気的な接続と分離を制御するスイッチ回路と、を有する列回路と、を有し、前記電圧制御部は、前記第1画素群からの信号を前記第1信号線に出力し、前記第2画素群からの信号を前記第2信号線に出力しない第1期間に、前記第2信号線に前記所定の電圧を供給し、前記第2画素群からの信号を前記第2信号線に出力し、前記第1画素群からの信号を前記第1信号線に出力しない第2期間に、前記第1信号線に前記所定の電圧を供給し、前記スイッチ回路は、前記第1期間及び前記第2期間に前記第1信号線と前記第2信号線とを分離し、前記第1期間と前記第2期間との間の第3期間に前記第1信号線と前記第2信号線とを接続する光電変換装置が提供される。
【0007】
本明細書の他の一開示によれば、第1画素群及び第2画素群を含み、列をなすように配された複数の画素と、前記第1画素群に接続された第1信号線と、前記第2画素群に接続された第2信号線と、を含む複数の信号線と、を有する光電変換装置の駆動方法であって、前記第1画素群からの信号を前記第1信号線に出力し、前記第2画素群からの信号を前記第2信号線に出力しない第1期間に、前記第1信号線と前記第2信号線とを電気的に分離し、前記第2信号線に所定の電圧を供給し、前記第2画素群からの信号を前記第2信号線に出力し、前記第1画素群からの信号を前記第1信号線に出力しない第2期間に、前記第1信号線と前記第2信号線とを電気的に分離し、前記第1信号線に所定の電圧を供給し、前記第1期間と前記第2期間との間の第3期間に、前記第1信号線と前記第2信号線とを電気的に接続する光電変換装置の駆動方法が提供される。
【発明の効果】
【0008】
本発明によれば、画素アレイ部の各列に複数に信号出力線が配された光電変換装置において、画素からの信号の読み出し速度を向上することができる。
【図面の簡単な説明】
【0009】
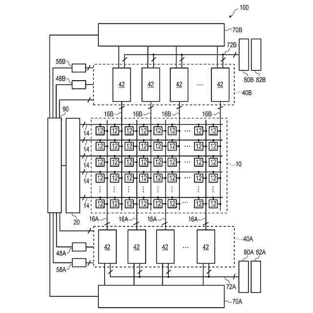
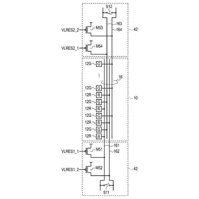
第1実施形態による光電変換装置の概略構成を示すブロック図である。
第1実施形態による光電変換装置における画素の構成例を示す回路図である。
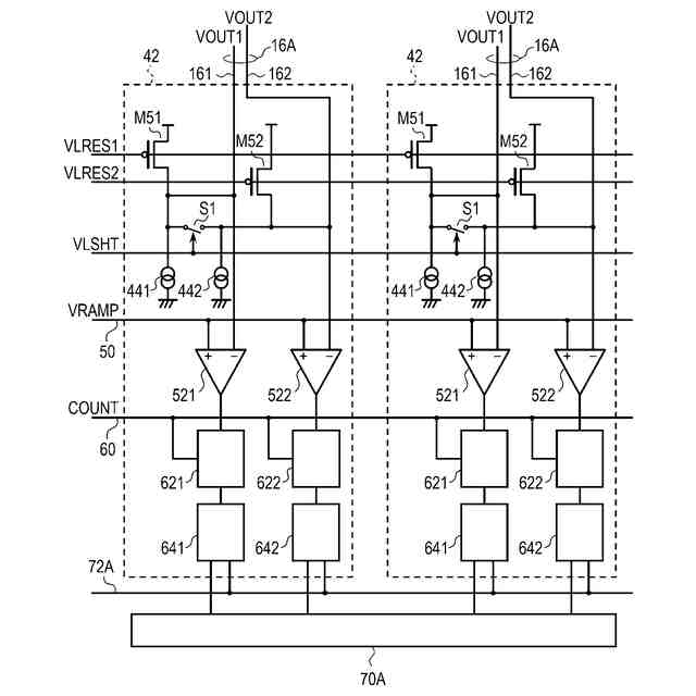
第1実施形態による光電変換装置における列回路の構成例を示す回路図である。
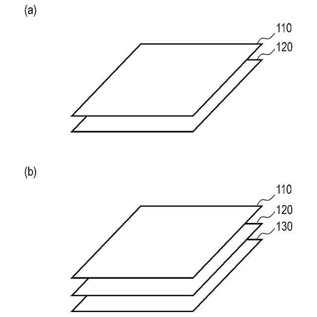
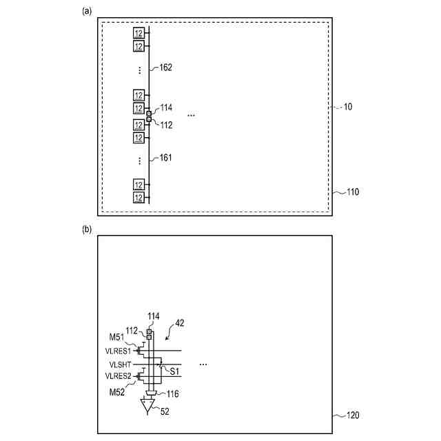
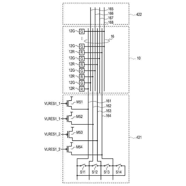
第1実施形態による光電変換装置の構成例を示す模式図である。
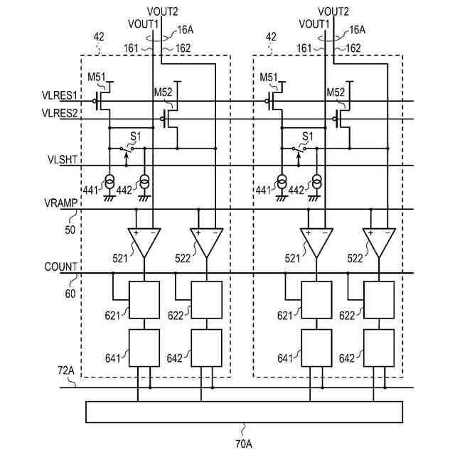
第1実施形態による光電変換装置の駆動方法を示すタイミング図(その1)である。
第1実施形態による光電変換装置の駆動方法を示すタイミング図(その2)である。
第2実施形態による光電変換装置の構成例を示す模式図である。
第3実施形態による光電変換装置の構成例を示す模式図である。
第4実施形態による光電変換装置の構成例を示す模式図である。
第4実施形態による光電変換装置の駆動方法を示すタイミング図である。
第5実施形態による光電変換システムの概略構成を示すブロック図である。
第6実施形態による光電変換システム及び移動体の構成例を示す図である。
第7実施形態による機器の概略構成を示すブロック図である。
【発明を実施するための形態】
【0010】
以下、図面を用いて本発明に係る実施形態を説明する。以下に述べる各実施形態では、光電変換装置の一例として、撮像用途の装置を中心に説明する。ただし、各実施形態は、この撮像用途の装置に限られるものではなく、光電変換装置として含まれる他の例にも適用可能である。例えば、測距装置(焦点検出やTOF(Time Of Flight)を用いた距離測定等の装置)、測光装置(入射光量の測定等の装置)などがある。
(【0011】以降は省略されています)
この特許をJ-PlatPat(特許庁公式サイト)で参照する
関連特許
キヤノン株式会社
容器
1か月前
キヤノン株式会社
容器
1か月前
キヤノン株式会社
トナー
1か月前
キヤノン株式会社
トナー
1か月前
キヤノン株式会社
トナー
2か月前
キヤノン株式会社
トナー
2か月前
キヤノン株式会社
トナー
2か月前
キヤノン株式会社
撮像装置
18日前
キヤノン株式会社
電子機器
1か月前
キヤノン株式会社
撮像装置
1か月前
キヤノン株式会社
雲台装置
1か月前
キヤノン株式会社
二次電池
5日前
キヤノン株式会社
撮影装置
1か月前
キヤノン株式会社
記録装置
1か月前
キヤノン株式会社
撮像装置
12日前
キヤノン株式会社
記録装置
1か月前
キヤノン株式会社
現像装置
1か月前
キヤノン株式会社
電子機器
1か月前
キヤノン株式会社
記録装置
1か月前
キヤノン株式会社
記録装置
4日前
キヤノン株式会社
撮像装置
1か月前
キヤノン株式会社
記録装置
4日前
キヤノン株式会社
撮像装置
3日前
キヤノン株式会社
撮像装置
3日前
キヤノン株式会社
現像装置
1か月前
キヤノン株式会社
電子機器
26日前
キヤノン株式会社
定着装置
18日前
キヤノン株式会社
表示装置
10日前
キヤノン株式会社
測距装置
1か月前
キヤノン株式会社
撮像装置
18日前
キヤノン株式会社
表示装置
10日前
キヤノン株式会社
定着装置
18日前
キヤノン株式会社
撮像装置
10日前
キヤノン株式会社
撮像装置
10日前
キヤノン株式会社
表示装置
10日前
キヤノン株式会社
発光装置
10日前
続きを見る
他の特許を見る