TOP
|
特許
|
意匠
|
商標
特許ウォッチ
Twitter
他の特許を見る
公開番号
2025167196
公報種別
公開特許公報(A)
公開日
2025-11-07
出願番号
2024071588
出願日
2024-04-25
発明の名称
乾燥装置
出願人
クリーン・テクノロジー株式会社
代理人
個人
主分類
F26B
13/08 20060101AFI20251030BHJP(乾燥)
要約
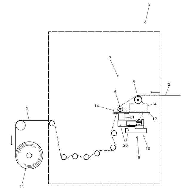
【課題】常にしわを解消した状態で蛇行補正するとともに常に蛇行補正によりセンタリングされている状態でしわ伸ばしをおこなうことができ、しわ伸ばし効果も蛇行補正も良好におこなえる画期的な乾燥装置を提供すること。
【解決手段】連動制御されるエキスパンダーロール5とその搬送下流側の蛇行補正ロール6とからなり、しわ伸ばしと蛇行補正とを一緒におこなう機能を持つしわ解消蛇行補正機構7を乾燥室部3の出口部に備えた乾燥装置。
【選択図】図2
特許請求の範囲
【請求項1】
塗工装置により塗工液が塗工されこの塗工装置から送出されるフィルム状の基材を搬送通過させる乾燥室部内に、この基材に塗工されている前記塗工液による塗工面を乾燥するための熱風が送出される熱風送出部、又は乾燥するためのヒーター部が設けられている乾燥装置であって、
前記乾燥室部内を搬送通過して前記塗工面が乾燥したフィルム状の前記基材を、抱き角をもって支承して基材幅方向に付与される張力によりこの基材のしわまたはカールを解消させるエキスパンダーロールと、前記基材を、抱き角をもって支承して軸方向を前記基材幅方向に対してやや傾斜させることでこの基材の蛇行を補正させる蛇行補正ロールとから成るしわ解消蛇行補正機構が、前記乾燥室部の出口部側に備えられていて、
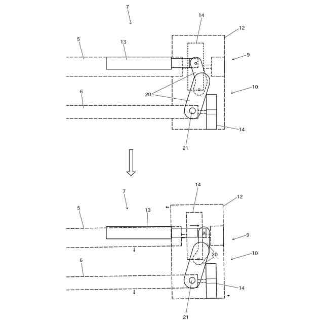
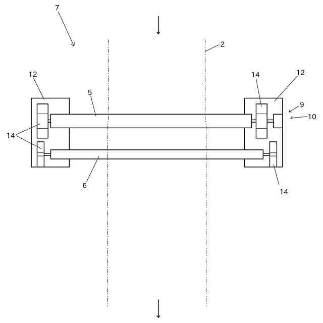
前記しわ解消蛇行補正機構は、前記蛇行補正ロールの搬送上流側に前記エキスパンダーロールが並設されている構成とされているとともに、
搬送されるフィルム状の前記基材の蛇行を検知する蛇行検知部に基づいて前記蛇行補正ロールをその軸方向が前記基材幅方向に対して所定量傾動するように制御する蛇行補正ロール傾動制御機構と、この蛇行補正ロールの傾動に連動して同方向に前記エキスパンダーロールを所定量傾動するように連動制御するエキスパンダーロール連動制御機構とが備えられている構成とされていることを特徴とする乾燥装置。
続きを表示(約 550 文字)
【請求項2】
前記しわ解消蛇行補正機構の並設されている前記エキスパンダーロールおよび前記蛇行補正ロールは、前記乾燥室部内を搬送通過して前記塗工面が乾燥したフィルム状の前記基材を巻取る巻取り回収部の搬送上流側であって前記乾燥室部の前記出口部の搬送下流側に設けられていて、前記エキスパンダーロールの前記基材に対する前記抱き角よりも前記蛇行補正ロールの前記基材に対する抱き角が同等もしくは大きくなるように配置されこの抱き角により基材の接触圧が高められている構成であることを特徴とする請求項1記載の乾燥装置。
【請求項3】
前記蛇行補正ロール傾動制御機構は、前記蛇行検知部に基づいて前記蛇行補正ロールをその軸方向が前記基材幅方向に対して傾動するように水平回動する回動ユニットベース部と、この回動ユニットベース部を所定量水平回動させる回動駆動部とから成り、前記回動ユニットベース部に前記蛇行補正ロールが設けられている構成とされていて、
前記エキスパンダーロール連動制御機構は、前記回動ユニットベース部もしくはこの回動ユニットベース部とともに水平回動する連動ユニットベース部に前記エキスパンダーロールが設けられている構成とされていることを特徴とする請求項1記載の乾燥装置。
発明の詳細な説明
【技術分野】
【0001】
本発明は、例えばスリット状の先端吐出孔から塗工液を吐出するノズル部に対して、フィルム状の被塗工体(基材)を搬送して表面に薄膜を塗工形成するように構成した塗工装置に設ける乾燥装置であって、塗工を終えたフィルム状の基材の塗工面を熱風又はヒーターで加熱し乾燥させる構成とした乾燥室部にこの基材を搬送通過させて、この基材表面の塗工膜(塗工面)を乾燥する乾燥装置に関するものである。
続きを表示(約 2,000 文字)
【背景技術】
【0002】
塗工装置に設ける乾燥装置は、塗工装置により塗工液が表面に塗工されこの塗工装置から送出されるフィルム状の基材を搬送通過させて、たとえば熱風やヒーター加熱によりこの基材表面の塗工膜(塗工面)を乾燥するものである。
【0003】
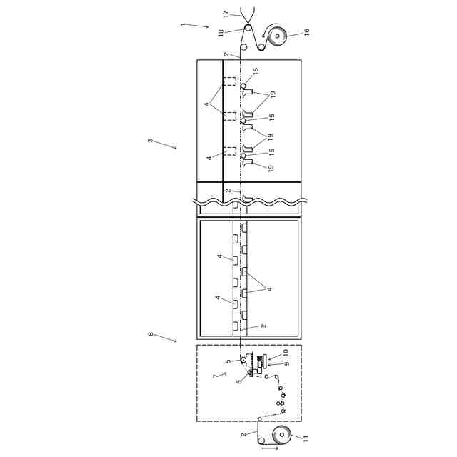
このような乾燥装置は、左右に設けた搬送出入口部を介してフィルム状の基材を搬送通過させる分割乾燥室部(上蓋付きの本体部)を左右に複数並設した構成の乾燥室部からなる構成で、この各本体部の対向する搬送出入口部が連通するように複数連結して乾燥室長(搬送距離)を長く形成した構成としている。そしてこの乾燥室部を構成する各本体部内には、たとえば搬送上流側では、複数連結した各本体部内に支承ロールを水平方向に総じて多数並設架設し、この支承ロール上にフィルム状の前記基材を通紙し、このフィルム状の基材を引き取り水平搬送しながら、各本体部内の熱風送出部からの熱風やヒーター部の熱によりこの基材の塗工面を乾燥するように構成し、搬送下流側では複数連結した本体部内の上下に熱風送出部を設けて非接触で搬送通過させながらフローティング乾燥方式でこの塗工面(塗工膜)を乾燥するように構成している。
【0004】
このような塗工液が塗布されている基材を乾燥する際に、この塗工面(塗工膜)の収縮により基材の幅方向端部がたとえば上方にカールする(端部が上方に湾曲変形する)場合だけでなく、塗工液が塗工されている部分とない部分がある場合にはその塗工面が加熱され乾燥するとその塗工面の収縮によるカールや熱風乾燥によるバタつきなどにより、基材幅方向に波状のしわが生じる場合がある。
【0005】
たとえば、リチウムイオン電池の電極フィルムは、アルミや銅箔などの基材の上面に電極膜を塗布し、乾燥して形成するが、この電極膜(塗工膜)を前記乾燥室部からなる乾燥装置で乾燥する際に、基材が幅広であるほどまた基材が薄いほど電極膜中の結着剤(電極膜を基材に接着させる物質)の収縮によるカールや前記熱風乾燥によるバタつきによってこの電極フィルムに前述のようなカールやしわが生じ、このような状態でロールに巻き取られることで、基材に折れが生じたり電極膜の端部にひび割れが生じるなどの不具合が生じるおそれがあった。
【0006】
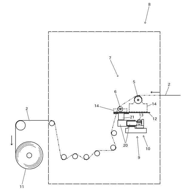
そこで、このようなカールやしわを抑制するため、塗工膜を薄くして収縮力を抑えたり、基材の厚さを厚くして剛性を高めたり、あるいは乾燥速度(搬送速度)を低下させ急激な応力差が生じることを抑えるなどの対策がなされているが、また一方で、搬送方向中央部がやや上方に凸で基材幅方向の左右端部側に向かう程やや下方に傾斜した形状、すなわち上下方向にやや湾曲した形状(上下にやや湾曲したババナ形状)のエキスパンダーロールを乾燥室部の出口部に設け、乾燥を終えたフィルム状の基材をこのエキスパンダーロールに抱き角をもって支承させ搬送させることで、基材幅方向の左右端部方向に張力が付与されることになりこの基材のしわまたはカールを解消させるようにすることも提案されている。
【0007】
しかし、搬送距離のある乾燥室部内の乾燥により基材が蛇行する場合があり、特に搬送し乾燥時間を早めたり搬送距離を短くするために乾燥後半では前記フローティング式乾燥をおこなう場合にはその蛇行が大きくなるおそれがあるため、前記エキスパンダーロールを採用してしわを伸ばし解消させる場合、このエキスパンダーロールのセンターに対して基材のセンター位置が蛇行によりずれるおそれがある。そのため、この蛇行によってエキスパンダーロールによるしわ伸ばし効果が低減したりさらに蛇行が助長されたりすることとなり、これを巻き取った際に塗工膜(塗工面)に不具合が生じるおそれがある。
【0008】
また一方、このように基材が蛇行しようとすることを補正するために、抱き角をもって支承してその軸方向を前記基材幅方向に対してやや傾斜させるように調整することでこの基材の蛇行を補正する蛇行補正ロールを設けることも行われている。
【0009】
しかし、単にこのような蛇行補正ロールを設けると、もし前述のように基材に波状のしわが生じている場合には、この蛇行補正ロールは抱き角が大きくその接触圧(グリップ力)が大きいため(一般的にその抱き角は90度でありグリップ力が大きいため)、そのしわが助長されたり折れ潰されたりしてその波状のしわが折れ固定されてしまうおそれがある。
【先行技術文献】
【特許文献】
【0010】
特開2020-118363号公報
【発明の概要】
【発明が解決しようとする課題】
(【0011】以降は省略されています)
この特許をJ-PlatPat(特許庁公式サイト)で参照する
関連特許
個人
ハンディ傘乾燥丸め器
2か月前
株式会社サタケ
循環式穀物乾燥機
2か月前
株式会社サタケ
粒状物の乾燥装置
1か月前
株式会社ダイソー
乾熱減容処理装置
3か月前
株式会社チノー
乾燥システム
4か月前
株式会社カワタ
粉粒体処理装置
1か月前
株式会社クレブ
ブーツ乾燥装置
9か月前
東レエンジニアリング株式会社
乾燥装置
1か月前
東レ株式会社
塗膜付きシートの加熱装置
6か月前
東レエンジニアリング株式会社
乾燥装置
3か月前
エイ・エス・デイ株式会社
乾燥装置
3か月前
株式会社サタケ
穀物乾燥機
3か月前
株式会社ヨシカワ
乾燥装置
3か月前
株式会社ヒメジ理化イノテック
乾燥装置
27日前
大東電子株式会社
傘水滴除去装置
10か月前
クリーン・テクノロジー株式会社
乾燥装置
9か月前
クリーン・テクノロジー株式会社
乾燥装置
25日前
クリーン・テクノロジー株式会社
乾燥装置
10か月前
株式会社ワカミヤ商会
乾燥装置
5か月前
高砂工業株式会社
凍結乾燥装置
8か月前
アントム株式会社
搬送式乾燥炉
7か月前
株式会社カワタ
粉粒体処理容器および乾燥装置
1か月前
セイコーエプソン株式会社
乾燥機
6か月前
株式会社カワタ
粉粒体処理装置および乾燥方法
1か月前
株式会社大川原製作所
乾燥システム
8か月前
クリーン・テクノロジー株式会社
熱風式乾燥装置
9か月前
個人
常服乾燥装置
2か月前
株式会社大川原製作所
乾燥システム
8か月前
株式会社マクニカ
乾熱減容処理装置
3か月前
株式会社アサヒテクノ
乾燥装置及び乾燥方法
6か月前
特殊電極株式会社
塗装乾燥装置および塗装乾燥方法
8か月前
カワサキ機工株式会社
ネット型乾燥装置
5か月前
株式会社KMコーポレーション
二重効用乾燥システム
4日前
株式会社ワコーシステムコントロール
乾燥装置
1か月前
トヨタ自動車株式会社
乾燥装置
1か月前
株式会社ショウワテクノ
コンテナ容器脱水装置
9か月前
続きを見る
他の特許を見る