TOP
|
特許
|
意匠
|
商標
特許ウォッチ
Twitter
他の特許を見る
10個以上の画像は省略されています。
公開番号
2025167161
公報種別
公開特許公報(A)
公開日
2025-11-07
出願番号
2024071521
出願日
2024-04-25
発明の名称
表示装置、および表示装置の制御方法
出願人
キヤノン株式会社
代理人
弁理士法人秀和特許事務所
主分類
G09G
5/377 20060101AFI20251030BHJP(教育;暗号方法;表示;広告;シール)
要約
【課題】ユーザーが見ている空間に他のユーザーのアバターが表示されている場合でも、ユーザーが見たいオブジェクトを他のユーザーのアバターに遮られることなく視認することを可能にする表示装置を提供する。
【解決手段】表示装置は、ユーザーの視界となる空間に他のユーザーのアバターを表示する表示制御手段と、前記ユーザーの視線位置を取得する取得手段とを有し、前記表示制御手段は、前記ユーザーの前記視線位置と前記他のユーザーの前記アバターの表示位置とが所定の条件を満たす場合に、前記アバターの表示位置、向き、および表示態様の少なくともいずれかを含む前記アバターの表示状態を変更するように制御する。
【選択図】図7
特許請求の範囲
【請求項1】
ユーザーの視界となる空間に他のユーザーのアバターを表示する表示制御手段と、
前記ユーザーの視線位置を取得する取得手段と
を有し、
前記表示制御手段は、前記ユーザーの前記視線位置と前記他のユーザーの前記アバターの表示位置とが所定の条件を満たす場合に、前記アバターの表示位置、向き、および表示態様の少なくともいずれかを含む前記アバターの表示状態を変更するように制御する
ことを特徴とする表示装置。
続きを表示(約 1,200 文字)
【請求項2】
前記所定の条件は、前記他のユーザーの前記アバターが、前記ユーザーの前記視線位置を含む所定の領域と重なることであり、
前記表示制御手段は、前記アバターを前記所定の領域の外に移動させるか、または前記アバターの透過度を上げることにより前記アバターの表示状態を変更するように制御することを特徴とする請求項1に記載の表示装置。
【請求項3】
前記所定の条件は、前記他のユーザーの前記アバターが、前記ユーザーの前記視線位置に存在する物体の領域と重なることであり、
前記表示制御手段は、前記アバターを前記視線位置に存在する物体の領域の外に移動させるか、または前記アバターの透過度を上げることにより前記アバターの表示状態を変更するように制御する
ことを特徴とする請求項1に記載の表示装置。
【請求項4】
前記表示制御手段は、前記他のユーザーの前記アバターを移動させることにより前記アバターの表示状態を変更する場合、前記ユーザーの前記視線位置と、前記アバターの表示位置とに基づいて、前記アバターの移動方向を決定する
ことを特徴とする請求項1に記載の表示装置。
【請求項5】
前記表示制御手段は、前記移動方向に移動した後の前記アバターの顔が、前記他のユーザーが前記アバターの移動前に見ていた物体に向けられるように、前記アバターの顔の向きを変更するように制御する
ことを特徴とする請求項4に記載の表示装置。
【請求項6】
前記表示制御手段は、前記ユーザーの前記視線位置が、前記他のユーザーの前記アバターの表示領域に含まれる場合には、前記アバターの前記表示状態を変更しない
ことを特徴とする請求項1に記載の表示装置。
【請求項7】
前記表示制御手段は、前記ユーザーが前記他のユーザーの前記アバターを注視している場合に、前記他のユーザーの情報を表示する
ことを特徴とする請求項1に記載の表示装置。
【請求項8】
前記表示制御手段は、前記アバターを移動させる場合に、前記ユーザーの前記視線位置の移動速度よりも遅い速度で前記アバターを移動させる
ことを特徴とする請求項1に記載の表示装置。
【請求項9】
前記表示制御手段は、前記ユーザーの前記視線位置と、前記他のユーザーの前記アバターの元の表示位置とが前記所定の条件を満たさなくなった場合に、前記アバターの表示状態を変更前の状態に戻すように制御する
ことを特徴とする請求項1に記載の表示装置。
【請求項10】
前記表示制御手段は、前記ユーザーの左右の視線がなす輻輳角に基づいて、前記ユーザーが前記視線位置を注視していないと判定した場合には、前記アバターの前記表示状態を変更しない
ことを特徴とする請求項1に記載の表示装置。
(【請求項11】以降は省略されています)
発明の詳細な説明
【技術分野】
【0001】
本発明は、表示装置、および表示装置の制御方法に関する。
続きを表示(約 1,900 文字)
【背景技術】
【0002】
近年、視線検出機能を有する眼鏡型のヘッドマウントディスプレイ(HMD)および車両用のヘッドアップディスプレイ(HUD)の自動化およびインテリジェント化が進んでいる。また、HMDおよびHUDなどの表示装置と、スマートフォンおよびパーソナルコンピュータ(PC)などの機器とを用いて、ユーザーは、バーチャルイベントに参加することができる。ユーザーがアバターとして参加できるバーチャルイベントでは、ユーザーのアバターだけでなく他のユーザーのアバターも表示される。
【0003】
特許文献1は、眼電位信号に基づいてユーザーの眼の動きを検出し、ユーザーの瞬目、視線移動に同期させて、ユーザー自身のアバターの瞬目、視線移動を制御する技術を開示する。また、特許文献2は、仮想空間に提示されるマップオブジェクトにおいて、ユーザーが視線で選択した空席にユーザーのアバターオブジェクトを移動する技術を開示する。
【先行技術文献】
【特許文献】
【0004】
特開2021-177277号公報
特開2018-142319号公報
【発明の概要】
【発明が解決しようとする課題】
【0005】
バーチャルイベントにアバターとして参加し、ユーザーが見ている空間に他のユーザーのアバターが表示される場合、他のユーザーのアバターは、ユーザーが見たいオブジェクトに重なって表示される場合がある。ユーザーが見たいオブジェクトを視認できるようにするために他のユーザーのアバターを非表示にすると、バーチャルイベントの臨場感は損なわれてしまう。また、ユーザーの視線情報を用いて、ユーザー自身のアバターを制御したり、移動させたりすることができても、ユーザーが見たいオブジェクトを他のユーザーのアバターに遮られないようにすることは困難である。
【0006】
本発明は、ユーザーが見ている空間に他のユーザーのアバターが表示されている場合でも、ユーザーが見たいオブジェクトを他のユーザーのアバターに遮られることなく視認することを可能にする表示装置を提供することを目的とする。
【課題を解決するための手段】
【0007】
本発明に係る表示装置は、ユーザーの視界となる空間に他のユーザーのアバターを表示する表示制御手段と、前記ユーザーの視線位置を取得する取得手段とを有し、前記表示制御手段は、前記ユーザーの前記視線位置と前記他のユーザーの前記アバターの表示位置とが所定の条件を満たす場合に、前記アバターの表示位置、向き、および表示態様の少なくともいずれかを含む前記アバターの表示状態を変更するように制御することを特徴とする。
【発明の効果】
【0008】
本発明によれば、ユーザーが見ている空間に他のユーザーのアバターが表示されている場合でも、ユーザーが見たいオブジェクトを他のユーザーのアバターに遮られることなく視認することを可能にする表示装置を提供することができる。
【図面の簡単な説明】
【0009】
HMDの構成の概略図である。
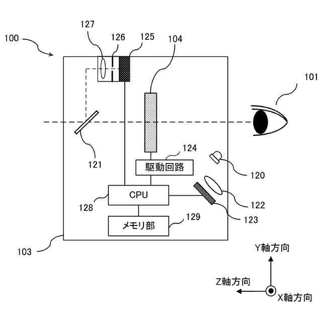
HMDの視線検出を行う構成の概略図である。
視線検出方法の原理を説明するための図である。
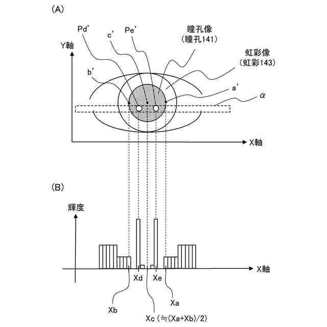
眼画像を示す図である。
視線検出処理を例示するフローチャートである。
実施形態1での他ユーザーのアバターの表示制御を説明する図である。
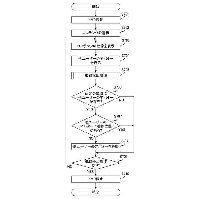
実施形態1に係る表示制御処理を例示するフローチャートである。
実施形態2に係る表示制御処理を例示するフローチャートである。
実施形態2での他ユーザーのアバターの表示制御を説明する図である。
実施形態3に係る表示制御処理を例示するフローチャートである。
アバターの移動方向決定処理を例示するフローチャートである。
実施形態3での他ユーザーのアバターの表示制御を説明する図である。
実施形態4に係る表示制御処理を例示するフローチャートである。
アバターの移動速度決定処理を例示するフローチャートである。
アバターの移動可否判定処理を例示するフローチャートである。
視線位置の注視判定処理を例示するフローチャートである。
輻輳角の算出について説明する図である。
実施形態4での他ユーザーの情報表示について説明する図である。
【発明を実施するための形態】
【0010】
<実施形態1>
以下、図面を参照して本発明の実施形態について説明する。
(【0011】以降は省略されています)
この特許をJ-PlatPat(特許庁公式サイト)で参照する
関連特許
キヤノン株式会社
容器
1か月前
キヤノン株式会社
トナー
26日前
キヤノン株式会社
表示装置
5日前
キヤノン株式会社
撮像装置
5日前
キヤノン株式会社
定着装置
19日前
キヤノン株式会社
定着装置
13日前
キヤノン株式会社
表示装置
1か月前
キヤノン株式会社
撮像装置
1か月前
キヤノン株式会社
撮像装置
5日前
キヤノン株式会社
表示装置
5日前
キヤノン株式会社
電子機器
26日前
キヤノン株式会社
発光装置
5日前
キヤノン株式会社
定着装置
13日前
キヤノン株式会社
定着装置
19日前
キヤノン株式会社
記録装置
26日前
キヤノン株式会社
記録装置
26日前
キヤノン株式会社
雲台装置
26日前
キヤノン株式会社
撮像装置
13日前
キヤノン株式会社
撮像装置
27日前
キヤノン株式会社
定着装置
19日前
キヤノン株式会社
撮像装置
21日前
キヤノン株式会社
表示装置
5日前
キヤノン株式会社
撮像装置
13日前
キヤノン株式会社
測距装置
28日前
キヤノン株式会社
二次電池
今日
キヤノン株式会社
電子機器
21日前
キヤノン株式会社
撮像装置
26日前
キヤノン株式会社
撮像装置
7日前
キヤノン株式会社
記録装置
19日前
キヤノン株式会社
電子機器
26日前
キヤノン株式会社
露光ヘッド
19日前
キヤノン株式会社
液体収容体
28日前
キヤノン株式会社
液体収容体
29日前
キヤノン株式会社
画像形成装置
13日前
キヤノン株式会社
情報処理装置
13日前
キヤノン株式会社
印刷システム
13日前
続きを見る
他の特許を見る