TOP
|
特許
|
意匠
|
商標
特許ウォッチ
Twitter
他の特許を見る
公開番号
2025167151
公報種別
公開特許公報(A)
公開日
2025-11-07
出願番号
2024071507
出願日
2024-04-25
発明の名称
車両後部の空気流調整装置
出願人
トヨタ車体株式会社
代理人
個人
,
個人
主分類
B62D
37/02 20060101AFI20251030BHJP(鉄道以外の路面車両)
要約
【課題】車両の走行抵抗低減と風打ち音低減とを両立させることができる車両後部の空気流調整装置を提供する。
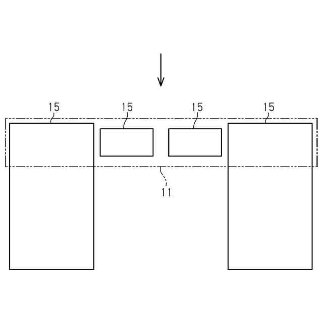
【解決手段】車両後部の空気流調整装置は、後端にバンパー11を配置した車両に適用される。車両のバンパー11の上側には空気通路12が形成されている。そして、走行時に車両のフロア下に流れる空気が空気通路12によって車両の後面14の後側に流される。車両の後部におけるバンパー11の前には、そのバンパー11との間に空気通路12を形成する可動部材15が配置される。可動部材15は、バンパー11に対し近づいたり離れたりする方向に移動することが可能とされている。可動部材15は、その移動に基づき、空気通路12における空気の流通断面積を変更する。
【選択図】図1
特許請求の範囲
【請求項1】
後端にバンパーが配置された車両に適用され、その車両の前記バンパーの上側に空気通路が形成されており、走行時に車両のフロア下に流れる空気を前記空気通路によって前記車両の後面の後側に流す車両後部の空気流調整装置において、
前記車両の後部における前記バンパーの前には、そのバンパーとの間に前記空気通路を形成する可動部材が配置され、
前記可動部材は、前記バンパーに対し近づいたり離れたりする方向に移動することが可能とされており、その移動に基づき前記空気通路における空気の流通断面積を変更するものである車両後部の空気流調整装置。
続きを表示(約 430 文字)
【請求項2】
前記可動部材は、車速が閾値以上であるときには、車速が前記閾値未満であるときよりも前記バンパーから離れることにより、前記空気通路における空気の流通断面積を大きくする請求項1に記載の車両後部の空気流調整装置。
【請求項3】
前記バンパーに対する前記可動部材の移動を案内するレールを備え、
前記可動部材は、前記レールに沿って移動することにより、前記バンパーに対し近づいたり離れたりする請求項1又は2に記載の車両後部の空気流調整装置。
【請求項4】
前記可動部材は、車両の幅方向に長く延びるよう前記バンパーとの間に前記空気通路を形成し、
前記空気通路は、前記車両の幅方向の中央部と両端部とで空気の流通断面積が異なるようにされている請求項1又は2に記載の車両後部の空気流調整装置。
【請求項5】
前記可動部材には収納空間が形成されている請求項1又は2に記載の車両後部の空気流調整装置。
発明の詳細な説明
【技術分野】
【0001】
本開示は、車両後部の空気流調整装置に関する。
続きを表示(約 1,900 文字)
【背景技術】
【0002】
車両の走行時には、車両のルーフ上とフロア下とをそれぞれ空気が流れる。こうした空気の流れにおいて、フロア下の空気の流れの速さは、フロアと路面との距離等の影響から、ルーフ上の空気の流れの速さよりも遅くなりやすい。そして、フロア下の空気の流れの速さがルーフ上の空気の流れの速さよりも遅くなると、車両の後ろにおける空気の流れの渦の生じ方がアンバランスになるため、車両の後ろに空気の流れの遅い領域が広く発生する。このように車両の後ろに空気の流れが遅い領域が広く発生すると、車両の走行抵抗が大きくなる。その結果、車両における燃費や電費が悪化する等の影響が生じる。
【0003】
また、特許文献1に示される車両では、車両の後端に配置されたバンパーの上側に空気通路が形成されており、走行時に車両のフロア下に流れる空気を上記空気通路によって車両の後面の後側に流すようにしている。この場合、車両の走行時、フロア下から空気通路を介して車両の後面の後側に空気が流れることにより、フロア下から車両の後面の後側に向けた速い空気の流れが生じる。その結果、フロア下から車両の後ろ側への速い空気の流れをルーフ上の速い空気の流れに近づけることができるため、車両の後ろに生じる空気の流れの遅い領域が上下方向に狭くなる。
【先行技術文献】
【特許文献】
【0004】
特開平5-85416号公報
【発明の概要】
【発明が解決しようとする課題】
【0005】
特許文献1の車両では、車両の後ろに生じる空気の流れの遅い領域が狭くなるため、車両の走行抵抗が大きくなることを抑制でき、その走行抵抗によって車両の燃費や電費が悪化するという影響が小さく抑えられる。ただし、車外騒音の小さい車両の低速走行時、フロア下から空気通路を介して車両の後面の後側に空気が流れると、その空気の流れに伴って生じる車両の後面での風打ち音が車外騒音と比較して相対的に大きくなる。
【0006】
上記風打ち音は、ルーフ上から車両の後側にかけて生じる下方に向けた空気の流れの渦が弱い状態のもと、フロア下から空気通路を介して車両の後面の後ろ側に空気が流れることが原因で生じる。すなわち、上述した状態のもと、フロア下から空気通路を介して車両の後面の後ろ側に空気が流れると、車両の後面の後ろ側で上方に向かう空気の流れの渦が強くなるため、その空気の渦が車両の後面に当たって風打ち音が生じる。
【0007】
車外騒音の小さい車両の低速走行時、上記風打ち音が車外騒音と比較して相対的に大きくなると、車両の乗員が上記風打ち音に対し不快感を覚える可能性があることから、車両における乗員の快適性が低下するおそれがある。
【課題を解決するための手段】
【0008】
次に、上記課題を解決する車両後部の空気流調整装置の各態様について記載する。
(態様1)
後端にバンパーが配置された車両に適用され、その車両の前記バンパーの上側に空気通路が形成されており、走行時に車両のフロア下に流れる空気を前記空気通路によって前記車両の後面の後側に流す車両後部の空気流調整装置において、前記車両の後部における前記バンパーの前には、そのバンパーとの間に前記空気通路を形成する可動部材が配置され、前記可動部材は、前記バンパーに対し近づいたり離れたりする方向に移動することが可能とされており、その移動に基づき前記空気通路における空気の流通断面積を変更するものである車両後部の空気流調整装置。
【0009】
上記構成によれば、バンパーに対する可動部材の移動により、空気通路における空気の流通断面積を変更することができる。このため、車両の走行抵抗を低減しつつ空気通路を空気が流れることに伴う風打ち音を低減できるよう、バンパーに対する可動部材の移動を通じて空気通路における空気の流通断面積が調整可能になる。このように空気通路における空気の流通断面積を調整することにより、車両の走行抵抗低減と風打ち音低減とを両立させることができる。
【0010】
(態様2)
前記可動部材は、車速が閾値以上であるときには、車速が前記閾値未満であるときよりも前記バンパーから離れることにより、前記空気通路における空気の流通断面積を大きくする(態様1)に記載の車両後部の空気流調整装置。
(【0011】以降は省略されています)
この特許をJ-PlatPat(特許庁公式サイト)で参照する
関連特許
他の特許を見る