TOP
|
特許
|
意匠
|
商標
特許ウォッチ
Twitter
他の特許を見る
10個以上の画像は省略されています。
公開番号
2025167004
公報種別
公開特許公報(A)
公開日
2025-11-07
出願番号
2024071249
出願日
2024-04-25
発明の名称
画像形成装置
出願人
京セラドキュメントソリューションズ株式会社
代理人
個人
主分類
G03G
21/16 20060101AFI20251030BHJP(写真;映画;光波以外の波を使用する類似技術;電子写真;ホログラフイ)
要約
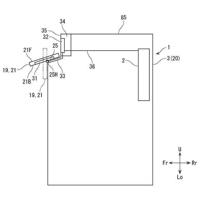
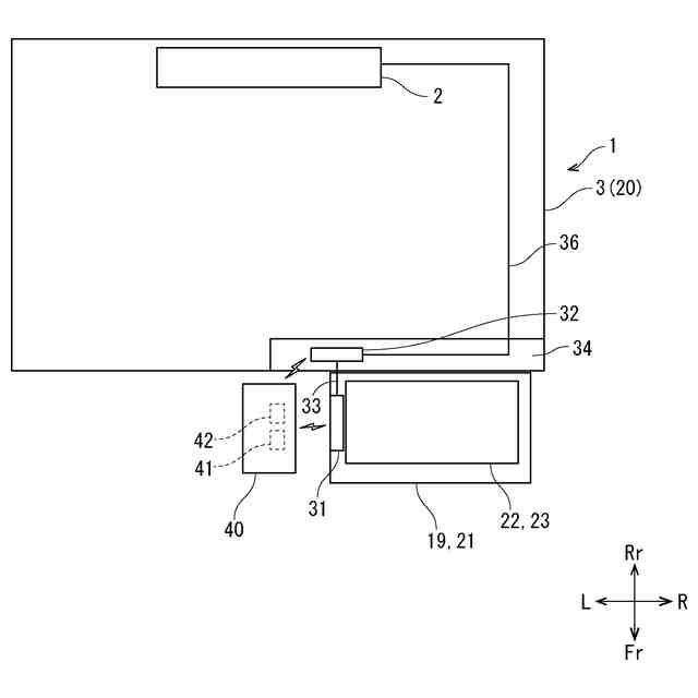
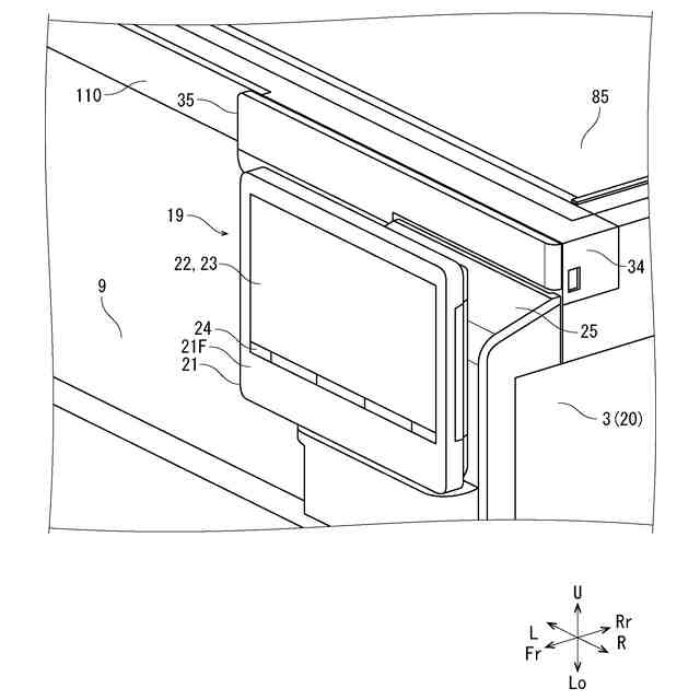
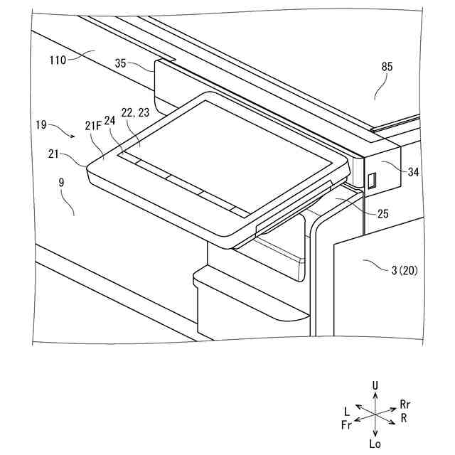
【課題】近距離無線通信を用いる場合の画像形成装置の表示操作部と携帯端末との視認性及び操作性を向上させることを目的とする。
【解決手段】画像形成装置は、画像形成を行う本体と、情報の表示と操作の受付とを行う表示操作部19と、本体の前面に結合され、表示操作部19を収容した筐体21と、携帯端末40との間でNFCによる通信を行うNFC回路31と、携帯端末40との間で無線LANによる通信を行う無線LAN回路と、NFC回路31を介して携帯端末40とのコネクションを確立した後、無線LAN回路を介して携帯端末40との間でデータの送受信を行う制御部と、を備え、NFC回路31は、筐体21の左側に収容されている。
【選択図】図6
特許請求の範囲
【請求項1】
画像形成を行う本体と、
情報の表示と操作の受付とを行う表示操作部と、
前記本体の前面に結合され、前記表示操作部を収容した筐体と、
携帯端末との間でNFCによる通信を行うNFC回路と、
前記携帯端末との間で無線LANによる通信を行う無線LAN回路と、
前記NFC回路を介して前記携帯端末とのコネクションを確立した後、前記無線LAN回路を介して前記携帯端末との間でデータの送受信を行う制御部と、を備え、
前記NFC回路は、前記筐体の左側に収容されていることを特徴とする画像形成装置。
続きを表示(約 430 文字)
【請求項2】
前記NFC回路は、前記表示操作部の画面よりも左方に配置されていることを特徴とする請求項1に記載の画像形成装置。
【請求項3】
前記NFC回路は、前記筐体内の左右方向の複数箇所に設けられ、
前記制御部は、複数の前記NFC回路のうち、受信した電波が強い前記NFC回路を用いて通信を行うことを特徴とする請求項1又は2に記載の画像形成装置。
【請求項4】
前記NFC回路と前記無線LAN回路とは、前記本体から発生するノイズの影響による通信の障害が発生しない程度の長さの信号線を用いて接続されていることを特徴とする請求項1又は2に記載の画像形成装置。
【請求項5】
前記信号線の長さは、10cm以下であることを特徴とする請求項4に記載の画像形成装置。
【請求項6】
前記筐体は、前記本体に対して姿勢変化可能にヒンジ結合されていることを特徴とする請求項1に記載の画像形成装置。
発明の詳細な説明
【技術分野】
【0001】
本発明は、画像形成装置に関する。
続きを表示(約 1,600 文字)
【背景技術】
【0002】
スマートフォンやタブレット等の携帯端末との間で無線通信を行う機能を備えた画像形成装置が知られている。例えば、画像形成装置は、プリンターとスキャナーの機能を備え、携帯端末で撮影した画像をプリンターで印刷したり、スキャナーで読み取った画像を携帯端末で見られるようにするといった用途が考えられる。携帯端末と画像形成装置とのデータのやり取りは、有線通信やUSB(Universal Serial Bus)メモリーを用いても可能であるが、携帯端末と画像形成装置が無線LAN(Local Area Network)経由の通信機能を備えている場合には、無線LANの方が便利である。
【0003】
無線LANの接続方法については、画像形成装置の近辺にアクセスポイントが設置されている場合には、アクセスポイント経由で接続が可能であるが、アクセスポイントはどこにでも設置されているとは限らない。アクセスポイントの機能を備えた画像形成装置も知られているが、いずれにせよ、SSID(Service Set Identifier)やパスワードの入力など、いくつかの操作が必要となる。アクセスポイントを用いないアドホックモードの通信も可能であるが、操作が複雑である。そこで、NFC(Near Field Communication)の利用が考えられる(例えば、特許文献1乃至3)。画像形成装置に設けられたNFC回路に携帯端末をかざすだけで、無線LANを接続することができる。
【先行技術文献】
【特許文献】
【0004】
特開2014-106481号公報
特開2017-154374号公報
特開2017-28477号公報
【発明の概要】
【発明が解決しようとする課題】
【0005】
特許文献1では、画像形成部を覆うカバーの上面部にアンテナが対向する構成が開示されているが、積載部の左方にアンテナが配置され、積載部の右方にオペレーションパネルが配置されているため、オペレーションパネルと携帯端末の両方を見る場合に積載部の左右で視線の移動が必要となり、不便である。特許文献2、3では、それぞれ、タッチパネルの上側、下側にアンテナが配置された構成が開示されているが、上下方向の視線の移動が必要となり、不便である。また、特許文献2で開示された構成では、携帯端末を持つ手でタッチパネルが隠されてしまい、操作性が低下する。
【0006】
本発明は、上記事情を考慮し、近距離無線通信を用いる場合の画像形成装置の表示操作部と携帯端末との視認性及び操作性を向上させることを目的とする。
【課題を解決するための手段】
【0007】
上記課題を解決するため、本発明に係る画像形成装置は、画像形成を行う本体と、情報の表示と操作の受付とを行う表示操作部と、前記本体の前面に結合され、前記表示操作部を収容した筐体と、携帯端末との間でNFCによる通信を行うNFC回路と、前記携帯端末との間で無線LANによる通信を行う無線LAN回路と、前記NFC回路を介して前記携帯端末とのコネクションを確立した後、前記無線LAN回路を介して前記携帯端末との間でデータの送受信を行う制御部と、を備え、前記NFC回路は、前記筐体の左側に収容されている。
【0008】
前記NFC回路は、前記表示操作部の画面よりも左方に配置されていてもよい。
【0009】
前記NFC回路は、前記筐体内の左右方向の複数箇所に設けられ、前記制御部は、複数の前記NFC回路のうち、受信した電波が強い前記NFC回路を用いて通信を行ってもよい。
【0010】
前記NFC回路と前記無線LAN回路とは、前記本体から発生するノイズの影響による通信の障害が発生しない程度の長さの信号線を用いて接続されていてもよい。
(【0011】以降は省略されています)
この特許をJ-PlatPat(特許庁公式サイト)で参照する
関連特許
個人
表示装置
1か月前
個人
雨用レンズカバー
1か月前
株式会社シグマ
絞りユニット
2か月前
日本精機株式会社
プロジェクタ
3日前
キヤノン株式会社
撮像装置
3か月前
キヤノン株式会社
撮像装置
1か月前
キヤノン株式会社
撮像装置
2か月前
日本精機株式会社
車両用投射装置
2か月前
キヤノン株式会社
撮像装置
10日前
キヤノン株式会社
撮像装置
1か月前
キヤノン株式会社
撮像装置
2か月前
キヤノン株式会社
撮像装置
1か月前
株式会社リコー
画像形成装置
2か月前
株式会社リコー
画像形成装置
1か月前
株式会社リコー
画像形成装置
1か月前
株式会社リコー
画像形成装置
1か月前
株式会社リコー
画像形成装置
1か月前
株式会社リコー
画像形成装置
24日前
株式会社リコー
画像形成装置
2か月前
キヤノン株式会社
トナー
2か月前
キヤノン株式会社
トナー
1か月前
キヤノン株式会社
画像形成装置
1か月前
キヤノン株式会社
画像形成装置
1か月前
キヤノン株式会社
トナー
2か月前
株式会社オプトル
プロジェクタ
2か月前
キヤノン株式会社
画像形成装置
18日前
キヤノン株式会社
現像装置
1か月前
沖電気工業株式会社
画像形成装置
5日前
スタンレー電気株式会社
照明装置
2か月前
沖電気工業株式会社
画像形成装置
1か月前
沖電気工業株式会社
画像形成装置
1か月前
レーザーテック株式会社
光源装置
26日前
キヤノン株式会社
レンズキャップ
1か月前
アイホン株式会社
カメラシステム
2か月前
レーザーテック株式会社
光源装置
5日前
古野電気株式会社
装置
1か月前
続きを見る
他の特許を見る