TOP
|
特許
|
意匠
|
商標
特許ウォッチ
Twitter
他の特許を見る
10個以上の画像は省略されています。
公開番号
2025166990
公報種別
公開特許公報(A)
公開日
2025-11-07
出願番号
2024071218
出願日
2024-04-25
発明の名称
画像形成装置
出願人
京セラドキュメントソリューションズ株式会社
代理人
個人
,
個人
主分類
G03G
15/00 20060101AFI20251030BHJP(写真;映画;光波以外の波を使用する類似技術;電子写真;ホログラフイ)
要約
【課題】転写部材が可動ユニットに支持される場合に転写電圧の出力端子についての感電防止機構を簡易な構成により実現すること。
【解決手段】転写部材433は、可動ユニット6に支持される。遮断部材73は、第1端子71へのアクセス経路を遮断する遮断位置と前記アクセス経路を開放する開放位置との間で移動可能である。第2端子72は、可動ユニット6に支持される。係止機構70は、前記可動ユニット6の移動に連動し、前記可動ユニット6が離隔位置に位置するときに前記遮断部材73を前記遮断位置に係止し、前記可動ユニット6が前記離隔位置から基準位置へ移動するときに前記遮断部材73の係止を解除する。前記可動ユニット6が前記離隔位置から前記基準位置へ移動するときに、第2端子72は、前記アクセス経路を経由して前記第1端子71と接触する位置へ移動する。
【選択図】図3
特許請求の範囲
【請求項1】
現像剤像を担持する像担持体と、
転写電圧を出力する第1端子と、
前記像担持体および前記第1端子に近接する基準位置と前記基準位置よりも前記像担持体および前記第1端子から離れた離隔位置との間で移動可能に支持された可動ユニットと、
前記可動ユニットに支持され、前記可動ユニットが前記基準位置に位置するときに前記第1端子と接触し、前記可動ユニットが前記離隔位置に位置するときに前記第1端子から離れる第2端子と、
前記可動ユニットに支持され、前記第2端子と電気的に接続され、前記可動ユニットが前記基準位置に位置するときに前記像担持体との間を通過するシートに前記像担持体に担持された前記現像剤像を転写する転写部材と、
前記第1端子へのアクセス経路を遮断する遮断位置と前記アクセス経路を開放する開放位置との間で移動可能な遮断部材と、
前記可動ユニットの移動に連動し、前記可動ユニットが前記離隔位置に位置するときに前記遮断部材を前記遮断位置に係止し、前記可動ユニットが前記離隔位置から前記基準位置へ移動するときに前記遮断部材の係止を解除する係止機構と、を備え、
前記可動ユニットが前記離隔位置から前記基準位置へ移動するときに、前記第2端子は、前記係止機構による係止が解除された前記遮断部材を前記遮断位置から前記開放位置へ移動させつつ前記アクセス経路を経由して前記第1端子と接触する位置へ移動する、画像形成装置。
続きを表示(約 430 文字)
【請求項2】
前記第1端子を内包し、前記アクセス経路を形成するアクセス開口を有する端子ボックスを備え、
前記遮断部材は、前記遮断位置において前記アクセス開口を塞ぎ、前記開放位置において前記アクセス開口を開放する、請求項1に記載の画像形成装置。
【請求項3】
前記第1端子は、前記第2端子から受ける力によって弾性変形可能なバネである、請求項1または請求項2に記載の画像形成装置。
【請求項4】
前記像担持体の隣に配置され、前記シートの搬送をガイドする第1搬送ガイドと、
前記可動ユニットに支持され、前記可動ユニットが前記基準位置に位置するときに前記第1搬送ガイドとの間にシート搬送路の一部を形成する第2搬送ガイドと、を備える請求項1または請求項2に記載の画像形成装置。
【請求項5】
前記遮断部材は、自重によって前記開放位置から前記遮断位置へ移動する、請求項1または請求項2に記載の画像形成装置。
発明の詳細な説明
【技術分野】
【0001】
本発明は、転写電圧を印加される転写部材を支持する可動ユニットを備える画像形成装置に関する。
続きを表示(約 2,100 文字)
【背景技術】
【0002】
電子写真方式の画像形成装置において、転写装置は、トナー像を担持する像担持体からシートへトナー像を転写する。前記転写装置は、転写電圧を印加される転写部材を備える。前記転写部材は、前記転写電圧により生じる電界によって前記トナー像を前記像担持体から前記シートへ移行させる。
【0003】
前記画像形成装置において、プロセスユニットの前記画像形成装置の本体への装着および取り外しに応じて、前記本体内に配置された2つの端子を接触および離隔させる機構が知られている(例えば、特許文献1参照)。
【先行技術文献】
【特許文献】
【0004】
特開平7-77921号公報
【発明の概要】
【発明が解決しようとする課題】
【0005】
ところで、前記転写部材が前記像担持体に対して離接可能な可動ユニットに支持される場合がある。前記可動ユニットが前記像担持体から離れた位置へ移動されることにより、前記像担持体と前記転写部材との間のシート搬送路が開放される。
【0006】
前記可動ユニットが前記像担持体から離れているときに、ユーザーが前記転写電圧の出力端子に触れないようにする感電防止機構を設けることが重要である。また、前記感電防止機構が簡易な構成により実現されることが望ましい。
【0007】
本発明の目的は、転写部材が可動ユニットに支持される場合に転写電圧の出力端子についての感電防止機構を簡易な構成により実現できる画像形成装置を提供することにある。
【課題を解決するための手段】
【0008】
本発明の一の局面に係る画像形成装置は、像担持体と、第1端子と、可動ユニットと、第2端子と、転写部材と、遮断部材と、係止機構と、を備える。前記像担持体は、現像剤像を担持する。前記第1端子は、転写電圧を出力する。前記可動ユニットは、前記像担持体および前記第1端子に近接する基準位置と前記基準位置よりも前記像担持体および前記第1端子から離れた離隔位置との間で移動可能に支持されている。前記第2端子は、前記可動ユニットに支持され、前記可動ユニットが前記基準位置に位置するときに前記第1端子と接触し、前記可動ユニットが前記離隔位置に位置するときに前記第1端子から離れる。前記転写部材は、前記可動ユニットに支持され、前記第2端子と電気的に接続され、前記可動ユニットが前記基準位置に位置するときに前記像担持体との間を通過するシートに前記像担持体に担持された前記現像剤像を転写する。前記遮断部材は、前記第1端子へのアクセス経路を遮断する遮断位置と前記アクセス経路を開放する開放位置との間で移動可能である。前記係止機構は、前記可動ユニットの移動に連動し、前記可動ユニットが前記離隔位置に位置するときに前記遮断部材を前記遮断位置に係止し、前記可動ユニットが前記離隔位置から前記基準位置へ移動するときに前記遮断部材の係止を解除する。前記可動ユニットが前記離隔位置から前記基準位置へ移動するときに、前記第2端子は、前記係止機構による係止が解除された前記遮断部材を前記遮断位置から前記開放位置へ移動させつつ前記アクセス経路を経由して前記第1端子と接触する位置へ移動する。
【発明の効果】
【0009】
本発明によれば、転写部材が可動ユニットに支持される場合に転写電圧の出力端子についての感電防止機構を簡易な構成により実現できる画像形成装置を提供することが可能になる。
【図面の簡単な説明】
【0010】
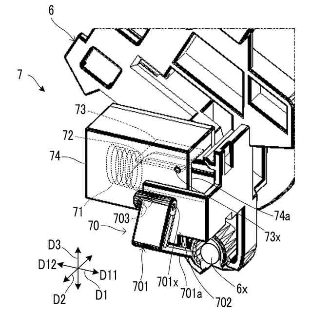
図1は、実施形態に係る画像形成装置の構成図である。
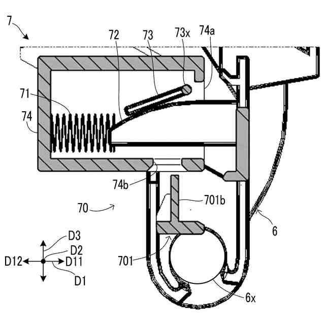
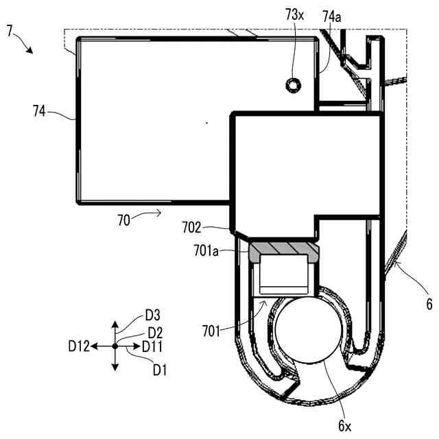
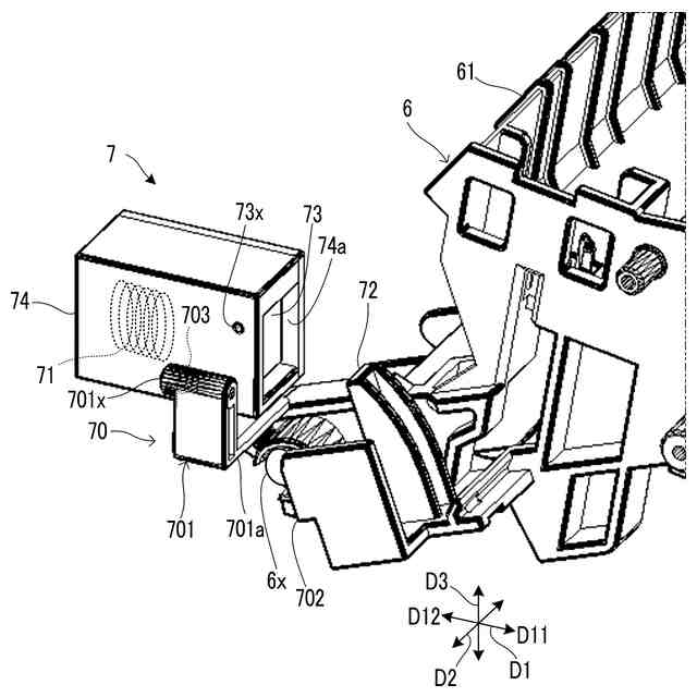
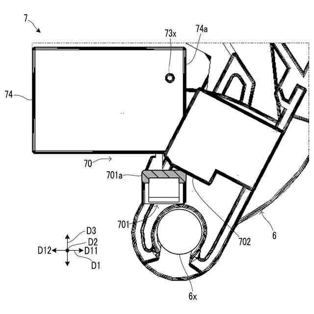
図2は、実施形態に係る画像形成装置における接続状態の感電防止機構の斜視図である。
図3は、実施形態に係る画像形成装置における開放状態の感電防止機構の斜視図である。
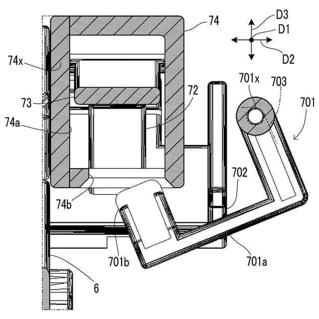
図4は、実施形態に係る画像形成装置における接続状態の感電防止機構の一部断面を含む側面図である。
図5は、実施形態に係る画像形成装置における接続状態の感電防止機構の第1面図である。
図6は、実施形態に係る画像形成装置における接続状態の感電防止機構の第2面図である。
図7は、実施形態に係る画像形成装置における中間状態の感電防止機構の一部断面を含む側面図である。
図8は、実施形態に係る画像形成装置における中間状態の感電防止機構の第1面図である。
図9は、実施形態に係る画像形成装置における中間状態の感電防止機構の第2面図である。
図10は、実施形態に係る画像形成装置における開放状態の感電防止機構の一部断面を含む側面図である。
図11は、実施形態に係る画像形成装置における開放状態の感電防止機構の第1面図である。
図12は、実施形態に係る画像形成装置における開放状態の感電防止機構の第2面図である。
【発明を実施するための形態】
(【0011】以降は省略されています)
この特許をJ-PlatPat(特許庁公式サイト)で参照する
関連特許
個人
表示装置
1か月前
個人
雨用レンズカバー
1か月前
株式会社シグマ
絞りユニット
2か月前
日本精機株式会社
プロジェクタ
3日前
キヤノン株式会社
撮像装置
2か月前
日本精機株式会社
車両用投射装置
2か月前
キヤノン株式会社
撮像装置
10日前
キヤノン株式会社
撮像装置
1か月前
キヤノン株式会社
撮像装置
3か月前
キヤノン株式会社
撮像装置
1か月前
キヤノン株式会社
撮像装置
1か月前
平和精機工業株式会社
雲台
3か月前
キヤノン株式会社
撮像装置
2か月前
株式会社リコー
画像形成装置
3か月前
株式会社リコー
画像形成装置
1か月前
株式会社リコー
画像形成装置
3か月前
株式会社リコー
画像形成装置
1か月前
株式会社リコー
画像形成装置
2か月前
株式会社リコー
画像形成装置
2か月前
株式会社リコー
画像形成装置
24日前
株式会社リコー
画像形成装置
1か月前
株式会社リコー
画像形成装置
1か月前
株式会社リコー
画像形成装置
3か月前
キヤノン株式会社
画像形成装置
3か月前
キヤノン株式会社
トナー
2か月前
キヤノン株式会社
画像形成装置
1か月前
シャープ株式会社
画像形成装置
3か月前
キヤノン株式会社
画像形成装置
18日前
キヤノン株式会社
トナー
2か月前
キヤノン株式会社
画像形成装置
1か月前
キヤノン株式会社
トナー
1か月前
株式会社オプトル
プロジェクタ
2か月前
株式会社オプトル
プロジェクタ
3か月前
キヤノン株式会社
画像形成装置
3か月前
キヤノン株式会社
トナー
3か月前
ブラザー工業株式会社
再生方法
3か月前
続きを見る
他の特許を見る