TOP
|
特許
|
意匠
|
商標
特許ウォッチ
Twitter
他の特許を見る
公開番号
2025166736
公報種別
公開特許公報(A)
公開日
2025-11-06
出願番号
2024070940
出願日
2024-04-24
発明の名称
情報処理装置
出願人
トヨタ自動車株式会社
代理人
個人
,
個人
,
個人
,
個人
主分類
G06Q
10/083 20240101AFI20251029BHJP(計算;計数)
要約
【課題】配送効率を改善する。
【解決手段】情報処理装置20は、配送スタッフの端末装置30と通信を行う通信部23と、配送先の表札に関する表札情報を取得し、取得した表札情報を、通信部23を介して端末装置30に送信する制御部21とを備える。
【選択図】図1
特許請求の範囲
【請求項1】
配送スタッフの端末装置と通信を行う通信部と、
配送先の表札に関する表札情報を取得し、
取得した前記表札情報を、前記通信部を介して前記端末装置に送信する
制御部と
を備える情報処理装置。
発明の詳細な説明
【技術分野】
【0001】
本開示は、情報処理装置に関する。
続きを表示(約 750 文字)
【背景技術】
【0002】
特許文献1には、利用者に対して実際に商品の配送を行う物流拠点を決定する情報処理装置が開示されている。
【先行技術文献】
【特許文献】
【0003】
特開2021-096796号公報
【発明の概要】
【発明が解決しようとする課題】
【0004】
登録された配送先の住所が曖昧な場合に、配送効率が悪くなるおそれがある。
【0005】
本開示の目的は、配送効率を改善することである。
【課題を解決するための手段】
【0006】
本開示に係る情報処理装置は、
配送スタッフの端末装置と通信を行う通信部と、
配送先の表札に関する表札情報を取得し、
取得した前記表札情報を、前記通信部を介して前記端末装置に送信する
制御部と
を備える。
【発明の効果】
【0007】
本開示によれば、配送効率が改善される。
【図面の簡単な説明】
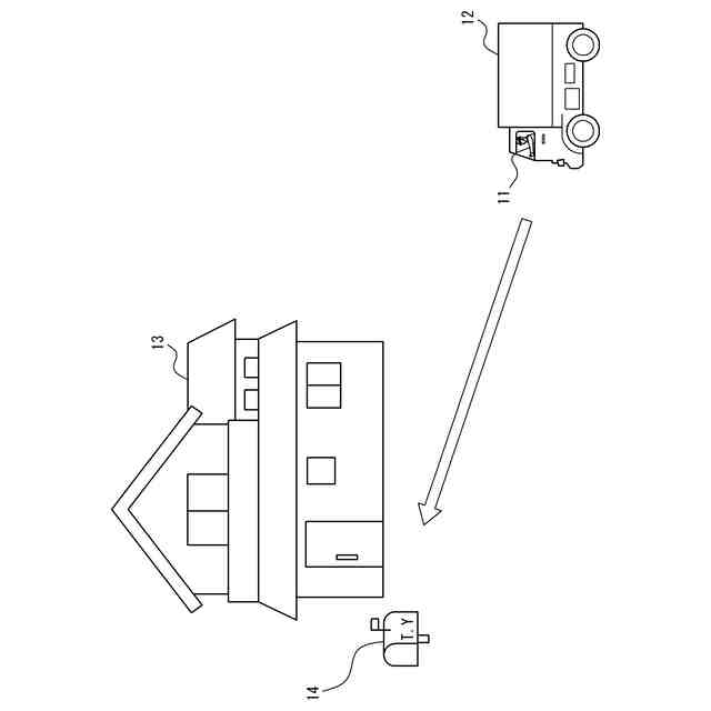
【0008】
本開示の実施形態に係るシステムの構成を示すブロック図である。
配送車両及び配送先の例を示す図である。
本開示の実施形態に係る情報処理装置の動作を示すフローチャートである。
【発明を実施するための形態】
【0009】
以下、本開示の一実施形態について、図を参照して説明する。
【0010】
各図中、同一又は相当する部分には、同一符号を付している。本実施形態の説明において、同一又は相当する部分については、説明を適宜省略又は簡略化する。
(【0011】以降は省略されています)
この特許をJ-PlatPat(特許庁公式サイト)で参照する
関連特許
個人
詐欺保険
1か月前
個人
縁伊達ポイン
1か月前
個人
RFタグシート
1か月前
個人
5掛けポイント
1か月前
個人
職業自動販売機
23日前
個人
QRコードの彩色
1か月前
個人
ペルソナ認証方式
1か月前
個人
情報処理装置
1か月前
個人
自動調理装置
1か月前
個人
立体グラフの利用方法
2日前
個人
農作物用途分配システム
1か月前
個人
残土処理システム
2か月前
個人
サービス情報提供システム
25日前
個人
タッチパネル操作指代替具
1か月前
NISSHA株式会社
入力装置
3日前
個人
インターネットの利用構造
1か月前
個人
知的財産出願支援システム
2か月前
個人
学習用データ生成装置
4日前
個人
スケジュール調整プログラム
1か月前
個人
携帯端末障害問合せシステム
1か月前
個人
エリアガイドナビAIシステム
1か月前
キヤノン株式会社
画像認識装置
17日前
キヤノン株式会社
情報処理装置
17日前
キヤノン株式会社
情報処理装置
17日前
個人
音声・通知・再配達UX制御構造
2か月前
エッグス株式会社
情報処理装置
1か月前
株式会社ケアコム
項目選択装置
1か月前
株式会社ケアコム
項目選択装置
1か月前
株式会社ワコム
電子ペン
1か月前
個人
帳票自動生成型SaaSシステム
2か月前
キヤノン株式会社
印刷システム
1か月前
トヨタ自動車株式会社
通知装置
1か月前
株式会社ワコム
電子ペン
1か月前
キヤノン株式会社
情報処理装置
1か月前
キラル株式会社
顧客体験提供システム
5日前
個人
請求金額算出システム
9日前
続きを見る
他の特許を見る