TOP
|
特許
|
意匠
|
商標
特許ウォッチ
Twitter
他の特許を見る
公開番号
2025166645
公報種別
公開特許公報(A)
公開日
2025-11-06
出願番号
2024070815
出願日
2024-04-24
発明の名称
半導体集積回路及び機器
出願人
キヤノン株式会社
代理人
弁理士法人大塚国際特許事務所
主分類
G01R
31/28 20060101AFI20251029BHJP(測定;試験)
要約
【課題】
スキャンデータのホールド違反の発生を低減する回路において、回路規模の増加と電力消費の増加を抑制するのに有利な回路構成を提供すること。
【解決手段】
複数の論理回路は、それぞれデータを保持するn個のデータ保持回路と、スキャンデータを転送するスキャンチェーンと、クロック信号を遅延させる複数のクロックバッファを含むクロックラインとを含む。前記n個のデータ保持回路に前記クロックラインにおけるクロック信号が供給され、前記n個のデータ保持回路のうちの第1番目のデータ保持回路から第n番目のデータ保持回路へ向かう順方向において下流側のデータ保持回路ほど遅延量の大きいクロック信号が供給される。前記スキャンチェーンにより前記第n番目のデータ保持回路から前記第1番目のデータ保持回路へ向かう逆方向にスキャンデータが転送される。前記論理回路間では遅延調整部を介して前記スキャンデータが転送される。
【選択図】 図2
特許請求の範囲
【請求項1】
複数の論理回路が配置された半導体集積回路であって、各論理回路は、データを保持するn個のデータ保持回路と、スキャンデータを転送するスキャンチェーンと、クロック信号を遅延させる複数のクロックバッファを含むクロックラインと、を含み、
前記n個のデータ保持回路に前記クロックラインにおけるクロック信号が供給され、
前記n個のデータ保持回路のうちの第1番目のデータ保持回路から第n番目のデータ保持回路へ向かう順方向において、下流側のデータ保持回路ほど遅延量の大きいクロック信号が前記クロックラインから供給され、
前記スキャンチェーンは、前記第n番目のデータ保持回路から前記第1番目のデータ保持回路へ向かう逆方向にスキャンデータを転送するよう配置され、
前記論理回路の間では第1遅延調整部を介して前記スキャンデータが転送される、
ことを特徴とする半導体集積回路。
続きを表示(約 800 文字)
【請求項2】
前記第1遅延調整部はラッチ回路であり、前記ラッチ回路は、前記ラッチ回路への入力を前記クロック信号の半周期分遅らせて出力することを特徴とする請求項1に記載の半導体集積回路。
【請求項3】
所定数の前記論理回路により論理回路グループが構成され、
前記論理回路グループの間でスキャンデータの転送を制御する切り換え回路と、前記切り替え回路を制御する制御部と、をさらに有することを特徴とする請求項1に記載の半導体集積回路。
【請求項4】
前記切り替え回路は、前記スキャンデータを前記論理回路グループへ供給するか、前記論理回路グループをバイパスするかを制御することを特徴とする請求項3に記載の半導体集積回路。
【請求項5】
前記論理回路グループの間に前記スキャンデータを遅延させる第2遅延調整部を有することを特徴とする請求項3に記載の半導体集積回路。
【請求項6】
前記第2遅延調整部はラッチ回路であり、前記ラッチ回路は入力を前記クロック信号の半周期分遅らせて出力させることを特徴とする請求項5に記載の半導体集積回路。
【請求項7】
前記切り替え回路はマルチプレクサを含むことを特徴とする請求項3に記載の半導体集積回路。
【請求項8】
前記論理回路はリップルカウンタとして動作することを特徴とする請求項1に記載の半導体集積回路。
【請求項9】
前記リップルカウンタはアナログデジタル変換器からのデータのビット数を削減するフィルタの一部を構成することを特徴とする請求項8に記載の半導体集積回路。
【請求項10】
前記アナログデジタル変換器はイメージセンサからのアナログデータをデジタル変換する請求項9に記載の半導体集積回路。
(【請求項11】以降は省略されています)
発明の詳細な説明
【技術分野】
【0001】
本発明は、半導体集積回路およびそれを用いた機器に関する。
続きを表示(約 2,400 文字)
【背景技術】
【0002】
半導体集積回路のテストを、半導体集積回路にスキャンチェーンを組み込んで行う方法がある。半導体集積回路の例としてイメージセンサがある。イメージセンサでは、画素の情報をデジタル信号へ変換するためのアナログデジタル変換器(ADC)と高周波ノイズ成分を除去するためのフィルタ回路が使用されている。イメージセンサの多画素化に伴い、テストの対象となるフィルタ回路などの論理回路の規模が大きくなってきている。ホールド違反を低減する技術として特許文献1がある。
【先行技術文献】
【特許文献】
【0003】
特開2004-30166
【発明の概要】
【発明が解決しようとする課題】
【0004】
回路規模の増大により、回路のテストに使用するスキャンチェーンでのデータのホールドを保証するための回路規模が増加するという課題があった。回路規模の増加に伴って回路と電力消費も増加する。本発明は、スキャンデータのホールド違反の発生を低減する回路において、回路規模の増加と電力消費の増加を抑制するのに有利な回路構成を提供することを目的とする。
【課題を解決するための手段】
【0005】
本発明の一態様は、複数の論理回路が配置された半導体集積回路であって、各論理回路は、データを保持するn個のデータ保持回路と、スキャンデータを転送するスキャンチェーンと、クロック信号を遅延させる複数のクロックバッファを含むクロックラインと、を含み、前記n個のデータ保持回路に前記クロックラインにおけるクロック信号が供給され、前記n個のデータ保持回路のうちの第1番目のデータ保持回路から第n番目のデータ保持回路へ向かう順方向において、下流側のデータ保持回路ほど遅延量の大きいクロック信号が前記クロックラインから供給され、前記スキャンチェーンは、前記第n番目のデータ保持回路から前記第1番目のデータ保持回路へ向かう逆方向にスキャンデータを転送するよう配置され、前記論理回路の間では第1遅延調整部を介して前記スキャンデータが転送されることを特徴とする。
【発明の効果】
【0006】
本発明によれば、スキャンデータのホールド違反の発生を低減する回路において、回路規模の増加と電力消費の増加を抑制するのに有利な回路構成を提供することができる。
【図面の簡単な説明】
【0007】
実施形態1を説明するための半導体集積回路の例。
実施形態1に係るフィルタ回路の構成例。
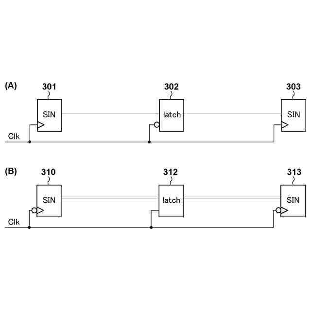
実施形態1に係る遅延調整部の例。
実施形態1に係るタイミングチャート。
実施形態1に係る半導体集積回路の変形例。
実施形態2に関わるフィルタ回路の構成例。
実施形態2のテストを説明するためのフローチャート。
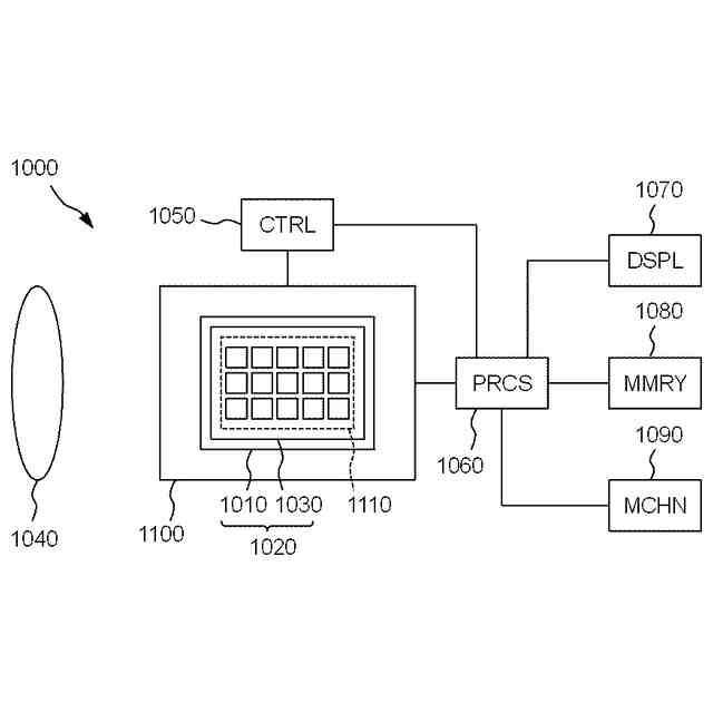
半導体集積回路の機器への適用を説明する図。
【発明を実施するための形態】
【0008】
以下、添付図面を参照して実施形態を詳しく説明する。なお、以下の実施形態は特許請求の範囲に係る発明を限定するものではない。実施形態には複数の特徴が記載されているが、これらの複数の特徴の全てが発明に必須のものとは限らず、また、複数の特徴は任意に組み合わせられてもよい。さらに、添付図面においては、同一若しくは同様の構成に同一の参照番号を付し、重複した説明は省略する。
【0009】
(実施形態1)
本発明を適用した半導体集積回路の例について図1により説明する。図1は、アナログデジタル変換器(ADC)101とフィルタ回路部102を示している。イメージセンサなどの半導体集積回路には、イメージセンサからのアナログデータをデジタルデータに変換するADC101とフィルタ回路部102とが多数実装されている。ADC101はクロック103とクロックイネーブル104をフィルタ回路102へ出力する。クロックイネーブル104は、ここでは1本しか配線が示されていないが、実際は多ビット信号を伝送するための複数本の配線があってもよい。以下では、クロックイネーブル104はADC101から32ビット分に相当する32個が出力されているものとして説明する。ADC101としては、スロープ型A/D変換回路、逐次比較型A/D変換回路、デルタシグマ(ΔΣ)型A/D変換回路などが用いられるが、これらに限定されるものではない。
【0010】
以下に論理回路をスキャンテストする例について説明する。本実施形態ではスキャンテストの対象としてフィルタ回路部102をテストする例について説明する。テストの対象はフィルタに限らず、他のタイプの論理回路であってもよい。スキャンテストはテストクロック105に基づいて行われる。テストクロック105はフィルタ回路部102のスキャンテストに使用されるクロックである。テストクロック105は、フィルタ回路部102に配置された複数のフィルタ回路に対して、各フィルタへ複数に分岐されて入力される。この例ではフィルタ回路部102に、ADC101の出力ビット数32に対応した32個のフィルタ回路が配置される。テストクロック105は各フィルタ回路に対して分岐されて供給される。ADC101の出力ビット数に応じて配置されるフィルタ回路をまとめて1つの論理回路グループと称することができる。本実施形態では、32個のフィルタ回路により1つの論理回路グループが構成されている。論理回路グループを構成する論理回路の数はこれに限定されず、必要に応じて所定数の論理回路から構成できる。本実施形態のフィルタ回路部102はA/D変換されたデータに含まれるノイズを除去するものであり、デシメーションフィルタなども含まれる。
(【0011】以降は省略されています)
この特許をJ-PlatPat(特許庁公式サイト)で参照する
関連特許
キヤノン株式会社
容器
1か月前
キヤノン株式会社
容器
1か月前
キヤノン株式会社
トナー
1か月前
キヤノン株式会社
トナー
1か月前
キヤノン株式会社
撮像装置
1か月前
キヤノン株式会社
現像装置
1か月前
キヤノン株式会社
撮像装置
3日前
キヤノン株式会社
撮像装置
3日前
キヤノン株式会社
撮像装置
3日前
キヤノン株式会社
撮像装置
12日前
キヤノン株式会社
表示装置
10日前
キヤノン株式会社
記録装置
4日前
キヤノン株式会社
測距装置
1か月前
キヤノン株式会社
表示装置
10日前
キヤノン株式会社
撮像装置
10日前
キヤノン株式会社
撮影装置
1か月前
キヤノン株式会社
記録装置
1か月前
キヤノン株式会社
記録装置
24日前
キヤノン株式会社
記録装置
4日前
キヤノン株式会社
現像容器
1か月前
キヤノン株式会社
撮像装置
3日前
キヤノン株式会社
現像装置
1か月前
キヤノン株式会社
定着装置
18日前
キヤノン株式会社
電子機器
1か月前
キヤノン株式会社
定着装置
24日前
キヤノン株式会社
定着装置
24日前
キヤノン株式会社
記録装置
1か月前
キヤノン株式会社
測距装置
1か月前
キヤノン株式会社
発光装置
10日前
キヤノン株式会社
二次電池
5日前
キヤノン株式会社
現像装置
1か月前
キヤノン株式会社
現像容器
1か月前
キヤノン株式会社
電子機器
1か月前
キヤノン株式会社
雲台装置
1か月前
キヤノン株式会社
記録装置
1か月前
キヤノン株式会社
撮像装置
3日前
続きを見る
他の特許を見る