TOP
|
特許
|
意匠
|
商標
特許ウォッチ
Twitter
他の特許を見る
10個以上の画像は省略されています。
公開番号
2025166644
公報種別
公開特許公報(A)
公開日
2025-11-06
出願番号
2024070814
出願日
2024-04-24
発明の名称
情報処理装置およびその制御方法
出願人
キヤノン株式会社
代理人
弁理士法人大塚国際特許事務所
主分類
G06N
20/00 20190101AFI20251029BHJP(計算;計数)
要約
【課題】ユーザの用途に適した学習モデルや学習データを取得する。
【解決手段】情報処理装置は、第1の学習モデルの作成に使用された第2の学習モデルの情報と、第1の学習モデルの作成に使用された第1のデータセットの情報と、を第1の学習モデルに関連付けて管理するモデル管理手段と、第1のデータセットの作成に利用された第2のデータセットの情報を第1のデータセットに関連付けて管理するデータ管理手段と、第2の学習モデルに対する再学習により作成された第3の学習モデルがモデル管理手段による管理対象に追加されたこと、または、第2のデータセットに対するデータ操作により作成された第3のデータセットがデータ管理手段による管理対象に追加されたこと、を検知する検知手段と、第3の学習モデルまたは第3のデータセットが追加されたことを通知するための通知条件を設定する設定手段と、設定手段で設定された通知条件が満たされたとき通知を行う通知手段と、を備える。
【選択図】図4
特許請求の範囲
【請求項1】
第1の学習モデルの作成に使用された第2の学習モデルの情報と、前記第1の学習モデルの作成に使用された第1のデータセットの情報と、を前記第1の学習モデルに関連付けて管理するモデル管理手段と、
前記第1のデータセットの作成に利用された第2のデータセットの情報を前記第1のデータセットに関連付けて管理するデータ管理手段と、
前記第2の学習モデルに対する再学習により作成された第3の学習モデルが前記モデル管理手段による管理対象に追加されたこと、または、前記第2のデータセットに対するデータ操作により作成された第3のデータセットが前記データ管理手段による管理対象に追加されたこと、を検知する検知手段と、
前記第3の学習モデルまたは前記第3のデータセットが追加されたことを通知するための通知条件を設定する設定手段と、
前記設定手段で設定された通知条件が満たされたとき通知を行う通知手段と、
を備えることを特徴とする情報処理装置。
続きを表示(約 1,500 文字)
【請求項2】
前記第1の学習モデルを作成した第1のユーザと前記第2の学習モデルを作成した第2のユーザとは異なり、
前記通知手段は、前記第2のユーザに対して前記通知を行う
ことを特徴とする請求項1に記載の情報処理装置。
【請求項3】
前記第3のデータセットは、前記第2のデータセットに対する、データの追加、データの削除、データの修正、GT(Ground Truth)の追加、GTの削除、GTの修正、の少なくとも1つの前記データ操作を行うことにより作成されたデータセットである
ことを特徴とする請求項1に記載の情報処理装置。
【請求項4】
前記設定手段は、前記第3のデータセットが追加されたことを通知するための第1の通知条件として、前記データ操作に関する条件を含む
ことを特徴とする請求項1に記載の情報処理装置。
【請求項5】
指定された学習モデルとデータセットとに基づいて該学習モデルの評価を行う評価手段をさらに備え、
前記設定手段は、前記評価手段による評価を行うか否かの設定をさらに設定可能であり、
前記通知手段は、前記設定手段により前記評価を行うことが設定されている場合、前記評価手段による評価結果を前記通知に含める
ことを特徴とする請求項1に記載の情報処理装置。
【請求項6】
前記設定手段は、前記評価に使用する学習モデルとデータセットとをさらに指定可能である
ことを特徴とする請求項5に記載の情報処理装置。
【請求項7】
指定された学習モデルとデータセットとに基づいて該学習モデルの学習を行う学習手段をさらに備え、
前記設定手段は、前記学習手段による学習を行うか否かの設定をさらに設定可能であり、
前記通知手段は、前記設定手段により前記学習を行うことが設定されている場合、前記学習手段による学習結果を前記通知に含める
ことを特徴とする請求項5に記載の情報処理装置。
【請求項8】
前記設定手段は、前記学習に使用する学習モデルとデータセットとをさらに指定可能である
ことを特徴とする請求項7に記載の情報処理装置。
【請求項9】
前記設定手段は、ユーザが操作する端末の表示部に表示されるグラフィカルユーザインタフェース(GUI)を介して、前記通知条件に関する設定を受け付ける
ことを特徴とする請求項1に記載の情報処理装置。
【請求項10】
情報処理装置の制御方法であって、
前記情報処理装置は、
第1の学習モデルの作成に使用された第2の学習モデルの情報と、前記第1の学習モデルの作成に使用された第1のデータセットの情報と、を前記第1の学習モデルに関連付けて管理するモデル管理手段と、
前記第1のデータセットの作成に利用された第2のデータセットの情報を前記第1のデータセットに関連付けて管理するデータ管理手段と、
を備え、前記制御方法は、
前記第2の学習モデルに対する再学習により作成された第3の学習モデルが前記モデル管理手段による管理対象に追加されたこと、または、前記第2のデータセットに対するデータ操作により作成された第3のデータセットが前記データ管理手段による管理対象に追加されたこと、を検知する検知工程と、
前記第3の学習モデルまたは前記第3のデータセットが追加されたことを通知するための通知条件を設定する設定工程と、
前記設定工程で設定された通知条件が満たされたとき通知を行う通知工程と、
を含むことを特徴とする制御方法。
(【請求項11】以降は省略されています)
発明の詳細な説明
【技術分野】
【0001】
本発明は、学習モデルおよび学習データの管理技術に関するものである。
続きを表示(約 2,000 文字)
【背景技術】
【0002】
近年様々な分野で機械学習技術を用いたシステムが実用化している。従来は、このようなシステムで用いられる学習モデルや学習データは、企業や大学などで作成されることが多かった。しかし、近年は、学習モデルや学習を一般ユーザが自身の用途に合わせて作成することも可能となってきている。そのため、膨大な数の学習モデルや学習データが存在する状況となってきている。
【0003】
また、一般ユーザが作成した学習モデルや学習データを公開や取得することができるインターネット経由のサービスが想定される。サービスを利用するユーザ(例えば、カスタマイズしたモデルを作成したいユーザ)は、公開されている学習モデルや学習データの中から、自身の用途に適した学習モデルや学習データを選択する必要がある。ただし、一般ユーザまでもが学習モデルの作成・公開ができるようになると、膨大な数の学習モデルや学習データが存在し、それらが日々更新されることになる。そのため、サービスを利用するユーザは、学習モデルや学習データの状況を把握することが困難になる。
【0004】
特許文献1では、学習データに付与されているタグに基づいて、目的とする学習データを検索し探し出す手法が開示されている。また、特許文献2では、保存されている学習モデルが更新されたとき、新たに推論結果を出力し、その結果をユーザへ知らせる手法が開示されている。
【先行技術文献】
【特許文献】
【0005】
特開2022-178892号公報
特開2022-61191号公報
【発明の概要】
【発明が解決しようとする課題】
【0006】
しかしながら、特許文献1に記載の技術では、学習データの更新状況を把握することは困難である。また、特許文献2に記載の技術では、学習モデルを更新するたびに、学習モデルと推論結果をデータベースに保存する必要が生じるため運用コストが増大する。
【0007】
本発明は、このような問題に鑑みてなされたものであり、ユーザの用途に適した学習モデルや学習データの取得を容易にする技術を提供することを目的としている。
【課題を解決するための手段】
【0008】
上述の問題点を解決するため、本発明に係る情報処理装置は以下の構成を備える。すなわち、情報処理装置は、
第1の学習モデルの作成に使用された第2の学習モデルの情報と、前記第1の学習モデルの作成に使用された第1のデータセットの情報と、を前記第1の学習モデルに関連付けて管理するモデル管理手段と、
前記第1のデータセットの作成に利用された第2のデータセットの情報を前記第1のデータセットに関連付けて管理するデータ管理手段と、
前記第2の学習モデルに対する再学習により作成された第3の学習モデルが前記モデル管理手段による管理対象に追加されたこと、または、前記第2のデータセットに対するデータ操作により作成された第3のデータセットが前記データ管理手段による管理対象に追加されたこと、を検知する検知手段と、
前記第3の学習モデルまたは前記第3のデータセットが追加されたことを通知するための通知条件を設定する設定手段と、
前記設定手段で設定された通知条件が満たされたとき通知を行う通知手段と、
を備える。
【発明の効果】
【0009】
本発明によれば、ユーザの用途に適した学習モデルや学習データの取得を容易にする技術を提供することができる。
【図面の簡単な説明】
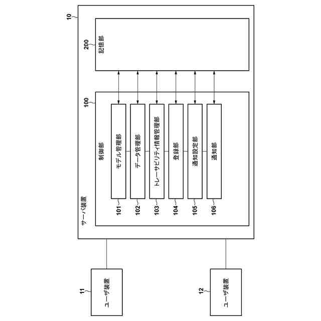
【0010】
サーバ装置のハードウェア構成を示す図である。
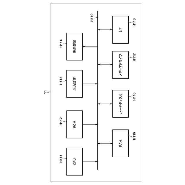
ユーザ装置のハードウェア構成を示す図である。
システムの全体構成を示す図である。
サーバ装置の機能構成を示す図である。
データ管理情報およびモデル管理情報の例を示す図である。
トレーサビリティ情報の例を示す図である。
通知情報の例を示す図である。
モデル・データ登録および通知設定のフローチャートである。
通知処理のフローチャートである。
サーバ装置の機能構成を示す図である(第2実施形態)。
モデル・データ更新および評価結果通知のフローチャートである。
トレーサビリティ情報の例を示す図である(第2実施形態)。
通知設定GUIの例を示す図である。
サーバ装置の機能構成を示す図である(第3実施形態)。
モデル・データ更新および再学習結果通知のフローチャートである。
トレーサビリティ情報の例を示す図である(第3実施形態)。
【発明を実施するための形態】
(【0011】以降は省略されています)
この特許をJ-PlatPat(特許庁公式サイト)で参照する
関連特許
キヤノン株式会社
容器
1か月前
キヤノン株式会社
容器
1か月前
キヤノン株式会社
トナー
1か月前
キヤノン株式会社
トナー
1か月前
キヤノン株式会社
電子機器
1か月前
キヤノン株式会社
記録装置
1か月前
キヤノン株式会社
電子機器
1か月前
キヤノン株式会社
撮像装置
1か月前
キヤノン株式会社
雲台装置
1か月前
キヤノン株式会社
現像装置
1か月前
キヤノン株式会社
表示装置
10日前
キヤノン株式会社
撮像装置
1か月前
キヤノン株式会社
撮像装置
3日前
キヤノン株式会社
撮像装置
3日前
キヤノン株式会社
撮像装置
3日前
キヤノン株式会社
撮像装置
1か月前
キヤノン株式会社
記録装置
4日前
キヤノン株式会社
電子機器
26日前
キヤノン株式会社
撮像装置
26日前
キヤノン株式会社
記録装置
4日前
キヤノン株式会社
撮像装置
18日前
キヤノン株式会社
撮像装置
10日前
キヤノン株式会社
撮像装置
10日前
キヤノン株式会社
表示装置
10日前
キヤノン株式会社
撮像装置
12日前
キヤノン株式会社
定着装置
18日前
キヤノン株式会社
発光装置
10日前
キヤノン株式会社
撮像装置
18日前
キヤノン株式会社
記録装置
1か月前
キヤノン株式会社
定着装置
18日前
キヤノン株式会社
二次電池
5日前
キヤノン株式会社
定着装置
24日前
キヤノン株式会社
定着装置
24日前
キヤノン株式会社
記録装置
24日前
キヤノン株式会社
定着装置
24日前
キヤノン株式会社
撮像装置
1か月前
続きを見る
他の特許を見る