TOP
|
特許
|
意匠
|
商標
特許ウォッチ
Twitter
他の特許を見る
公開番号
2025166603
公報種別
公開特許公報(A)
公開日
2025-11-06
出願番号
2024070753
出願日
2024-04-24
発明の名称
半導体集積回路の配線方法、配線プログラム、及び配線装置
出願人
ルネサスエレクトロニクス株式会社
代理人
個人
主分類
H10D
89/10 20250101AFI20251029BHJP()
要約
【課題】シールド対象配線が既配線に引き寄せられることなく、シールド対象配線の配線経路を選択すること。
【解決手段】本開示に係る半導体集積回路の配線方法は、コンピュータが、シールド対象配線を配置するための配線トラックを開けて互いに離間する複数のシールド配線候補を配置する処理と、複数のシールド配線候補間に設けられた複数の配線トラックの少なくとも1つに、シールド対象配線を配置する処理と、配置されたシールド対象配線に対してシールド配線として寄与しないシールド配線候補を削除する処理と、を実行する。
【選択図】図1
特許請求の範囲
【請求項1】
コンピュータが、
シールド対象配線を配置するための配線トラックを開けて互いに離間する複数のシールド配線候補を配置する処理と、
複数のシールド配線候補間に設けられた複数の前記配線トラックの少なくとも1つに、シールド対象配線を配置する処理と、
配置された前記シールド対象配線に対してシールド配線として寄与しないシールド配線候補を削除する処理と、
を実行する、
半導体集積回路の配線方法。
続きを表示(約 1,400 文字)
【請求項2】
前記シールド配線候補を削除する処理は、
前記シールド配線候補に隣接する前記配線トラック上に、前記シールド対象配線があるか否かを検索する処理と、
隣接する前記配線トラック上に前記シールド対象配線がない前記シールド配線候補を削除する処理と、
を含む、
請求項1に記載の配線方法。
【請求項3】
前記シールド配線候補の第1部分に隣接する前記配線トラック上には前記シールド対象配線があり、当該シールド配線候補の前記第1部分と異なる第2部分に隣接する前記配線トラック上には前記シールド対象配線がない場合、前記シールド配線候補の前記第2部分を削除する処理をさらに含む、
請求項2に記載の配線方法。
【請求項4】
前記シールド配線候補は、
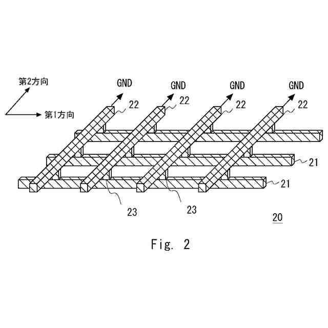
第1層に配置され、第1方向に延在する複数の第1シールド配線候補と、
前記第1層と異なる第2層に配置され、前記第1方向と直交する第2方向に延在する複数の第2シールド配線候補と、
前記第1シールド配線候補と前記第2シールド配線候補とが交差する位置に配置され、前記第1シールド配線候補と前記第2シールド配線候補とを電気的に接続する複数のビアと、
を含む、
請求項1に記載の配線方法。
【請求項5】
シールド配線候補を削除する処理は、
シールド配線として寄与する第1シールド配線候補に交差する、シールド配線として寄与する第2シールド候補配線が複数ある場合、
シールド配線として寄与する第1シールド配線候補と、シールド配線として寄与する第2シールド候補配線とを接続する複数のビアの内の1つのビアを残して、それ以外のビアを削除する処理をさらに含む、
請求項4に記載の配線方法。
【請求項6】
前記シールド配線候補は、グランドメッシュ又は電源メッシュである、
請求項1に記載の配線方法。
【請求項7】
前記シールド対象配線は、クロック配線である、
請求項1に記載の配線方法。
【請求項8】
シールド対象配線を配置するための配線トラックを開けて互いに離間する複数のシールド配線候補を配置する処理と、
複数のシールド配線候補間に設けられた複数の前記配線トラックの少なくとも1つに、シールド対象配線を配置する処理と、
配置された前記シールド対象配線に対してシールド配線として寄与しないシールド配線候補を削除する処理と、
をコンピュータに実行させる、
半導体集積回路の配線プログラム。
【請求項9】
前記シールド配線候補を削除する処理は、
前記シールド配線候補に隣接する前記配線トラック上に、前記シールド対象配線があるか否かを検索する処理と、
隣接する前記配線トラック上に前記シールド対象配線がない前記シールド配線候補を削除する処理と、
を含む、
請求項8に記載の配線プログラム。
【請求項10】
前記シールド配線候補の第1部分に隣接する前記配線トラック上には前記シールド対象配線があり、当該シールド配線候補の前記第1部分と異なる第2部分に隣接する前記配線トラック上には前記シールド対象配線がない場合、前記シールド配線候補の前記第2部分を削除する処理をさらに含む、
請求項9に記載の配線プログラム。
(【請求項11】以降は省略されています)
発明の詳細な説明
【技術分野】
【0001】
本開示は、半導体集積回路の配線方法、配線プログラム及び配線装置に関する。
続きを表示(約 1,500 文字)
【背景技術】
【0002】
隣接信号ネット間のクロストークを防止するために、他の信号ネットへ干渉する信号ネットや、他の信号ネットからの干渉を防ぐ必要のある信号ネットの両側にグランドネットや電源ネットを配線してシールドすることが行われている。特許文献1には、シールドされる必要のある信号ネットの配線経路を探索し、当該信号ネットの配線経路が決定したら、当該信号ネットの片側又は両側に、所定のクリアランスを確保した状態で、当該信号ネットをシールドするためのシールドネットを配線する自動配線方法が開示されている。
【先行技術文献】
【特許文献】
【0003】
特開2000-259695号公報
【発明の概要】
【発明が解決しようとする課題】
【0004】
特許文献1では、シールドされる必要のある信号ネットの配線経路を探索する際、既配線の電源ネット又はグランドネットが存在するときは、まず、当該信号ネットが、既配線の電源ネット又はグランドネット(以下、既配線の電源ネット等とする)に所定のクリアランスを確保した状態で隣接する態様となるように、配線経路の探索が行われる。そして、既配線の電源ネット等との隣接配線が成功したときは、既配線の電源ネットが、当該信号ネットをシールドするためのシールドネットとして利用される。
【0005】
しかしながら、特許文献1では、既配線の電源ネット等をシールドネットとして利用するために、シールド対象の信号ネットが既配線の電源ネット等に引き寄せられるように配線経路の探索が行われる。これにより、理想的な配線経路が選択できないという問題がある。
【0006】
その他の課題と新規な特徴は、本明細書の記述及び添付図面から明らかになるであろう。
【課題を解決するための手段】
【0007】
本開示に係る半導体集積回路の配線方法は、コンピュータが、シールド対象配線を配置するための配線トラックを開けて互いに離間する複数のシールド配線候補を配置する処理と、複数のシールド配線候補間に設けられた複数の前記配線トラックの少なくとも1つに、シールド対象配線を配置する処理と、配置された前記シールド対象配線に対してシールド配線として寄与しないシールド配線候補を削除する処理とを実行する。
【0008】
本開示に係る半導体集積回路の配線プログラムは、シールド対象配線を配置するための配線トラックを開けて互いに離間する複数のシールド配線候補を配置する処理と、複数のシールド配線候補間に設けられた複数の前記配線トラックの少なくとも1つに、シールド対象配線を配置する処理と、配置された前記シールド対象配線に対してシールド配線として寄与しないシールド配線候補を削除する処理と、をコンピュータに実行させる。
【0009】
本開示に係る半導体集積回路の配線装置は、シールド対象配線を配置するための配線トラックを開けて互いに離間する複数のシールド配線候補を配置するシールド配線候補配置手段と、複数のシールド配線候補間に設けられた複数の前記配線トラックの少なくとも1つに、シールド対象配線を配置するシールド対象配置手段と、配置された前記シールド対象配線に対してシールド配線として寄与しないシールド配線候補を削除する削除手段と、を備える。
【発明の効果】
【0010】
本開示によれば、シールド対象配線が既配線に引き寄せられることなく、シールド対象配線の配線経路を選択することが可能となる。
【図面の簡単な説明】
(【0011】以降は省略されています)
この特許をJ-PlatPat(特許庁公式サイト)で参照する
関連特許
個人
積和演算用集積回路
1か月前
サンケン電気株式会社
半導体装置
1か月前
日機装株式会社
半導体発光装置
25日前
旭化成株式会社
発光素子
1か月前
ローム株式会社
抵抗チップ
1か月前
ローム株式会社
半導体装置
9日前
三菱電機株式会社
半導体装置
1か月前
株式会社東芝
半導体装置
17日前
富士電機株式会社
半導体装置
1か月前
株式会社半導体エネルギー研究所
表示装置
9日前
三菱電機株式会社
半導体装置
4日前
三菱電機株式会社
半導体装置
17日前
ローム株式会社
半導体集積回路
1か月前
日亜化学工業株式会社
発光装置
1か月前
株式会社半導体エネルギー研究所
発光デバイス
1か月前
サンケン電気株式会社
半導体装置
17日前
ローム株式会社
半導体装置
1か月前
ローム株式会社
半導体装置
1か月前
ローム株式会社
半導体装置
2日前
ローム株式会社
半導体装置
1か月前
ローム株式会社
窒化物半導体装置
1か月前
富士電機株式会社
半導体装置の製造方法
1か月前
株式会社半導体エネルギー研究所
発光デバイス
25日前
日亜化学工業株式会社
発光素子
1か月前
大日本印刷株式会社
太陽電池
1か月前
新電元工業株式会社
半導体素子
2日前
新電元工業株式会社
半導体素子
2日前
新電元工業株式会社
半導体素子
2日前
ローム株式会社
光センサ
1か月前
日亜化学工業株式会社
発光装置
1か月前
日亜化学工業株式会社
発光素子
1か月前
ローム株式会社
半導体装置
17日前
日亜化学工業株式会社
発光装置
1か月前
日亜化学工業株式会社
発光装置
2日前
今泉工業株式会社
光発電装置及びその製造方法
1か月前
日本ゼオン株式会社
構造体
1か月前
続きを見る
他の特許を見る