TOP
|
特許
|
意匠
|
商標
特許ウォッチ
Twitter
他の特許を見る
公開番号
2025166589
公報種別
公開特許公報(A)
公開日
2025-11-06
出願番号
2024070711
出願日
2024-04-24
発明の名称
車両前部構造
出願人
トヨタ自動車株式会社
代理人
弁理士法人太陽国際特許事務所
主分類
B60K
11/04 20060101AFI20251029BHJP(車両一般)
要約
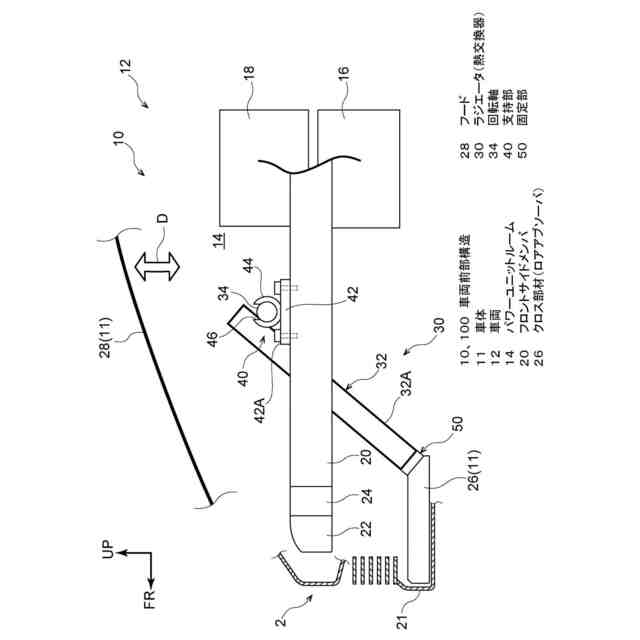
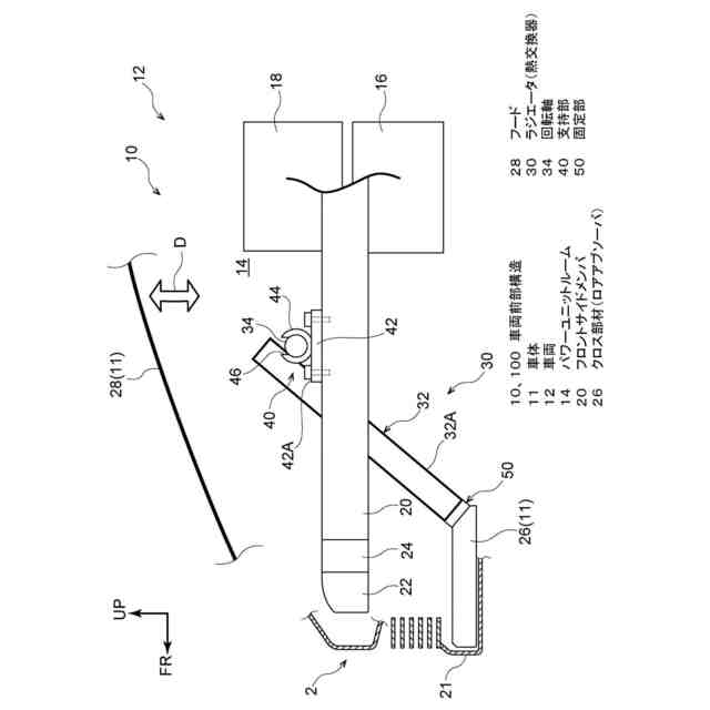
【課題】車両前部に熱交換器を斜めに搭載する構造において、車両の前方衝突時に熱交換器の破損を抑制することができる車両前部構造を得る。
【解決手段】車両前部構造10は、車両前部の車両幅方向の両側において車両前後方向に沿って延在する一対のフロントサイドメンバ20と、一対のフロントサイドメンバ20の間に配置され、車両下方側の端部30Aが車両上方側の端部30Bよりも車両前方側に突出するように傾斜した姿勢で配置されたラジエータ30と、一対のフロントサイドメンバ20の車両前後方向の中間部分かつラジエータ30の車両後方側に各々設けられ、ラジエータ30を、車両幅方向を軸方向として回転可能に支持する支持部40と、ラジエータ30の車両下方側の部位を車体11に固定する固定部50と、を備える。
【選択図】図1
特許請求の範囲
【請求項1】
車両前部の車両幅方向の両側において車両前後方向に沿って延在する一対のフロントサイドメンバと、
前記一対のフロントサイドメンバの間に配置され、車両下方側の端部が車両上方側の端部よりも車両前方側に突出するように傾斜した姿勢で配置された熱交換器と、
前記一対のフロントサイドメンバの車両前後方向の中間部分かつ前記熱交換器の車両後方側に各々設けられ、前記熱交換器を、車両幅方向を軸方向として回転可能に支持する支持部と、
前記熱交換器の車両下方側の部位を車体に固定する固定部と、
を備える車両前部構造。
続きを表示(約 630 文字)
【請求項2】
前記固定部は、前記車体側から突出する突起部と、前記熱交換器側に設けられ、前記突起部が嵌合する嵌合凹部と、を含んで構成されている、
請求項1に記載の車両前部構造。
【請求項3】
前記固定部は、前記突起部と前記嵌合凹部との間に介在する弾性部を更に有する、
請求項2に記載の車両前部構造。
【請求項4】
前記熱交換器の車両下方側の部位は、前記車体としての車両幅方向に延びるロアアブソーバに固定され、当該ロアアブソーバの車両前方側の側面の少なくとも一部は、前記一対のフロントサイドメンバよりも車両前方側に配置されている、
請求項1又は請求項2に記載の車両前部構造。
【請求項5】
前記支持部は、前記熱交換器の車両上方側の端部を支持するように構成されている、
請求項1又は請求項2に記載の車両前部構造。
【請求項6】
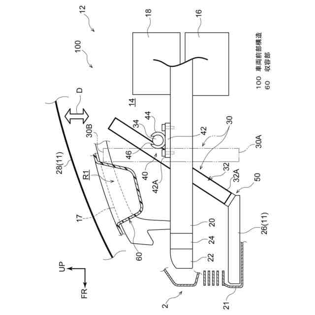
前記車両前部のパワーユニットルームを車両上方側から覆うフードと、
前記熱交換器の車両上方側かつ前記フードの車両下方側に設けられた箱状の収容部と、を更に有し、
前記支持部は、前記熱交換器の車両上下方向の中間部を支持するように構成されており、
前記熱交換器は、前記固定部による固定の解除により回転すると、前記熱交換器の車両上方側の部位が前記収容部に当接するように構成されている、
請求項1に記載の車両前部構造。
発明の詳細な説明
【技術分野】
【0001】
本発明は、車両前部構造に関する。
続きを表示(約 1,600 文字)
【背景技術】
【0002】
特許文献1には、車両前部においてサイドメンバの前端部にラジエータの下端部を支持させ、ラジエータの上端部を車体側の部材に回転可能に支持させたラジエータ取付け構造が開示されている。特許文献1に記載された技術では、サイドメンバの前端部にラジエータの下端部を支持する構成となっているため、車両前方から衝撃荷重が入力されると、この衝撃荷重はサイドメンバの軸方向に入力されると共に、ラジエータの下端部にガイド機構を介して後方荷重として入力される。
【先行技術文献】
【特許文献】
【0003】
特開2002-362171号公報
【発明の概要】
【発明が解決しようとする課題】
【0004】
近年、車両の空力性能を向上させる観点から、車両前部のフードの高さを抑えるためにラジエータを斜めに搭載することが考えられている。一方、前方衝突時にはフロントサイドメンバを軸圧縮させることにより衝撃を吸収しているが、ラジエータを斜めに搭載するとラジエータ下端部が前方に突出するため、衝突による衝撃の影響を受けやすくなる。
【0005】
ここで、特許文献1の技術では、フロントサイドメンバの前端部にラジエータの下端部が支持されているため、前方衝突時に、ラジエータが破損してしまう可能性がある。また、特許文献1の技術のように、ラジエータの上面に回転機構が取り付けられている場合、ラジエータの下端部に入力される荷重により、上方側へ突き上げる荷重が回転機構に作用し、ラジエータ及び回転機構を破損してしまう可能性がある。
【0006】
本発明は上記事情を考慮してなされたものであり、車両前部に熱交換器を斜めに搭載する構造において、車両の前方衝突時に熱交換器の破損を抑制することができる車両前部構造を得ることを目的とする。
【課題を解決するための手段】
【0007】
請求項1に記載の本発明に係る車両前部構造は、車両前部の車両幅方向の両側において車両前後方向に沿って延在する一対のフロントサイドメンバと、前記一対のフロントサイドメンバの間に配置され、車両下方側の端部が車両上方側の端部よりも車両前方側に突出するように傾斜した姿勢で配置された熱交換器と、前記一対のフロントサイドメンバの車両前後方向の中間部分かつ前記熱交換器の車両後方側に各々設けられ、前記熱交換器を、車両幅方向を軸方向として回転可能に支持する支持部と、前記熱交換器の車両下方側の部位を車体に固定する固定部と、を備えている。
【0008】
請求項1に記載の本発明に係る車両前部構造では、一対のフロントサイドメンバの間に熱交換器が配置されている。また、熱交換器は、車両下方側の端部が車両上方側の端部よりも車両前方側に突出するように傾斜した姿勢で配置されている。このため、車両前部のフードの高さを抑えることができ、空力性能の向上を図ることができる。
【0009】
ここで、車両前部構造では、フロントサイドメンバの車両前後方向の中間部に、車幅方向を軸方向として熱交換器を回転可能に支持する支持部が設けられており、熱交換器の車両下方側の部位を車体に固定する固定部が設けられている。そのため、前方衝突時にフロントサイドメンバの軸圧縮における衝撃吸収の途中で衝突物が車体に接触した際に、固定部による熱交換器の車両下方側の部位の固定が解除されて熱交換器が回転する。これにより、熱交換器に加わる荷重を逃がすことができる。
【0010】
さらに、車両前部構造では、熱交換器の車両後方側に支持部が設けられているため、熱交換器に入力される荷重により、上方側へ突き上げる荷重が支持部に作用することが抑制される。また、フロントサイドメンバの軸圧縮における衝撃吸収の途中で、支持部が破損することが回避される。
(【0011】以降は省略されています)
この特許をJ-PlatPat(特許庁公式サイト)で参照する
関連特許
個人
前輪キャスター
3か月前
個人
上部一体型自動車
2か月前
個人
空間形成装置
1か月前
個人
タイヤ脱落防止構造
3か月前
日本精機株式会社
表示装置
3か月前
日本精機株式会社
照明装置
1か月前
個人
マスタシリンダ
2か月前
個人
常設収納型サンバイザー
1か月前
日本精機株式会社
車載表示装置
1か月前
株式会社豊田自動織機
産業車両
1か月前
日本精機株式会社
画像投映装置
2か月前
株式会社ニフコ
照明装置
3か月前
日本精機株式会社
車載表示装置
2か月前
株式会社ニフコ
収納装置
2か月前
日本精機株式会社
車載表示装置
1か月前
日本精機株式会社
車室演出装置
3か月前
個人
回転窓ワイパー装置
1か月前
日本精機株式会社
車載表示装置
1か月前
個人
聴覚と触覚を利用する速度計
2日前
日本精機株式会社
車両用投影装置
2か月前
日本精機株式会社
車両用投射装置
2か月前
日本精機株式会社
車両用表示装置
2か月前
株式会社SUBARU
車両
1か月前
井関農機株式会社
作業車両
2か月前
日本精機株式会社
車両用報知装置
1か月前
個人
音による速度計とプログラム
1か月前
日本化薬株式会社
ガス発生器
4日前
ダイハツ工業株式会社
変速機
3か月前
日本化薬株式会社
ガス発生器
1か月前
ダイハツ工業株式会社
変速機
3か月前
ダイハツ工業株式会社
変速機
3か月前
日産自動車株式会社
伝動部材
2か月前
日本化薬株式会社
ガス発生器
2か月前
日本化薬株式会社
ガス発生器
1か月前
ダイハツ工業株式会社
変速機
3か月前
日本化薬株式会社
ガス発生器
2か月前
続きを見る
他の特許を見る