TOP
|
特許
|
意匠
|
商標
特許ウォッチ
Twitter
他の特許を見る
10個以上の画像は省略されています。
公開番号
2025166544
公報種別
公開特許公報(A)
公開日
2025-11-06
出願番号
2024070636
出願日
2024-04-24
発明の名称
半導体装置およびその製造方法
出願人
ルネサスエレクトロニクス株式会社
代理人
弁理士法人深見特許事務所
主分類
H10D
30/67 20250101AFI20251029BHJP()
要約
【課題】ソフトエラーの発生を抑制可能な半導体装置を提供する。
【解決手段】
半導体装置は、単結晶層を有する半導体基板と、単結晶層に形成されている複数の半導体素子と、平面視において複数の半導体素子の各々を囲むように半導体基板に形成されており、複数の半導体素子間を互いに分離する分離膜とを備える。分離膜は、反強誘電体からなる。分離膜の比誘電率の最小値が2未満である。
【選択図】図1
特許請求の範囲
【請求項1】
単結晶層を有する半導体基板と、
前記単結晶層に形成されている複数の半導体素子と、
平面視において前記複数の半導体素子の各々を囲むように前記半導体基板に形成されており、前記複数の半導体素子間を互いに分離する分離膜とを備え、
前記分離膜は、反強誘電体からなり、
前記分離膜の比誘電率の最小値が2未満である、半導体装置。
続きを表示(約 1,000 文字)
【請求項2】
バルク層と、単結晶層とを有する半導体基板と、
前記単結晶層に形成されている複数の半導体素子とを備え、
前記半導体基板は、前記バルク層と前記単結晶層との間に配置されており、前記バルク層と前記複数の半導体素子との間を分離する分離膜をさらに有し、
前記分離膜は、反強誘電体からなり、
前記分離膜の比誘電率の最小値が2未満である、半導体装置。
【請求項3】
前記分離膜の比誘電率の最大値が2.9よりも大きい、請求項1または2に記載の半導体装置。
【請求項4】
前記分離膜のヤング率が8GPa以上である、請求項1または2に記載の半導体装置。
【請求項5】
前記分離膜の残留分極量が15μC/cm
2
以下である、請求項1または2に記載の半導体装置。
【請求項6】
前記分離膜内に複数の空孔が形成されていない、請求項1または2に記載の半導体装置。
【請求項7】
前記反強誘電体を構成する材料は、HfO
2
、ZrO
2
、Pb(In
0.5
Nb
0.5
)O
3
、NbNaO
3
、ZrPbO
3
、TiZrLaPbO
3
、TiZrPbO
3
、NH
4
H
2
PO
4
、またはNH
4
H
2
AsO
4
からなる群から選択される少なくともいずれかである、請求項1または2に記載の半導体装置。
【請求項8】
前記分離膜の膜厚は、2nm以上50nm未満である、請求項1または2に記載の半導体装置。
【請求項9】
前記分離膜は、前記分離膜を介して隣り合う2つの領域間を電気的に絶縁する絶縁膜であり、
前記2つの領域間に通常動作時に加わる電場が、前記反強誘電体において自発分極が生じる電場未満とされている、請求項1または2に記載の半導体装置。
【請求項10】
前記分離膜を介して前記2つの領域間に通常動作時に加わる電圧が、前記複数の半導体素子の各々の駆動電圧の2倍未満である、請求項9に記載の半導体装置。
(【請求項11】以降は省略されています)
発明の詳細な説明
【技術分野】
【0001】
本開示は、半導体装置およびその製造方法に関する。
続きを表示(約 1,100 文字)
【背景技術】
【0002】
従来、半導体基板に形成された複数の半導体素子を互いに電気的に分離するための素子分離膜を有する半導体装置が知られている(例えば、特開2013-222838号公報(特許文献1)参照)。
【0003】
また、埋め込み絶縁膜を有するSOI(Silicon On Insulator)基板と、SOI基板の半導体層に形成されたトランジスとを備える半導体装置が知られている(例えば、特開2002-313906号公報参照)。
【先行技術文献】
【特許文献】
【0004】
特開2013-222838号公報
特開2002-313906号公報
【発明の概要】
【発明が解決しようとする課題】
【0005】
近年、半導体装置の動作速度の高速化に伴い、素子分離膜及び埋め込み絶縁膜といった分離膜の容量の低減が求められており、分離膜を構成する材料として、比誘電率がシリコン酸化膜よりも低い材料の探索が行われている。
【0006】
しかしながら、比誘電率がシリコン酸化膜よりも低い材料を分離膜に採用した場合、分離膜がシリコン酸化膜からなる場合と比べて、ソフトエラーの発生を抑制することが困難である。
【0007】
その他の課題と新規な特徴は、本明細書の記述および添付図面から明らかになるであろう。
【課題を解決するための手段】
【0008】
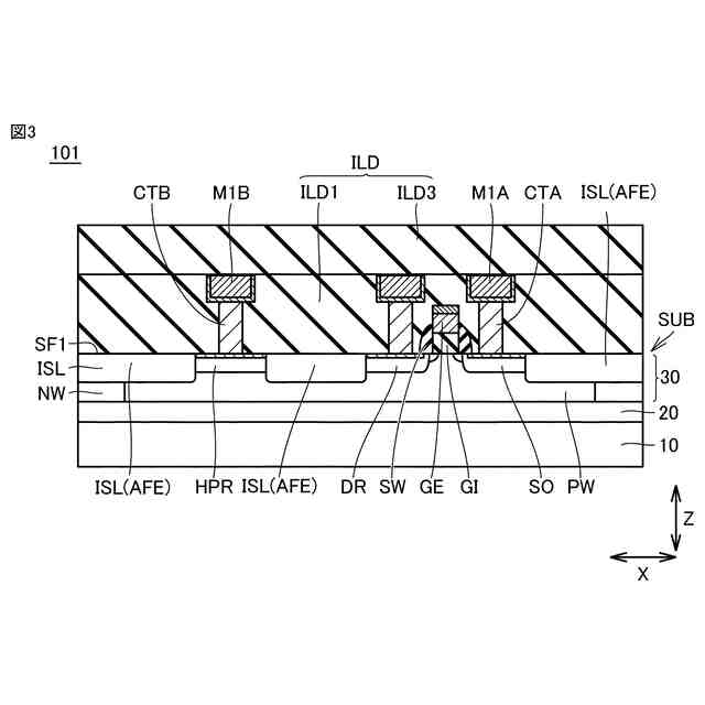
一実施の形態に係る半導体装置は、単結晶層を有する半導体基板と、単結晶層に形成されている複数の半導体素子と、平面視において複数の半導体素子の各々を囲むように半導体基板に形成されており、複数の半導体素子間を互いに分離する分離膜とを備える。分離膜は、反強誘電体からなる。分離膜の比誘電率の最小値が2未満である。
【0009】
他の実施の形態に係る半導体装置は、バルク層と、単結晶層とを有する半導体基板と、単結晶層に形成されている複数の半導体素子とを備える。半導体基板は、バルク層と単結晶層との間に配置されており、バルク層と複数の半導体素子との間を分離する分離膜をさらに有する。分離膜は、反強誘電体からなる。分離膜の比誘電率の最小値が2未満である。
【0010】
一実施の形態に係る半導体装置の製造方法は、単結晶層を有する半導体基板を準備する第1工程と、単結晶層に複数の半導体素子を形成する第2工程と、単結晶層に複数の半導体素子間を互いに分離する分離膜を形成する第3工程とを備える。第3工程では、反強誘電体からなる分離膜が、平面視において複数の半導体素子の各々を囲むように、反強誘電体のキュリー点未満の温度で形成される。
(【0011】以降は省略されています)
この特許をJ-PlatPat(特許庁公式サイト)で参照する
関連特許
個人
積和演算用集積回路
1か月前
サンケン電気株式会社
半導体装置
1か月前
日機装株式会社
半導体発光装置
26日前
旭化成株式会社
発光素子
1か月前
ローム株式会社
半導体装置
10日前
ローム株式会社
抵抗チップ
1か月前
株式会社半導体エネルギー研究所
表示装置
10日前
三菱電機株式会社
半導体装置
5日前
株式会社東芝
半導体装置
18日前
三菱電機株式会社
半導体装置
18日前
株式会社半導体エネルギー研究所
表示装置
1か月前
富士電機株式会社
半導体装置
1か月前
三菱電機株式会社
半導体装置
1か月前
ローム株式会社
半導体集積回路
1か月前
日亜化学工業株式会社
発光装置
1か月前
サンケン電気株式会社
半導体装置
18日前
株式会社半導体エネルギー研究所
発光デバイス
26日前
ローム株式会社
半導体装置
1か月前
富士電機株式会社
半導体装置の製造方法
1か月前
ローム株式会社
半導体装置
1か月前
株式会社半導体エネルギー研究所
発光デバイス
1か月前
ローム株式会社
半導体装置
3日前
ローム株式会社
窒化物半導体装置
1か月前
ローム株式会社
半導体装置
1か月前
日亜化学工業株式会社
発光素子
1か月前
大日本印刷株式会社
太陽電池
1か月前
新電元工業株式会社
半導体素子
3日前
新電元工業株式会社
半導体素子
3日前
新電元工業株式会社
半導体素子
3日前
日亜化学工業株式会社
発光装置
3日前
ローム株式会社
光センサ
1か月前
ローム株式会社
半導体装置
18日前
今泉工業株式会社
光発電装置及びその製造方法
1か月前
日亜化学工業株式会社
発光素子
1か月前
日本ゼオン株式会社
構造体
1か月前
日亜化学工業株式会社
発光装置
1か月前
続きを見る
他の特許を見る