TOP
|
特許
|
意匠
|
商標
特許ウォッチ
Twitter
他の特許を見る
10個以上の画像は省略されています。
公開番号
2025166446
公報種別
公開特許公報(A)
公開日
2025-11-06
出願番号
2024070507
出願日
2024-04-24
発明の名称
光学走査装置および画像形成装置
出願人
キヤノン株式会社
代理人
個人
,
個人
,
個人
,
個人
,
個人
主分類
G02B
26/12 20060101AFI20251029BHJP(光学)
要約
【課題】 異なる画像形成装置に搭載可能であり、安価かつ組立性を向上できる光学走査装置を提供する。
【解決手段】 光学箱は、画像形成装置への取り付け面である複数の基準面と、回転多面鏡の回転軸線方向に関して複数の基準面夫々の真裏に配置されており、夫々が複数の基準面の夫々と平行な複数の平面と、有する。
【選択図】 図2
特許請求の範囲
【請求項1】
光源と、
前記光源が出射するレーザビームを偏向する回転多面鏡を備える偏向ユニットと、
前記偏向ユニットで走査されるレーザビームを結像するレンズと、
前記偏向ユニットと、前記レンズを収容する光学箱と、
を有し、記録材にトナー像を形成する画像形成装置に搭載される光学走査装置において、
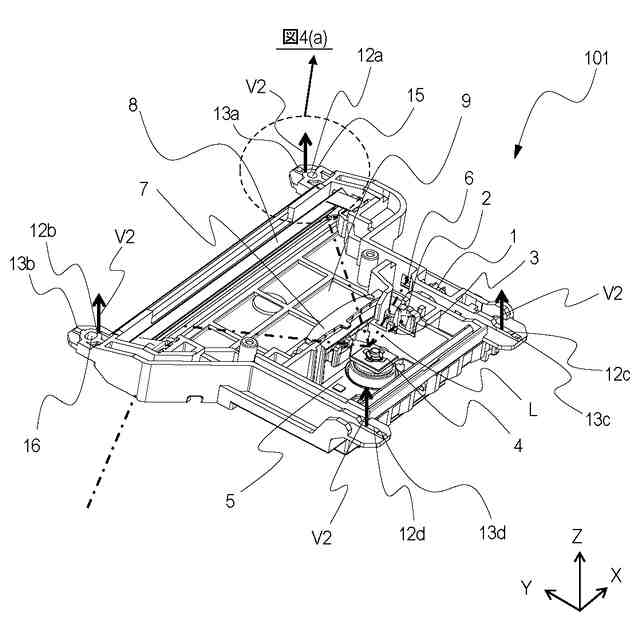
前記光学箱は、前記画像形成装置への取り付け面である複数の基準面と、前記回転多面鏡の回転軸線方向に関して前記複数の基準面夫々の真裏に配置されており、夫々が前記複数の基準面の夫々と平行な複数の平面と、有することを特徴とする光学走査装置。
続きを表示(約 500 文字)
【請求項2】
前記回転軸線方向に見た時、前記複数の基準面を結んでできる領域および前記複数の平面を結んでできる領域の内部に、前記回転多面鏡の回転軸と前記レンズが配置されていることを特徴とする請求項1に記載の光学走査装置。
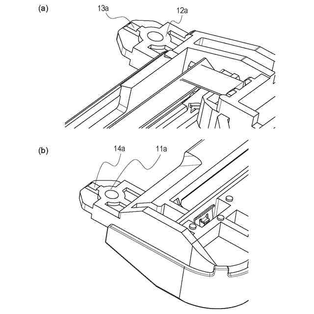
【請求項3】
前記光学箱の前記複数の基準面の近傍に前記光学走査装置を画像形成装置に固定するための固定手段で押圧される押圧部が設けられていることを特徴とする請求項1に記載の光学走査装置。
【請求項4】
前記光学箱には、前記回転軸線方向に関して垂直な平面方向に関して前記光学走査装置の位置を決めるための位置決め部が入る穴が設けられており、前記複数の基準面の内の少なくとも一つは前記穴の周囲に設けられていることを特徴とする請求項3に記載の光学走査装置。
【請求項5】
感光体と、
前記感光体を画像情報に応じたレーザビームで走査する光学走査装置と、
を有し、記録材にトナー像を形成する画像形成装置において、
前記光学走査装置が、請求項1乃至4いずれか一項に記載の光学走査装置であることを特徴とする画像形成装置。
発明の詳細な説明
【技術分野】
【0001】
本発明は、複写機やプリンタ等の電子写真方式の画像形成装置に搭載される光学走査装置、及びこの光学走査装置を備える画像形成装置に関する。
続きを表示(約 1,400 文字)
【背景技術】
【0002】
画像形成装置のコストを抑える手法として、異なる種類の画像形成装置に対して、光学走査装置の筐体(光学箱)を共通化する手法が考えられる。特許文献1には、モノクロプリンタとカラープリンタに対して筐体が同一のレーザスキャナを用いる提案がなされている。
【先行技術文献】
【特許文献】
【0003】
特開2004-21156号公報
【発明の概要】
【発明が解決しようとする課題】
【0004】
しかしながら、画像形成装置の種類が異なる場合、画像形成装置内の感光ドラムと光学走査装置の位置関係が異なることもある。この違いが要因で、画像形成装置を組み立てる時の課題が生じる。
【0005】
図15、図16は、二種類の画像形成装置210、220に、筐体が同じ光学走査装置201を組み付ける工程を示す断面図及び斜視図である。なお、図15、図16共に、光学走査装置201を支持する画像形成装置の支持部202、光学走査装置201、感光ドラム203以外の部品は省略して示している。第二の画像形成装置220は第一の画像形成装置210と比較すると、感光ドラム203と光学走査装置201の上下方向の位置関係が逆になっている。
【0006】
第一の画像形成装置210を製造ラインで組み立てる時、光学走査装置201は第一の画像形成装置210の支持部202に上側から取り付けられる。符号PBが光学走査装置201の筐体に設けた被位置決め部、符号PHが支持部202に設けた位置決め部である。一方、第二の画像形成装置220を製造ラインで組み立てる時、光学走査装置201は支持部202の下側から取り付けられる。又は、支持部202が固定されている本体フレームを上下反転させた状態で支持部202の上側から取り付けられる。
【0007】
光学走査装置201を支持部202の下側から取り付ける場合は、取り付け位置や、ばねやビスなどによる固定箇所が組立作業者から見えにくい上、作業空間が狭く組立作業者が固定箇所へアクセスしにくいため、組立性が悪化していた。また、画像形成装置の本体フレームを上下反転させる場合はその分の工数が増加しコストアップにつながっていた。
【0008】
本発明の目的は、異なる画像形成装置に搭載可能であり、安価かつ組立性を向上できる光学走査装置を提供することにある。
【課題を解決するための手段】
【0009】
上述の課題を解決するための本発明は、光源と、前記光源が出射するレーザビームを偏向する回転多面鏡を備える偏向ユニットと、前記偏向ユニットで走査されるレーザビームを結像するレンズと、前記偏向ユニットと、前記レンズを収容する光学箱と、を有し、記録材にトナー像を形成する画像形成装置に搭載される光学走査装置において、前記光学箱は、前記画像形成装置への取り付け面である複数の基準面と、前記回転多面鏡の回転軸線方向に関して前記複数の基準面夫々の真裏に配置されており、夫々が前記複数の基準面の夫々と平行な複数の平面と、有することを特徴とする。
【発明の効果】
【0010】
以上に説明したように、本発明によれば、異なる画像形成装置に搭載可能であり、安価かつ組立性を向上できる光学走査装置を提供することができる。
【図面の簡単な説明】
(【0011】以降は省略されています)
この特許をJ-PlatPat(特許庁公式サイト)で参照する
関連特許
キヤノン株式会社
容器
21日前
キヤノン株式会社
容器
15日前
キヤノン株式会社
トナー
1か月前
キヤノン株式会社
トナー
1か月前
キヤノン株式会社
トナー
1か月前
キヤノン株式会社
トナー
7日前
キヤノン株式会社
トナー
1か月前
キヤノン株式会社
トナー
24日前
キヤノン株式会社
定着装置
今日
キヤノン株式会社
記録装置
21日前
キヤノン株式会社
測距装置
1か月前
キヤノン株式会社
表示装置
15日前
キヤノン株式会社
撮影装置
1か月前
キヤノン株式会社
定着装置
1か月前
キヤノン株式会社
電子機器
7日前
キヤノン株式会社
撮像装置
21日前
キヤノン株式会社
撮像装置
1か月前
キヤノン株式会社
撮像装置
1か月前
キヤノン株式会社
記録装置
1か月前
キヤノン株式会社
撮像装置
7日前
キヤノン株式会社
現像装置
28日前
キヤノン株式会社
撮像装置
15日前
キヤノン株式会社
撮像装置
2日前
キヤノン株式会社
記録装置
今日
キヤノン株式会社
撮像装置
8日前
キヤノン株式会社
現像装置
1か月前
キヤノン株式会社
記録装置
7日前
キヤノン株式会社
電子機器
2日前
キヤノン株式会社
現像容器
1か月前
キヤノン株式会社
電子機器
7日前
キヤノン株式会社
定着装置
今日
キヤノン株式会社
雲台装置
7日前
キヤノン株式会社
現像容器
1か月前
キヤノン株式会社
定着装置
今日
キヤノン株式会社
撮像装置
21日前
キヤノン株式会社
記録装置
7日前
続きを見る
他の特許を見る