TOP
|
特許
|
意匠
|
商標
特許ウォッチ
Twitter
他の特許を見る
公開番号
2025166379
公報種別
公開特許公報(A)
公開日
2025-11-06
出願番号
2024070366
出願日
2024-04-24
発明の名称
車両下部構造
出願人
トヨタ自動車株式会社
代理人
弁理士法人太陽国際特許事務所
主分類
B62D
25/20 20060101AFI20251029BHJP(鉄道以外の路面車両)
要約
【課題】車両における重量の増大及び製造コストの増大を抑制しつつ、アンカー部材に入力される荷重に対する剛性を向上できる車両下部構造を得る。
【解決手段】バッテリを収容し、車両12の下部に配置されたバッテリケース14と、金属の鋳造品であり、バッテリケース14を支持するバッテリ支持部30を有する車体構成部20と、バッテリ支持部30の車両上方側に取り付けられたアンカー部材40と、を備えた車両下部構造10とする。
【選択図】図2
特許請求の範囲
【請求項1】
バッテリを収容し、車両の下部に配置されたバッテリケースと、
金属の鋳造品であり、前記バッテリケースを支持するバッテリ支持部を有する車体構成部と、
前記バッテリ支持部の車両上方側に取り付けられたアンカー部材と、
を備えた車両下部構造。
続きを表示(約 480 文字)
【請求項2】
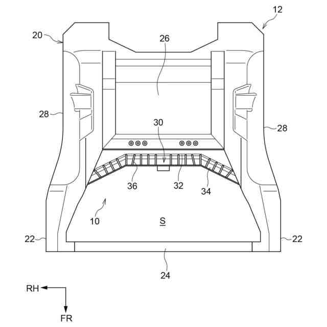
前記バッテリ支持部は、側面視で、鉛直方向に延在する縦壁部と、前記縦壁部の下端部から水平方向に延在し、前記バッテリケースが取り付けられた横壁部と、前記縦壁部と前記横壁部との間を連結し、前記縦壁部と前記横壁部とを補強する補強リブと、を含んで構成されている請求項1に記載の車両下部構造。
【請求項3】
前記車体構成部は、前記バッテリ支持部から離隔して車幅方向に延在するクロスメンバを有しており、
側面視で、前記クロスメンバと前記バッテリ支持部と前記バッテリケースとでラーメン構造が形成されている請求項2に記載の車両下部構造。
【請求項4】
前記アンカー部材は、締結部材によって前記バッテリ支持部の車両上方側に取り付けられている請求項1~請求項3の何れか1項に記載の車両下部構造。
【請求項5】
前記アンカー部材が、シートベルトアンカーである請求項4に記載の車両下部構造。
【請求項6】
前記シートベルトアンカーは、後席のシートベルト用である請求項5に記載の車両下部構造。
発明の詳細な説明
【技術分野】
【0001】
本発明は、車両下部構造に関する。
続きを表示(約 1,300 文字)
【背景技術】
【0002】
シートベルトからシートベルトアンカーに入力される引張荷重に対する剛性を高めるために、シートベルトアンカーを取り付ける部分に補強部材を設けた構成は、従来から知られている(例えば、特許文献1参照)。
【先行技術文献】
【特許文献】
【0003】
特開2019-156088号公報
【発明の概要】
【発明が解決しようとする課題】
【0004】
しかしながら、シートベルトアンカー等のアンカー部材を取り付ける部分に、剛性を高めるための補強部材を設けると、車両において、重量の増大及び製造コストの増大を招いてしまう。
【0005】
そこで、本発明は、車両における重量の増大及び製造コストの増大を抑制しつつ、アンカー部材に入力される荷重に対する剛性を向上できる車両下部構造を得ることを目的とする。
【課題を解決するための手段】
【0006】
上記の目的を達成するために、本発明に係る第1の態様の車両下部構造は、バッテリを収容し、車両の下部に配置されたバッテリケースと、金属の鋳造品であり、前記バッテリケースを支持するバッテリ支持部を有する車体構成部と、前記バッテリ支持部の車両上方側に取り付けられたアンカー部材と、を備えている。
【0007】
第1の態様の発明によれば、バッテリを収容したバッテリケースが、車両の下部に配置されており、金属の鋳造品である車体構成部が、バッテリケースを支持するバッテリ支持部を有している。そして、バッテリ支持部の車両上方側には、アンカー部材が取り付けられている。ここで、バッテリを収容したバッテリケースは重量物であるため、バッテリ支持部には、常に車両下方側へ向かう荷重が作用している。
【0008】
したがって、アンカー部材に、例えば車両前方側へ向かう荷重が入力され、そのアンカー部材を介してバッテリ支持部に車両前方側へ向かう荷重が伝達されても、バッテリ支持部は、その荷重に対して耐え易くなる。つまり、本発明によれば、車両における重量の増大及び製造コストの増大を抑制しつつ、アンカー部材に入力される荷重に対する剛性が向上される。
【0009】
また、本発明に係る第2の態様の車両下部構造は、第1の態様の車両下部構造であって、前記バッテリ支持部は、側面視で、鉛直方向に延在する縦壁部と、前記縦壁部の下端部から水平方向に延在し、前記バッテリケースが取り付けられた横壁部と、前記縦壁部と前記横壁部との間を連結し、前記縦壁部と前記横壁部とを補強する補強リブと、を含んで構成されている。
【0010】
第2の態様の発明によれば、バッテリ支持部が、側面視で、鉛直方向に延在する縦壁部と、縦壁部の下端部から水平方向に延在し、バッテリケースが取り付けられた横壁部と、縦壁部と横壁部との間を連結し、縦壁部と横壁部とを補強する補強リブと、を含んで構成されている。したがって、バッテリ支持部の剛性が向上される。
(【0011】以降は省略されています)
この特許をJ-PlatPat(特許庁公式サイト)で参照する
関連特許
トヨタ自動車株式会社
電池
25日前
トヨタ自動車株式会社
電池
19日前
トヨタ自動車株式会社
電池
11日前
トヨタ自動車株式会社
車両
5日前
トヨタ自動車株式会社
電池
11日前
トヨタ自動車株式会社
配管
20日前
トヨタ自動車株式会社
方法
4日前
トヨタ自動車株式会社
車両
20日前
トヨタ自動車株式会社
車両
19日前
トヨタ自動車株式会社
タンク
4日前
トヨタ自動車株式会社
電動車
20日前
トヨタ自動車株式会社
ロータ
20日前
トヨタ自動車株式会社
電動車
19日前
トヨタ自動車株式会社
蓄電装置
11日前
トヨタ自動車株式会社
蓄電装置
11日前
トヨタ自動車株式会社
制御装置
20日前
トヨタ自動車株式会社
蓄電装置
11日前
トヨタ自動車株式会社
制御装置
4日前
トヨタ自動車株式会社
蓄電装置
11日前
トヨタ自動車株式会社
蓄電装置
11日前
トヨタ自動車株式会社
蓄電装置
11日前
トヨタ自動車株式会社
蓄電装置
11日前
トヨタ自動車株式会社
蓄電装置
11日前
トヨタ自動車株式会社
製造設備
25日前
トヨタ自動車株式会社
エンジン
20日前
トヨタ自動車株式会社
判定装置
19日前
トヨタ自動車株式会社
車両装置
11日前
トヨタ自動車株式会社
エンジン
11日前
トヨタ自動車株式会社
制御装置
19日前
トヨタ自動車株式会社
反応容器
19日前
トヨタ自動車株式会社
エンジン
19日前
トヨタ自動車株式会社
蓄電装置
19日前
トヨタ自動車株式会社
蓄電装置
19日前
トヨタ自動車株式会社
蓄電装置
19日前
トヨタ自動車株式会社
蓄電装置
11日前
トヨタ自動車株式会社
制御装置
19日前
続きを見る
他の特許を見る