TOP
|
特許
|
意匠
|
商標
特許ウォッチ
Twitter
他の特許を見る
公開番号
2025166073
公報種別
公開特許公報(A)
公開日
2025-11-05
出願番号
2025131511,2024023980
出願日
2025-08-06,2015-12-04
発明の名称
半導体装置
出願人
株式会社半導体エネルギー研究所
代理人
主分類
H10D
30/67 20250101AFI20251028BHJP()
要約
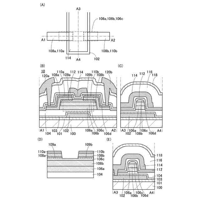
【課題】安定した電気特性を有するトランジスタを提供する。
【解決手段】トランジスタ10は、基板100上に形成された第1の絶縁体104、その上に形成された第1~第3の酸化物絶縁体106a、106c、106d、第3の酸化物絶縁体の上に形成された第2の絶縁体112と、その上に形成された第1の導電体114と、その上に形成された第3の絶縁体116と、を有し、第1、第2の酸化物絶縁体の伝導帯下端のエネルギー準位は、酸化物半導体106bの伝導帯下端のエネルギー準位より真空準位に近く、第3の酸化物絶縁体の伝導帯下端のエネルギー準位は、第2の酸化物絶縁体の伝導帯下端のエネルギー準位より真空準位に近く、第1の絶縁体は酸素を含み、第1の絶縁体は、昇温脱離ガス分析において、酸素分子の脱離量が1.0×10
14
molecules/cm
2
以上1.0×10
16
molecules/cm
2
以下とする。
【選択図】図1
特許請求の範囲
【請求項1】
基板上に形成された第1の絶縁体と、
前記第1の絶縁体の上に形成された第1の酸化物絶縁体と、
前記第1の酸化物絶縁体の上面の少なくとも一部に接して形成された酸化物半導体と、
前記酸化物半導体の上面の少なくとも一部に接して形成された第2の酸化物絶縁体と、
前記第2の酸化物絶縁体の上面の少なくとも一部に接して形成された第3の酸化物絶縁体と、
前記第3の酸化物絶縁体の上に形成された第2の絶縁体と、
前記第2の絶縁体の上に形成された第1の導電体と、
前記第1の導電体の上に形成された第3の絶縁体と、を有し、
前記第1の酸化物絶縁体の伝導帯下端のエネルギー準位は、前記酸化物半導体の伝導帯下端のエネルギー準位より真空準位に近く、
前記第2の酸化物絶縁体の伝導帯下端のエネルギー準位は、前記酸化物半導体の伝導帯下端のエネルギー準位より真空準位に近く、
前記第3の酸化物絶縁体の伝導帯下端のエネルギー準位は、前記第2の酸化物絶縁体の伝導帯下端のエネルギー準位より真空準位に近く、
前記第1の絶縁体は酸素を含み、
前記第1の絶縁体は、昇温脱離ガス分析において、酸素分子の脱離量が1.0×10
14
molecules/cm
2
以上1.0×10
16
molecules/cm
2
以下であることを特徴とする半導体装置。
発明の詳細な説明
【技術分野】
【0001】
本発明は、例えば、トランジスタおよび半導体装置に関する。または、本発明は、例え
ば、トランジスタおよび半導体装置の製造方法に関する。または、本発明は、例えば、表
示装置、発光装置、照明装置、蓄電装置、記憶装置、プロセッサ、電子機器に関する。ま
たは、表示装置、液晶表示装置、発光装置、記憶装置、電子機器の製造方法に関する。ま
たは、表示装置、液晶表示装置、発光装置、記憶装置、電子機器の駆動方法に関する。
続きを表示(約 1,900 文字)
【0002】
なお、本発明の一態様は、上記の技術分野に限定されない。本明細書等で開示する発明
の一態様の技術分野は、物、方法、または、製造方法に関するものである。または、本発
明の一態様は、プロセス、マシン、マニュファクチャ、または、組成物(コンポジション
・オブ・マター)に関するものである。
【0003】
なお、本明細書等において半導体装置とは、半導体特性を利用することで機能しうる装
置全般を指す。表示装置、発光装置、照明装置、電気光学装置、半導体回路および電子機
器は、半導体装置を有する場合がある。
【背景技術】
【0004】
絶縁表面を有する基板上の半導体を用いて、トランジスタを構成する技術が注目されて
いる。当該トランジスタは集積回路や表示装置のような半導体装置に広く応用されている
。トランジスタに適用可能な半導体としてシリコンが知られている。
【0005】
トランジスタの半導体に用いられるシリコンは、用途によって非晶質シリコンと多結晶
シリコンとが使い分けられている。例えば、大型の表示装置を構成するトランジスタに適
用する場合、大面積基板への成膜技術が確立されている非晶質シリコンを用いると好適で
ある。一方、駆動回路を一体形成した高機能の表示装置を構成するトランジスタに適用す
る場合、高い電界効果移動度を有するトランジスタを作製可能な多結晶シリコンを用いる
と好適である。多結晶シリコンは、非晶質シリコンに対し高温での熱処理、またはレーザ
光処理を行うことで形成する方法が知られる。
【0006】
近年では、酸化物半導体(代表的にはIn-Ga-Zn酸化物)を用いたトランジスタ
の開発が活発化している。酸化物半導体の歴史は古く、1988年には、結晶In-Ga
-Zn酸化物を半導体素子へ利用することが開示されている(特許文献1参照。)。また
、1995年には、酸化物半導体を用いたトランジスタが発明されており、その電気特性
が開示されている(特許文献2参照。)。
【0007】
酸化物半導体を用いたトランジスタは、非晶質シリコンを用いたトランジスタ、および
多結晶シリコンを用いたトランジスタとは異なる特徴を有する。例えば、酸化物半導体を
用いたトランジスタを適用した表示装置は、消費電力が低いことが知られている。酸化物
半導体は、スパッタリング法などを用いて成膜できるため、大型の表示装置を構成するト
ランジスタに用いることができる。また、酸化物半導体を用いたトランジスタは、高い電
界効果移動度を有するため、駆動回路を一体形成した高機能の表示装置を実現できる。ま
た、非晶質シリコンを用いたトランジスタの生産設備の一部を改良して利用することが可
能であるため、設備投資を抑えられるメリットもある。
【先行技術文献】
【特許文献】
【0008】
特開昭63-239117
特表平11-505377
【発明の概要】
【発明が解決しようとする課題】
【0009】
安定した電気特性を有するトランジスタを提供することを課題の一とする。または、非
導通時のリーク電流の小さいトランジスタを提供することを課題の一とする。または、高
い周波数特性を有するトランジスタを提供することを課題の一とする。または、ノーマリ
ーオフの電気特性を有するトランジスタを提供することを課題の一とする。または、サブ
スレッショルドスイング値の小さいトランジスタを提供することを課題の一とする。また
は、信頼性の高いトランジスタを提供することを課題の一とする。
【0010】
または、該トランジスタを有する半導体装置を提供することを課題の一とする。または
、該半導体装置を有するモジュールを提供することを課題の一とする。または、該半導体
装置、または該モジュールを有する電子機器を提供することを課題の一とする。または、
新規な半導体装置を提供することを課題の一とする。または、新規なモジュールを提供す
ることを課題の一とする。または、新規な電子機器を提供することを課題の一とする。
(【0011】以降は省略されています)
この特許をJ-PlatPat(特許庁公式サイト)で参照する
関連特許
個人
積和演算用集積回路
1か月前
サンケン電気株式会社
半導体装置
1か月前
日機装株式会社
半導体発光装置
26日前
旭化成株式会社
発光素子
1か月前
エイブリック株式会社
縦型ホール素子
1か月前
エイブリック株式会社
縦型ホール素子
1か月前
ローム株式会社
抵抗チップ
1か月前
ローム株式会社
半導体装置
10日前
三菱電機株式会社
半導体装置
5日前
株式会社東芝
半導体装置
18日前
株式会社半導体エネルギー研究所
表示装置
10日前
株式会社半導体エネルギー研究所
表示装置
1か月前
三菱電機株式会社
半導体装置
1か月前
富士電機株式会社
半導体装置
1か月前
三菱電機株式会社
半導体装置
18日前
ローム株式会社
半導体集積回路
1か月前
日亜化学工業株式会社
発光装置
1か月前
ローム株式会社
半導体装置
1か月前
ローム株式会社
窒化物半導体装置
1か月前
ローム株式会社
半導体装置
3日前
株式会社半導体エネルギー研究所
発光デバイス
26日前
株式会社半導体エネルギー研究所
発光デバイス
1か月前
ローム株式会社
窒化物半導体装置
1か月前
サンケン電気株式会社
半導体装置
18日前
ローム株式会社
半導体装置
1か月前
ローム株式会社
半導体装置
1か月前
富士電機株式会社
半導体装置の製造方法
1か月前
大日本印刷株式会社
太陽電池
1か月前
日亜化学工業株式会社
発光素子
1か月前
新電元工業株式会社
半導体素子
3日前
新電元工業株式会社
半導体素子
3日前
新電元工業株式会社
半導体素子
3日前
今泉工業株式会社
光発電装置及びその製造方法
1か月前
ローム株式会社
半導体装置
18日前
ローム株式会社
RAM
1か月前
ローム株式会社
光センサ
1か月前
続きを見る
他の特許を見る