TOP
|
特許
|
意匠
|
商標
特許ウォッチ
Twitter
他の特許を見る
10個以上の画像は省略されています。
公開番号
2025165301
公報種別
公開特許公報(A)
公開日
2025-11-04
出願番号
2024069336
出願日
2024-04-22
発明の名称
店舗支援装置、店舗支援システム、および店舗支援プログラム
出願人
東芝テック株式会社
代理人
弁理士法人酒井国際特許事務所
主分類
G06Q
30/0202 20230101AFI20251027BHJP(計算;計数)
要約
【課題】店舗の利用に関わるデータを取得することで、顧客の満足度を向上させること。
【解決手段】実施形態の店舗支援装置は、第1取得部と、第2取得部と、出力部と、を備える。第1取得部は、店舗の利用に関わるデータを取得する。第2取得部は、前記データに表された内容と、前記店舗の利用に関わる改善案の導出を指示する質問とを、前記店舗に関するデータを少なくとも用いて学習された生成AIに入力し、当該生成AIにより導出された前記改善案を含む回答文を取得する。出力部は、前記回答文を出力する。
【選択図】図9
特許請求の範囲
【請求項1】
店舗の利用に関わるデータを取得する第1取得部と、
前記データに表された内容と、前記店舗の利用に関わる改善案の導出を指示する質問とを、前記店舗に関するデータを少なくとも用いて学習された生成AIに入力し、当該生成AIにより導出された前記改善案を含む回答文を取得する第2取得部と、
前記回答文を出力する出力部と、
備えた店舗支援装置。
続きを表示(約 950 文字)
【請求項2】
前記回答文に基づいて、前記店舗の改善のタイミングとして、即時対応または長期対応を判定する判定部をさらに備え、
前記出力部は、
前記タイミングが前記即時対応である場合、前記回答文を前記店舗の店員に出力および/または前記店舗の環境の制御装置に前記回答文に基づく制御信号を出力し、
前記タイミングが前記長期対応である場合、前記店舗を含む系列店の本部に出力する、
請求項1に記載の店舗支援装置。
【請求項3】
前記生成AIは、前記店舗の利用に関わるデータと前記回答文に対する対応結果とを用いて、再度学習される、
請求項2に記載の店舗支援装置。
【請求項4】
前記店舗の利用に関わるデータは、前記店舗に関わる音声データを有し、
前記音声データを分析することで、前記音声データの発話元の顧客の感情を感情値として数値化する分析部をさらに備え、
前記第2取得部は、前記感情値を前記生成AIにさらに入力することで、前記感情を反映させた前記回答文を出力する、
請求項1乃至3のいずれか一項に記載の店舗支援装置。
【請求項5】
店舗の利用に関わるデータを収集する収集装置と、
前記店舗の利用に関わるデータを取得する第1取得部と、
前記データに表された内容と、前記店舗の利用に関わる改善案の導出を指示する質問とを、前記店舗に関するデータを少なくとも用いて学習された生成AIに入力し、当該生成AIにより導出された前記改善案を含む回答文を取得する第2取得部と、
前記回答文を出力する出力部と、
を有する店舗支援装置と、
を備えた店舗支援システム。
【請求項6】
コンピュータに、
店舗の利用に関わるデータを取得し、
前記データに表された内容と、前記店舗の利用に関わる改善案の導出を指示する質問とを、前記店舗に関するデータを少なくとも用いて学習された生成AIに入力し、
当該生成AIにより導出された前記改善案を含む回答文を取得し、
前記回答文を出力すること、
を実現させる店舗支援プログラム。
発明の詳細な説明
【技術分野】
【0001】
本発明の実施形態は、店舗支援装置、店舗支援システム、および店舗支援プログラムに関する。
続きを表示(約 2,100 文字)
【背景技術】
【0002】
従来、顧客満足度の分析は、店舗の売上やリピーター獲得に対して重要な項目とされている。既存のシステムでは、アンケートや電話対応の分析などによる顧客分析がある。しかしながら、上記の方法では、回答を得られる顧客のデータ数が限られており、また店頭での突発的なクレームや、消費者が漏らした不満の声などを得ることができない。
【0003】
また、従来、顧客の音声を文字データに変換し、変換した文字データを形態素解析、統語解析、意味解析を順次行って顧客の概念を特定し、店員のサービス状況情報を付加した分析結果に基づいて、顧客へのサービス品質の向上を支援する技術が提案されている(例えば、特許文献1)。
【0004】
また、近年では、大規模言語モデル(以下、LLM(Large Language Model)ともいう)と呼ばれるAI(Artificial Intelligence)モデルが登場している。LLMは、自然言語処理の分野において大規模コーパスで事前学習されたAIモデルであり、例えば、質問や指示内容が文章として入力されると、入力された文章の文意に沿った応答文を生成して出力するように機能付けられている。
【発明の概要】
【発明が解決しようとする課題】
【0005】
本発明が解決しようとする課題は、店舗の利用に関わるデータを取得することで、顧客の満足度を向上可能な店舗支援装置、店舗支援システム、および店舗支援プログラムを提供することである。
【課題を解決するための手段】
【0006】
実施形態の店舗支援装置は、第1取得部と、第2取得部と、出力部と、を備える。第1取得部は、店舗の利用に関わるデータを取得する。第2取得部は、前記データに表された内容と、前記店舗の利用に関わる改善案の導出を指示する質問とを、前記店舗に関するデータを少なくとも用いて学習された生成AIに入力し、当該生成AIにより導出された前記改善案を含む回答文を取得する。出力部は、前記回答文を出力する。
【図面の簡単な説明】
【0007】
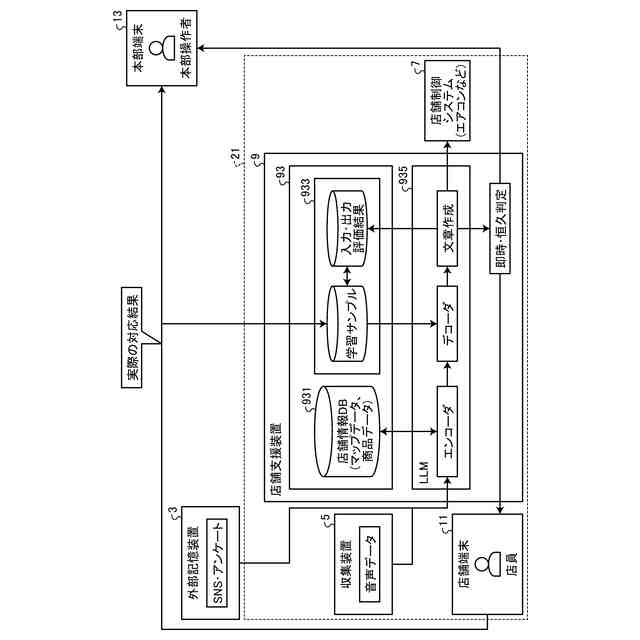
図1は、実施形態に係る店舗支援システムの概略構成を示す模式図である。
図2は、実施形態に係る店舗における複数のマイクの設置の一例を示す図である。
図3は、実施形態に係る店舗支援装置のハードウェア構成の一例を示す図である。
図4は、実施形態に係り、対応DBの一例を示す図である。
図5は、実施形態に係り、店舗支援装置におけるコントローラの機能構成の一例を示す図である。
図6は、実施形態に係る店舗端末の概略構成を示すブロック図である。
図7は、実施形態に係る改善案提案処理の概要の一例を示す図である。
図8は、実施形態に係り、改善案提案処理におけるLLMへの入出力の一例を示す図である。
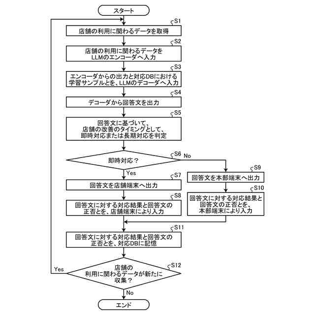
図9は、実施形態に係る改善案提案処理の手順の一例を示すフローチャートである。
図10は、実施形態に係る改善案提案処理におけるLLMへの入出力の一例を示す図である。
図11は、実施形態に係り、検知単語の主体が不明である場合の一例を示す図である。
図12は、実施形態に係り、訓練前の生成AIに対する学習過程の概要の一例を示す図である。
図13は、実施形態に係り、訓練前の生成AIに対する学習過程の概要の一例を示す図である。
【発明を実施するための形態】
【0008】
(実施形態)
以下、図面を参照して、店舗支援システム1の実施形態について説明する。また、以下の実施形態によって本発明が限定されるものではなく、以下の実施形態における構成要素には、当業者が容易に想到できるもの、実質的に同一のもの、及びいわゆる均等の範囲のものが含まれる。さらに、以下の実施形態の要旨を逸脱しない範囲で構成要素の種々の省略、置換、変更および組み合わせを行うことができる。
【0009】
図1は、実施形態に係る店舗支援システム1の概略構成を示す模式図である。図1に示すように、店舗支援システム1は、外部記憶装置3と、収集装置5と、店舗制御システム7と、店舗支援装置9と、店舗端末11と、本部端末13とを含む。
【0010】
外部記憶装置3は、例えば、インターネットにおける店舗の評価などのテキストデータ、店舗に関するアンケートなどのテキストデータ、ソーシャル・ネットワーキング・サービス(Social networking service:SNS)における店舗に関するテキストデータ、店舗に対するクレームの対応などの音声データなどを記憶する。外部記憶装置3は、ハードディスク装置(HDD:Hard Disk Drive)やSSD(Solid State Drive)装置、各種メモリなどで実現される。
(【0011】以降は省略されています)
この特許をJ-PlatPat(特許庁公式サイト)で参照する
関連特許
東芝テック株式会社
プリンタ装置
5日前
東芝テック株式会社
取引処理システム
5日前
東芝テック株式会社
情報処理装置及び方法
13日前
東芝テック株式会社
サーバ及び画像形成装置
今日
東芝テック株式会社
取引処理装置及びプログラム
5日前
東芝テック株式会社
情報処理装置及びプログラム
5日前
東芝テック株式会社
画像形成装置およびプログラム
5日前
東芝テック株式会社
会計装置及び情報処理プログラム
5日前
東芝テック株式会社
無線タグ通信装置、およびプログラム
5日前
東芝テック株式会社
商品販売データ処理装置及びプログラム
5日前
東芝テック株式会社
情報処理装置、案内システム及びプログラム
5日前
東芝テック株式会社
コンピュータビジョンを使用するセルフチェックアウトにおける顧客支援
今日
東芝テック株式会社
情報通信端末及び情報処理プログラム
13日前
個人
詐欺保険
1か月前
個人
縁伊達ポイン
1か月前
個人
職業自動販売機
19日前
個人
5掛けポイント
26日前
個人
RFタグシート
1か月前
個人
QRコードの彩色
1か月前
個人
地球保全システム
2か月前
個人
ペルソナ認証方式
1か月前
個人
情報処理装置
29日前
個人
自動調理装置
1か月前
個人
残土処理システム
1か月前
個人
表変換編集支援システム
2か月前
個人
農作物用途分配システム
1か月前
個人
タッチパネル操作指代替具
1か月前
個人
インターネットの利用構造
1か月前
個人
知的財産出願支援システム
1か月前
個人
サービス情報提供システム
21日前
個人
スケジュール調整プログラム
1か月前
個人
携帯端末障害問合せシステム
1か月前
個人
パスワード管理支援システム
2か月前
個人
学習用データ生成装置
今日
株式会社キーエンス
受発注システム
2か月前
株式会社キーエンス
受発注システム
2か月前
続きを見る
他の特許を見る