TOP
|
特許
|
意匠
|
商標
特許ウォッチ
Twitter
他の特許を見る
10個以上の画像は省略されています。
公開番号
2025165147
公報種別
公開特許公報(A)
公開日
2025-11-04
出願番号
2024069075
出願日
2024-04-22
発明の名称
光学素子及び表示装置
出願人
シャープディスプレイテクノロジー株式会社
代理人
弁理士法人WisePlus
主分類
G02B
5/30 20060101AFI20251027BHJP(光学)
要約
【課題】上下方位における斜め方向の光漏れを抑制しつつ、遮光領域を上下非対称にでき、更に斜め方向の色付きを抑制できる光学素子及び表示装置を提供する。
【解決手段】
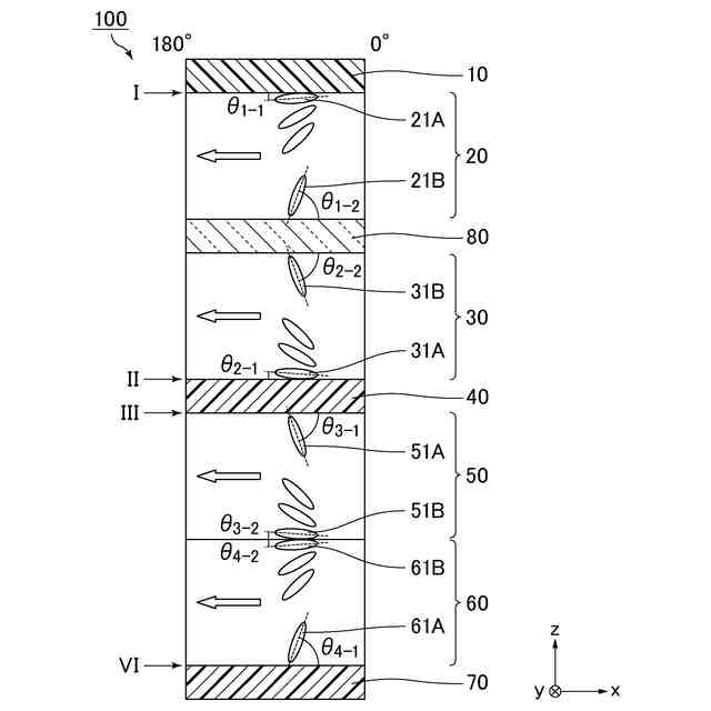
第一偏光子、第一位相差層、ネガティブCプレート、第二位相差層、第二偏光子、第三位相差層、第四位相差層、第三偏光子をこの順に有し、第一異方性分子は第一偏光子側から、第二異方性分子は第二偏光子側から、ネガティブCプレート側に向かってチルト角が大きくなり、第三異方性分子は第二偏光子側から第四位相差層側に、第四異方性分子は第三偏光子側から第三位相差層側に向かって、チルト角が小さくなり、第一、第二及び第三偏光子の吸収軸又は反射軸は平行であり、第一偏光子の吸収軸又は反射軸と第一位相差層の遅相軸とは直交し、第一及び第二位相差層の遅相軸は平行であり、第三及び第四位相差層の遅相軸が交差する角度は10°以上、20°以下である、光学素子。
【選択図】図2
特許請求の範囲
【請求項1】
第一偏光子、第一異方性分子を含む第一位相差層、ネガティブCプレート、第二異方性分子を含む第二位相差層、第二偏光子、第三異方性分子を含む第三位相差層、第四異方性分子を含む第四位相差層、第三偏光子をこの順に有し、
前記第一異方性分子は、前記第一位相差層の前記第一偏光子側から前記ネガティブCプレート側に向かってチルト角が大きくなるように変化し、
前記第二異方性分子は、前記第二位相差層の前記第二偏光子側から前記ネガティブCプレート側に向かってチルト角が大きくなるように変化し、
前記第三異方性分子は、前記第三位相差層の前記第二偏光子側から前記第四位相差層側に向かってチルト角が小さくなるように変化し、
前記第四異方性分子は、前記第四位相差層の前記第三偏光子側から前記第三位相差層側に向かってチルト角が小さくなるように変化し、
平面視において、前記第一偏光子の吸収軸又は反射軸と、前記第二偏光子の吸収軸又は反射軸と、前記第三偏光子の吸収軸又は反射軸とは、互いに平行であり、
平面視において、前記第一偏光子の吸収軸又は反射軸と、前記第一位相差層の遅相軸とは直交し、
平面視において、前記第一位相差層の遅相軸と前記第二位相差層の遅相軸とは、互いに平行であり、
平面視において、前記第三位相差層の遅相軸と前記第四位相差層の遅相軸とは、交差し、
前記第三位相差層の遅相軸と前記第四位相差層の遅相軸との成す角度は、10°以上、20°以下である、光学素子。
続きを表示(約 1,700 文字)
【請求項2】
前記第二位相差層の遅相軸と前記第三位相差層の遅相軸との成す角度は、5°以上、10°以下であり、
前記第一位相差層の遅相軸と前記第四位相差層の遅相軸との成す角度は、5°以上、10°以下である、請求項1に記載の光学素子。
【請求項3】
前記第一位相差層の前記第一偏光子側の面を第1面とし、前記第二位相差層の前記第二偏光子側の面を第2面とし、前記第三位相差層の前記第二偏光子側の面を第3面とし、前記第四位相差層の前記第三偏光子側の面を第4面とし、
前記第一位相差層の前記第2面により近い側から前記第1面により近い側へ向かう前記第一異方性分子の長軸に沿った方向を前記第1面に投影した方位を、前記第一異方性分子の配向方位とし、
前記第二位相差層の前記第2面により近い側から前記第1面により近い側へ向かう前記第二異方性分子の長軸に沿った方向を前記第2面に投影した方位を、前記第二異方性分子の配向方位とし、
前記第三位相差層の前記第4面により近い側から前記第3面により近い側へ向かう前記第三異方性分子の長軸に沿った方向を前記第3面に投影した方位を、前記第三異方性分子の配向方位とし、
前記第四位相差層の前記第4面により近い側から前記第3面により近い側へ向かう前記第四異方性分子の長軸に沿った方向を前記第4面に投影した方位を、前記第四異方性分子の配向方位としたとき、
平面視において、前記第一異方性分子の配向方位と前記第二異方性分子の配向方位とは、180°±3°異なる、請求項1に記載の光学素子。
【請求項4】
前記第一偏光子側からみた前記光学素子の水平右方向を方位角0°とし、前記方位角0°から反時計回りを正の角度、時計回りを負の角度とすると、
前記第一異方性分子の配向方位は0°±3°であり、かつ前記第二異方性分子の配向方位は180°±3°であるか、又は、
前記第一異方性分子の配向方位は180°±3°であり、かつ前記第二異方性分子の配向方位は0°±3°である、請求項3に記載の光学素子。
【請求項5】
平面視において、前記第三異方性分子の配向方位は、前記第二異方性分子の配向方位に対して、時計回り及び反時計回りのいずれか一方の方向に所定角度だけ回転した方位であり、
平面視において、前記第四異方性分子の配向方位は、前記第一異方性分子の配向方位に対して、前記時計回り及び前記反時計回りの他方の方向に前記所定角度だけ回転した方位である、請求項3に記載の光学素子。
【請求項6】
前記所定角度は、5°以上、10°以下である、請求項5に記載の光学素子。
【請求項7】
前記ネガティブCプレートの厚さ方向の位相差は、250nm以上、320nm以下である、請求項1に記載の光学素子。
【請求項8】
前記第一位相差層の厚さ方向に沿って前記第一偏光子側から前記ネガティブCプレート側に変化する前記第一異方性分子のチルト角の変化の割合と、前記第二位相差層の厚さ方向に沿って前記第二偏光子側から前記ネガティブCプレート側に変化する前記第二異方性分子のチルト角の変化の割合とは同じである、請求項1に記載の光学素子。
【請求項9】
前記第三位相差層の厚さ方向に沿って前記第四位相差層側から前記第二偏光子側に変化する前記第三異方性分子のチルト角の変化の割合と、前記第四位相差層の厚さ方向に沿って前記第三位相差層側から前記第三偏光子側に変化する前記第四異方性分子のチルト角の変化の割合とは同じである、請求項1に記載の光学素子。
【請求項10】
前記第一偏光子は、吸収型偏光子、反射型偏光子、又は、吸収型偏光子と反射型偏光子との積層体であり、
前記第二偏光子は、吸収型偏光子、又は、反射型偏光子であり、
前記第三偏光子は、吸収型偏光子、反射型偏光子、又は、吸収型偏光子と反射型偏光子との積層体である、請求項1に記載の光学素子。
(【請求項11】以降は省略されています)
発明の詳細な説明
【技術分野】
【0001】
以下の開示は、光学素子及び当該光学素子を備える表示装置に関する。
続きを表示(約 2,200 文字)
【背景技術】
【0002】
従来から、映像(動画像および静止画像)を表示する装置として、液晶表示装置や有機エレクトロルミネッセンス(EL:Electro-Luminescence)表示装置等の様々な表示装置が広く用いられている。このような表示装置の視認性を改善するために、光学素子が用いられることがある。
【0003】
例えば、特許文献1には、透過性の光学素子であって、視認側から偏光板、少なくとも一枚の傾斜配向位相差フィルムの順に備え、(i)上記偏光板の吸収軸と、上記傾斜配向位相差フィルムの遅相軸が+15度~+55度および-15度~-55度の範囲であり、かつ(ii)上記傾斜配向位相差フィルムが、面内位相差110nm~240nmを有するとともに、フィルム面内に対する平均チルト角γが22度~55度である、光学素子が開示されている。
【先行技術文献】
【特許文献】
【0004】
国際公開第2017/110216号
【発明の概要】
【発明が解決しようとする課題】
【0005】
液晶表示装置は、液晶層への光の透過方法により、反射型と透過型とに大別される。透過型の液晶表示装置は、光源を有するバックライトを備え、バックライトから出射された光が液晶層を透過することで表示を行う。上記バックライトには、光源からの光を正面に集光するために、光源の観察面側にプリズムシート(レンズシート)が設けられる場合がある。
【0006】
プリズムシートが設けられたバックライトでは、光源からプリズムシートに入射された光のうち、極角の大きな光成分がプリズムシートが有するプリズム(凹凸構造)によって散乱され、正面に集光されずに、更に大きな極角でプリズムシートから出射されることがある。このような、レンズシートで集光されずに大きな極角で漏れ出てくる光成分を「サイドローブ光」という。サイドローブ光は本来、画像表示に不要な光成分であり、液晶パネル内で迷光になりやすく、これが黒表示における斜め光(極角の大きな光)の光漏れとなり、斜め方向から見た場合のコントラストを低下させる一因となることがあった。
【0007】
本発明者らの検討によると、バックライトの構成によっては上下方位においてサイドローブ光が発生しやすいことから、上下方位における斜め方向の光漏れを抑制するために検討の余地があった。また、ユーザが光学素子を上方向又は下方向から観察する使用態様では、上方向から見た場合の視認性と下方向から見た場合の視認性を非対称とすることが望ましい場合があった。例えば、光学素子を車載用のディスプレイに重ねて用いる場合には、ユーザは上方向から光学素子を観察するため、上方向から見た視認性が下方向から見た視認性よりも高いことが望ましい。更に、本発明者らの検討によると、斜め方向から見た場合に、表示画像が意図しない色に色付くことがあり、更なる検討の余地があった。
【0008】
上記特許文献1では、特定の光学素子を表示装置の観察面側に配置し、外光反射による視認性の低下を抑制することが検討されているが、サイドローブ光によるコントラストの低下や、上下方位における視認性の非対称性、及び斜め方向の色付きについては検討されていない。
【0009】
本発明は、上記現状に鑑みてなされたものであり、上下方位における斜め方向の光漏れを抑制しつつ、遮光領域を上下非対称にでき、更に斜め方向の色付きを抑制できる光学素子、及び、当該光学素子を備える表示装置を提供することを目的とするものである。
【課題を解決するための手段】
【0010】
(1)本発明の一実施形態は、第一偏光子、第一異方性分子を含む第一位相差層、ネガティブCプレート、第二異方性分子を含む第二位相差層、第二偏光子、第三異方性分子を含む第三位相差層、第四異方性分子を含む第四位相差層、第三偏光子をこの順に有し、上記第一異方性分子は、上記第一位相差層の上記第一偏光子側から上記ネガティブCプレート側に向かってチルト角が大きくなるように変化し、上記第二異方性分子は、上記第二位相差層の上記第二偏光子側から上記ネガティブCプレート側に向かってチルト角が大きくなるように変化し、上記第三異方性分子は、上記第三位相差層の上記第二偏光子側から上記第四位相差層側に向かってチルト角が小さくなるように変化し、上記第四異方性分子は、上記第四位相差層の上記第三偏光子側から上記第三位相差層側に向かってチルト角が小さくなるように変化し、平面視において、上記第一偏光子の吸収軸又は反射軸と、上記第二偏光子の吸収軸又は反射軸と、上記第三偏光子の吸収軸又は反射軸とは、互いに平行であり、平面視において、上記第一偏光子の吸収軸又は反射軸と、上記第一位相差層の遅相軸とは直交し、平面視において、上記第一位相差層の遅相軸と上記第二位相差層の遅相軸とは、互いに平行であり、平面視において、上記第三位相差層の遅相軸と上記第四位相差層の遅相軸とは、交差し、上記第三位相差層の遅相軸と上記第四位相差層の遅相軸との成す角度は、10°以上、20°以下である、光学素子である。
(【0011】以降は省略されています)
この特許をJ-PlatPat(特許庁公式サイト)で参照する
関連特許
個人
立体像表示装置
1か月前
住友化学株式会社
偏光板
28日前
カンタツ株式会社
光学系
23日前
株式会社シグマ
結像光学系
7日前
株式会社シグマ
結像光学系
17日前
住友化学株式会社
垂直偏光板
28日前
東レ株式会社
貼合体の製造方法
1か月前
東レ株式会社
赤外線遮蔽構成体
1か月前
日本精機株式会社
ミラーユニット
16日前
古河電気工業株式会社
融着機
23日前
日本電気株式会社
光モジュール
17日前
株式会社コシナ
投射ズームレンズ
今日
日東電工株式会社
導光部材
7日前
個人
多方向視差効果のための微細穴加工
18日前
日本電気株式会社
光集積回路素子
1か月前
京セラ株式会社
光学系
15日前
三菱電機株式会社
レンズモジュール
28日前
日東電工株式会社
光学積層体
9日前
個人
眼鏡装着位置変更具および眼鏡
29日前
日本精機株式会社
ヘッドアップディスプレイ
7日前
住友化学株式会社
積層体
1か月前
AGC株式会社
インフィニティミラー
24日前
住友化学株式会社
偏光板
1か月前
日東電工株式会社
調光フィルム
1か月前
日本精機株式会社
ヘッドアップディスプレイ
10日前
住友化学株式会社
偏光板
1か月前
日本精機株式会社
ヘッドアップディスプレイ装置
7日前
日本精機株式会社
ヘッドアップディスプレイ装置
8日前
日本精機株式会社
ヘッドアップディスプレイ装置
1か月前
住友化学株式会社
偏光積層体
1か月前
マクセル株式会社
映像表示装置
今日
住友化学株式会社
光学積層体
1か月前
新光電気工業株式会社
光導波路部品
28日前
新光電気工業株式会社
光導波路部品
28日前
キヤノン株式会社
レンズ装置および撮像装置
1か月前
住友ベークライト株式会社
積層体の製造方法
1か月前
続きを見る
他の特許を見る